LEMON Manuals: Even more car manuals for everyone: 1960-2025
Home >> Lexus >> 2006 >> GS 430 >> Repair and Diagnosis >> Transmission >> Transfer Case >> Transfer >> Transfer Assembly >> Disassembly
April 5, 2026: LEMON Manuals is launched! Read the announcement.

Transfer Assembly: Disassembly

  1. REMOVE TRANSFER OIL PAN 
    1. Remove the 9 bolts.
      Fig 1: Locating Transfer Oil Pan Bolts
      G04028858Courtesy of © TOYOTA, LICENSE AGREEMENT TMS1002
    2. Insert the blade of SST between the transfer oil pan and transfer case. Cut through the sealer and remove the transfer oil pan.
      Fig 2: Identifying Transfer Oil Pan Using SST And Hammer
      G04028859Courtesy of © TOYOTA, LICENSE AGREEMENT TMS1002

      SST 09032-00100 

      NOTE: Do not damage the contact surface of the transfer oil pan.
    3. Remove the transfer oil cleaner magnet from the transfer oil pan.
      Fig 3: Identifying Transfer Oil Cleaner Magnet From Transfer Oil Pan
      G04028860Courtesy of © TOYOTA, LICENSE AGREEMENT TMS1002
      NOTE:
      • Clean the inside of the oil pan thoroughly, removing all metal shavings, sludge and any other foreign objects.
      • Remove any metal shavings from the magnet.
  2. REMOVE TRANSFER VALVE BODY ASSEMBLY 
    1. Remove the 4 bolts and the transfer valve body assembly.
    2. Disconnect the transfer wire connector from the transfer control solenoid.
      Fig 4: Locating Transfer Valve Body Assembly Bolts
      G04028861Courtesy of © TOYOTA, LICENSE AGREEMENT TMS1002
    3. Remove the bolt and the transfer wire.
      Fig 5: Locating Transfer Wire Identifying Bolt
      G04028862Courtesy of © TOYOTA, LICENSE AGREEMENT TMS1002
  3. REMOVE TRANSFER EXTENSION HOUSING DUST DEFLECTOR 
    1. Using SST, remove the transfer extension housing dust deflector.
      Fig 6: Identifying Transfer Extension Housing Dust Deflector Using SST
      G04028863Courtesy of © TOYOTA, LICENSE AGREEMENT TMS1002

      SST 09950-40011 (09951-04010, 09952-04010, 09953-04020, 09954-04010, 09955-04051, 09958-04011) 

      NOTE: Apply grease to the threads and tip of the SST center bolt before use.
  4. REMOVE TRANSFER CASE 
    1. Remove the 8 bolts and clamp.
      Fig 7: Locating Transfer Case Bolts And Clamp
      G04028864Courtesy of © TOYOTA, LICENSE AGREEMENT TMS1002
    2. Using a plastic hammer, tap the transfer case to remove it.
      Fig 8: Taping Transfer Case Using Plastic Hammer
      G04028865Courtesy of © TOYOTA, LICENSE AGREEMENT TMS1002
  5. REMOVE TRANSFER REAR OUTPUT SHAFT ASSEMBLY 
    1. Remove the transfer rear output shaft assembly.
      Fig 9: Locating Transfer Rear Output Shaft Assembly
      G04028866Courtesy of © TOYOTA, LICENSE AGREEMENT TMS1002
  6. REMOVE FLANGE YOKE 
    1. Using SST and a hammer, release the staked part of the nut.
      Fig 10: Releasing Flange Yoke Nut Using SST And Hammer
      G04028867Courtesy of © TOYOTA, LICENSE AGREEMENT TMS1002

      SST 09930-00010 

      NOTE:
      • Be sure to use the SST with the tapered surface facing the shaft.
      • Do not grind the tip of the SST with a grinder etc.
      • Completely loosen the staked part of the nut when removing it.
      • Do not damage the threads of the transfer drive sprocket.
    2. Using SST, hold the yoke.

      SST 09330-00021, 09213-54015 

    3. Using a deep socket wrench (30 mm), remove the nut.
    4. Remove the flange yoke.
      Fig 11: Identifying Flange Yoke
      G04028868Courtesy of © TOYOTA, LICENSE AGREEMENT TMS1002
  7. REMOVE TRANSFER CHAIN CASE REAR 
    1. Remove the 10 bolts.
      Fig 12: Locating Transfer Chain Case Rear Bolts
      G04028869Courtesy of © TOYOTA, LICENSE AGREEMENT TMS1002
    2. Tap the 3 protrusions of the transfer chain case gently with a brass bar and hammer to loosen, and remove it.
      Fig 13: Identifying 3 Protrusions Of Transfer Chain Case
      G04028870Courtesy of © TOYOTA, LICENSE AGREEMENT TMS1002
      NOTE: Do not damage the transfer chain case.
  8. REMOVE TRANSFER FRONT DRIVE CHAIN, TRANSFER DRIVE SPROCKET ASSEMBLY AND TRANSFER FRONT DRIVEN CLUTCH SLEEVE ASSEMBLY 
    Fig 14: Identifying Transfer Front Drive Chain
    G04028871Courtesy of © TOYOTA, LICENSE AGREEMENT TMS1002
    1. Remove the transfer front drive chain, transfer drive sprocket and transfer front driven clutch sleeve.
    2. Remove the transfer front drive chain from the transfer drive sprocket and transfer front driven clutch sleeve.
  9. REMOVE TRANSFER CHAIN CASE FRONT 
    1. Remove the 6 bolts and transfer chain case front.

      HINT:

      Fig 15: Locating Transfer Chain Case Front Bolts
      G04028872Courtesy of © TOYOTA, LICENSE AGREEMENT TMS1002

      If necessary, tap the transfer chain case front with a plastic hammer to loosen and remove it.

  10. REMOVE TRANSFER CASE REAR OIL SEAL 
    1. Using a screwdriver with its tip taped, pry out the oil seal from the transfer case.
      Fig 16: Prying Out Oil Seal From Transfer Case Using Screwdriver
      G04028873Courtesy of © TOYOTA, LICENSE AGREEMENT TMS1002
    2. Remove the bolt and clamp.
      Fig 17: Locating Bolt And Clamp
      G04028874Courtesy of © TOYOTA, LICENSE AGREEMENT TMS1002
  11. REMOVE TRANSFER CASE BEARING 
    1. Using SST, remove the transfer case bearing from the transfer case.

      SST 09308-00010 

      Fig 18: Identifying Transfer Case Bearing From Transfer Case Using SST
      G04028875Courtesy of © TOYOTA, LICENSE AGREEMENT TMS1002
  12. REMOVE TRANSFER BAFFLE VALVE SUBASSEMBLY 
    1. Remove the bolt and transfer baffle valve from the transfer chain case rear.
      Fig 19: Locating Bolt And Transfer Baffle Valve
      G04028876Courtesy of © TOYOTA, LICENSE AGREEMENT TMS1002
  13. REMOVE TRANSFER CHAIN CASE GOVERNOR APPLY GASKET 
    1. Remove the screw, O-ring, and 2 gaskets from the transfer chain case front.
      Fig 20: Identifying Screw, O-Ring And 2 Gaskets
      G04028877Courtesy of © TOYOTA, LICENSE AGREEMENT TMS1002
    2. Remove the 2 gaskets from the transfer chain case rear.
      Fig 21: Identifying Gaskets From Transfer Chain Case Rear
      G04028878Courtesy of © TOYOTA, LICENSE AGREEMENT TMS1002
  14. REMOVE TRANSFER CASE FRONT OIL SEAL 
    1. Using a screwdriver with its tip taped, pry out the oil seal from the transfer chain case front.
      Fig 22: Identifying Transfer Case Front Oil Seal Using Screwdriver
      G04028879Courtesy of © TOYOTA, LICENSE AGREEMENT TMS1002
  15. REMOVE TRANSFER REAR OUTPUT SHAFT AND CENTER DIFFERENTIAL CARRIER 
    1. Remove the transfer rear output shaft and center differential carrier from the transfer direct clutch drum.
      Fig 23: Identifying Transfer Rear Output Shaft And Center Differential Carrier From Transfer Direct Clutch Drum
      G04028880Courtesy of © TOYOTA, LICENSE AGREEMENT TMS1002
  16. REMOVE TRANSFER REAR OUTPUT SHAFT BEARING 
    1. Remove the transfer rear output shaft bearing from the transfer direct clutch drum.
      Fig 24: Identifying Transfer Rear Output Shaft Bearing
      G04028881Courtesy of © TOYOTA, LICENSE AGREEMENT TMS1002
  17. INSPECT CENTER DIFFERENTIAL CARRIER ASSEMBLY 
    1. Using a feeler gauge, measure the center differential carrier pinion gear thrust clearance.
      Fig 25: Measuring Center Differential Carrier Pinion Gear Thrust Clearance
      G04028882Courtesy of © TOYOTA, LICENSE AGREEMENT TMS1002

      Standard clearance: 0.2 to 0.5 mm (0.008 to 0.020 in.) 

      If the clearance is greater than the standard clearance, replace the center differential carrier.

  18. REMOVE CENTER DIFFERENTIAL CLUTCH DISC SET 
    1. Using a screwdriver with its tip taped, remove the snap ring from the transfer direct clutch drum.
      Fig 26: Identifying Snap Ring From Transfer Direct Clutch Drum
      G04028883Courtesy of © TOYOTA, LICENSE AGREEMENT TMS1002
    2. Remove the 2 center differential clutch disc flanges and center differential clutch disc set from the transfer direct clutch drum.

      HINT:

      Fig 27: Identifying Center Differential Clutch Disc Flanges And Center Differential Clutch Disc Set
      G04028884Courtesy of © TOYOTA, LICENSE AGREEMENT TMS1002
      • A: Center differential clutch disc flange (No.1)
      • B: Center differential clutch disc set (Discs)
      • C: Center differential clutch disc set (Plates)
      • D: Center differential clutch disc flange (No.2)
  19. INSPECT CENTER DIFFERENTIAL CLUTCH DISC SET 
    1. Check whether the sliding surfaces of the disc and flange are worn or burnt.
      Fig 28: Inspecting Disc
      G04019470Courtesy of © TOYOTA, LICENSE AGREEMENT TMS1002

      If necessary, replace them.

      NOTE:
      • If the lining of the disc is peeled off or discolored, or if any part of the printed numbers is damaged, replace all discs.
      • Before assembling new discs, soak them in ATF for at least 15 minutes.
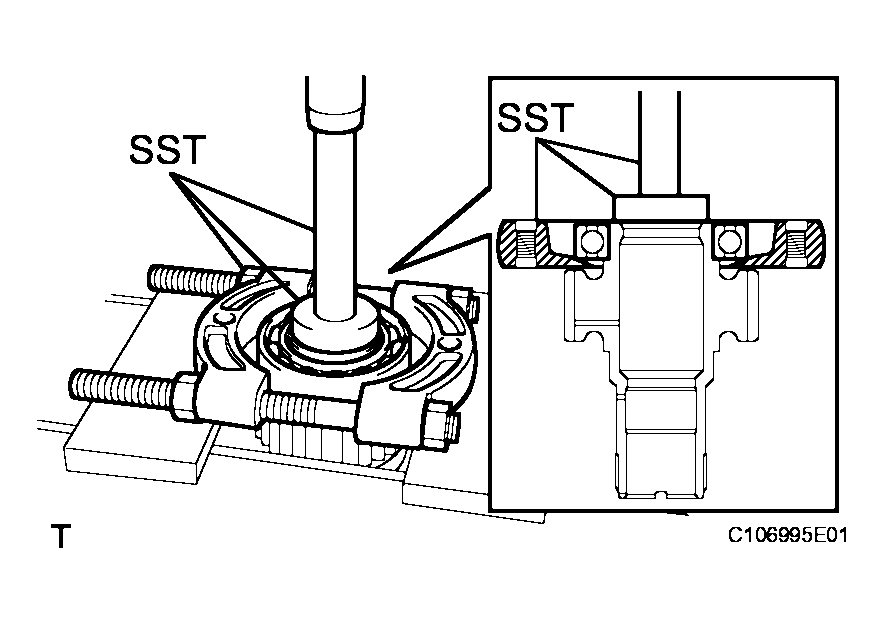
  20. REMOVE CENTER DIFFERENTIAL CLUTCH PRESSURE BALANCER 
    1. Place SST on the center differential clutch pressure balancer, and compress the return spring with a press.
      Fig 29: Identifying Snap Ring Using SST
      G04028886Courtesy of © TOYOTA, LICENSE AGREEMENT TMS1002

      SST 09350-30020 (09350-07040) 

    2. Using SST, remove the snap ring.

      SST 09350-30020 (09350-07040, 09350-07070) 

    3. Remove the center differential clutch pressure balancer from the transfer direct clutch drum.
      Fig 30: Locating Center Differential Clutch Pressure Balancer On Transfer Direct Clutch Drum
      G04028887Courtesy of © TOYOTA, LICENSE AGREEMENT TMS1002
  21. REMOVE TRANSFER DIRECT CLUTCH RETURN SPRING ASSEMBLY 
    1. Remove the transfer direct clutch return spring from the transfer direct clutch drum.
      Fig 31: Identifying Transfer Direct Clutch Return Spring On Transfer Direct Clutch Drum
      G04028888Courtesy of © TOYOTA, LICENSE AGREEMENT TMS1002
  22. INSPECT TRANSFER DIRECT CLUTCH RETURN SPRING ASSEMBLY 
    1. Using vernier calipers, measure the free length of the spring together with the spring seat.

      Standard free length: 15.2 to 15.8 mm (0.5984 to 0.6220 in.) 

      Fig 32: Measuring Free Length Of Spring Using Vernier Calipers
      G04028889Courtesy of © TOYOTA, LICENSE AGREEMENT TMS1002

      If the free length is shorter than the standard free length, replace the transfer direct clutch return spring.

  23. REMOVE CENTER DIFFERENTIAL CLUTCH PISTON 
    1. Install the transfer direct clutch drum to the transfer center support.
      Fig 33: Identifying Transfer Direct Clutch Drum To Transfer Center Support
      G04028890Courtesy of © TOYOTA, LICENSE AGREEMENT TMS1002
    2. While pushing down evenly on the center differential clutch piston, apply air (200 kpa, 2.0 kgf*cm2 , 19 psi), at the oil hole on the transfer chain case rear as shown in the illustration, to remove the center differential clutch piston from the transfer direct clutch drum.
      Fig 34: Applying Air At Oil Hole On Transfer Chain Case Rear
      G04028891Courtesy of © TOYOTA, LICENSE AGREEMENT TMS1002
    3. Remove the direct clutch drum from the transfer center support.
  24. REMOVE TRANSFER DIRECT CLUTCH PISTON O-RING 
    1. Remove the 2 O-rings from the center differential clutch piston.
      Fig 35: Locating O-Rings On Center Differential Clutch Piston
      G04028892Courtesy of © TOYOTA, LICENSE AGREEMENT TMS1002
  25. INSPECT TRANSFER DIRECT CLUTCH DRUM 
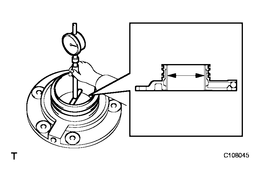
    1. Using a cylinder gauge, measure the inside diameter of the transfer direct clutch drum.

      Standard inside diameter: 65.00 to 65.06 mm (2.559 to 2.564 in.) 

      Fig 36: Measuring Inside Diameter Of Transfer Direct Clutch Drum Using Cylinder Gauge
      G04028893Courtesy of © TOYOTA, LICENSE AGREEMENT TMS1002

      If the inside diameter is greater than the standard inside diameter, replace the transfer direct clutch drum.

  26. REMOVE TRANSFER CENTER SUPPORT 
    1. Remove the 5 bolts and transfer center support.
    2. Remove the 2 screws and 2 O-rings from the transfer chain case rear.
      Fig 37: Identifying Transfer Center Support
      G04028894Courtesy of © TOYOTA, LICENSE AGREEMENT TMS1002
  27. REMOVE TRANSFER CENTER SUPPORT SEAL RING 
    1. Remove the 2 transfer center support seal rings from the transfer center support.
      Fig 38: Locating Transfer Center Support Seal Rings
      G04028895Courtesy of © TOYOTA, LICENSE AGREEMENT TMS1002
  28. INSPECT TRANSFER CENTER SUPPORT 
    1. Using a cylinder gauge, measure the inside diameter of the transfer center support.
      Fig 39: Measuring Inside Diameter Of Transfer Center Support Using Cylinder Gauge
      G04028896Courtesy of © TOYOTA, LICENSE AGREEMENT TMS1002

      Standard inside diameter: 49.9 to 50.1 mm (1.965 to 1.972 in.) 

      If the inside diameter is greater than the standard inside diameter, replace the transfer center support.

  29. REMOVE TRANSFER DRIVEN SPROCKET BEARING 
    1. Using SST and a press, remove the transfer driven sprocket bearing from the transfer front driven clutch sleeve.
      Fig 40: Identifying Transfer Driven Sprocket Bearing Using SST And Press (1 Of 2)
      G04028897Courtesy of © TOYOTA, LICENSE AGREEMENT TMS1002

      SST 09950-00020 

    2. Using SST and a press, remove the transfer driven sprocket bearing from the transfer front driven clutch sleeve.
      Fig 41: Identifying Transfer Driven Sprocket Bearing Using SST And Press (2 Of 2)
      G04028898Courtesy of © TOYOTA, LICENSE AGREEMENT TMS1002

      SST 09950-60010 (09951-00530), 09950-70010 (09951-07100) 

  30. REMOVE TRANSFER DRIVE SPROCKET BEARING 
    1. Using SST and a press, remove the transfer drive sprocket bearing from the transfer drive sprocket.
      Fig 42: Identifying Transfer Drive Sprocket Bearing From Transfer Drive Sprocket Using SST And Press (1 Of 2)
      G04028899Courtesy of © TOYOTA, LICENSE AGREEMENT TMS1002

      SST 09950-00020, 09950-70010 (09951-07100), 09950-60010 (09951-00480) 

    2. Using SST and a press, remove the transfer drive sprocket bearing from the transfer drive sprocket.
      Fig 43: Identifying Transfer Drive Sprocket Bearing From Transfer Drive Sprocket Using SST And Press (2 Of 2)
      G04028900Courtesy of © TOYOTA, LICENSE AGREEMENT TMS1002

      SST 09950-00020, 09950-70010 (09951-07100), 09950-60010 (09951-00550) 

  31. REMOVE TRANSFER CONTROL SOLENOID 
    1. Remove the bolt, solenoid lock plate and transfer control solenoid.
      Fig 44: Locating Bolt, Solenoid Lock Plate And Transfer Control Solenoid
      G04028901Courtesy of © TOYOTA, LICENSE AGREEMENT TMS1002
  32. REMOVE TRANSFER VALVE BODY COVER 
    1. Remove the 6 bolts.
      Fig 45: Identifying Transfer Valve Body Cover Bolts
      G04028902Courtesy of © TOYOTA, LICENSE AGREEMENT TMS1002
    2. Remove the transfer valve body cover and transfer valve body plate upper from the transfer upper valve body.
    3. Remove the solenoid oil strainer from the transfer valve body cover.
      Fig 46: Identifying Transfer Valve Body Cover And Transfer Valve Body Plate Upper From Transfer Upper Valve Body
      G04028903Courtesy of © TOYOTA, LICENSE AGREEMENT TMS1002
  33. REMOVE TRANSFER SOLENOID MODULATOR VALVE 
    1. While pushing on the transfer modulator valve plug, remove the transfer solenoid modulator valve plug seat from the transfer upper valve body.
      Fig 47: Identifying Transfer Solenoid Modulator Valve
      G04028904Courtesy of © TOYOTA, LICENSE AGREEMENT TMS1002
    2. Remove the transfer solenoid modulator valve plug, transfer solenoid modulator valve and low-high shift valve compression spring from the transfer upper valve body.
      Fig 48: Identifying Transfer Solenoid Modulator Valve Plug, Valve And Low-High Shift Valve Compression Spring
      G04028905Courtesy of © TOYOTA, LICENSE AGREEMENT TMS1002
  34. REMOVE CENTER DIFFERENTIAL CLUTCH CONTROL VALVE 
    1. While pushing on the center differential clutch control valve plug, remove the center differential clutch control valve plug seat from the transfer upper valve body.
      Fig 49: Identifying Center Differential Clutch Control Valve
      G04028906Courtesy of © TOYOTA, LICENSE AGREEMENT TMS1002
    2. Remove the center differential clutch control valve plug, center differential clutch control valve, transfer direct clutch modulator valve spring and center differential clutch control valve sleeve from the transfer upper valve body.
      Fig 50: Identifying Center Differential Clutch Control Valve Plug, Valve, Transfer Direct Clutch Modulator Valve Spring And Center Differential Clutch Control Valve Sleeve
      G04028907Courtesy of © TOYOTA, LICENSE AGREEMENT TMS1002