LEMON Manuals: Even more car manuals for everyone: 1960-2025
Home >> Lexus >> 2006 >> GX 470 >> Repair and Diagnosis >> External Pages >> Different car >> Section 116 (Cellular Communication) >> LEXUS Link System >> ECU Power Source Circuit >> Inspection Procedure
April 5, 2026: LEMON Manuals is launched! Read the announcement.

Inspection Procedure

WARNING: This page is about a different car, the 2007 Lexus GX 470. However, it is still accessible from the selected car via links, so may be relevant.
  1. INSPECT FUSE (MAYDAY, GAUGE, AM2, ACC) 
    1. Remove the MAYDAY and AM2 fuses from the engine room junction block.
    2. Remove the ACC and GAUGE fuses from the driver side junction block.
    3. Measure the resistance of the fuses.

      Standard resistance: 

    Below 1 Ω 

    NG: REPLACE FUSE 

    OK: Go to next step 

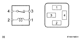
  2. INSPECT RELAY (ACC CUT RELAY) 
    Fig 1: Identifying ACC CUT Relay Connector Terminals
    G05266664Courtesy of © TOYOTA, LICENSE AGREEMENT TMS1002
    1. Remove the ACC CUT relay from the engine room relay block.
    2. Measure the resistance of the relay.

      Standard resistance 

    RESISTANCE SPECIFICATION

    Tester connection Specified Condition
    3 - 4 Below 1 Ω
    3 - 4 10 kΩ or higher (when battery voltage is applied to terminals 1 and 2)

    NG: REPLACE RELAY 

    OK: Go to next step 

  3. CHECK WIRE HARNESS (ECU - BATTERY AND BODY GROUND) 
    Fig 2: Identifying Mayday ECU Connector Terminals
    G05266665Courtesy of © TOYOTA, LICENSE AGREEMENT TMS1002
    1. Disconnect the M15 ECU connector.
    2. Measure the voltage and resistance of the wire harness side connector.

      Standard voltage 

    VOLTAGE SPECIFICATION

    Tester Connection Condition Specified Condition
    M15-1 (+B) - Body ground Always 10 to 14 V
    M15-13 (IG) - Body ground Ignition switch ON 10 to 14 V
    M15-14 (ACC)-Body ground Ignition switch ACC 10 to 14 V

    Standard resistance 

    RESISTANCE SPECIFICATION

    Tester Connection Specified Condition
    M15-12 (E) - Body ground Below 1 Ω
    NOTE: If replacement of the ECU is necessary, replace the mayday battery (backup battery) together with the ECU. After the replacement, register the ECU (See REGISTRATION  ).

    NG: REPAIR OR REPLACE HARNESS OR CONNECTOR 

    OK: REPLACE MAYDAY ECU ASSEMBLY (See  REMOVAL   )