LEMON Manuals: Even more car manuals for everyone: 1960-2025
Home >> Lexus >> 2006 >> GX 470 >> Repair and Diagnosis >> External Pages >> Different car >> Section 36 (Lighting) >> Height Control Sensor >> Inspection
April 5, 2026: LEMON Manuals is launched! Read the announcement.

Height Control Sensor: Inspection

WARNING: This page is about a different car, the 2006 Lexus GS 430 and 2006 Lexus GS 300. However, it is still accessible from the selected car via links, so may be relevant.
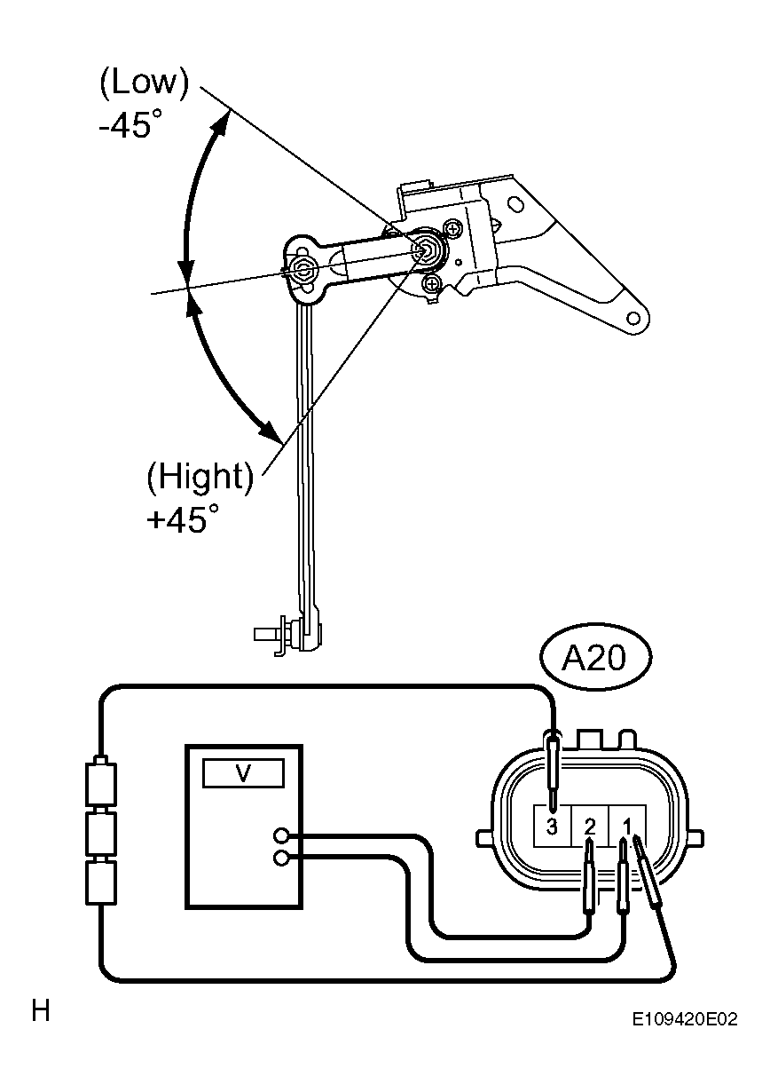
  1. REMOVE HEIGHT CONTROL SENSOR SUBASSEMBLY FRONT 
    1. Connect the 3 dry cell batteries (1.5 V) in series.
    2. Remove the height control sensor.
    3. Connect the positive (+) lead from the battery to terminal 1 and the negative (-) lead from the battery to terminal 3.
    4. Measure the voltage between terminals 2 and 1 while slowly moving the link up and down.

      Standard voltage 

      STANDARD VOLTAGE SPECIFICATION

      Tester Connection Condition Specified Condition
      A20-2 (SHFL) - A20-1 (SHG)  +45°  Approx. 4.5 V 
      A20-2 (SHFL) - A20-1 (SHG)  0°(normal)  Approx 2.5 V 
      A20-2 (SHFL) - A20-1 (SHG)  -45°  Approx 0.5 V 

      If the result is not as specified, replace the sensor.

      Fig 1: Identifying (+) Lead From Battery To Terminal 1 And (-) Lead From Battery To Terminal 3
      G04021730Courtesy of © TOYOTA, LICENSE AGREEMENT TMS1002
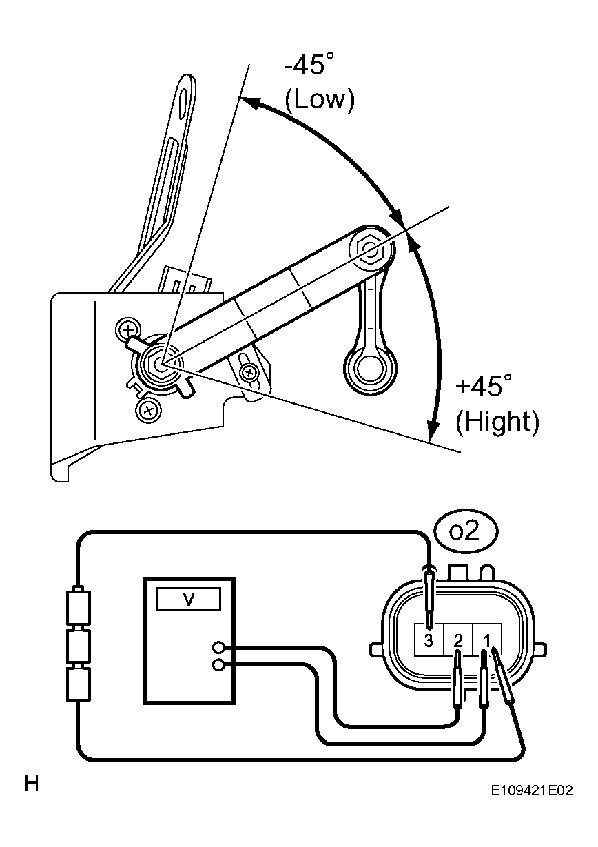
  2. REMOVE HEIGHT CONTROL SENSOR SUBASSEMBLY REAR 
    1. Connect the 3 dry cell batteries (1.5 V) in series.
    2. Remove the height control sensor.
    3. Connect the positive (+) lead from the battery to terminal 1 and the negative (-) lead from the battery to terminal 3.
    4. Measure the voltage between terminals 2 and 1 while slowly moving the link up and down.

      Standard voltage 

      STANDARD VOLTAGE SPECIFICATION

      Tester Connection Condition Specified Condition
      o20-2 (SHRL) - o20-1 (SHG)  +45°  Approx. 4.5 V 
      o20-2 (SHRL) - o20-1 (SHG)  0°(normal)  Approx 2.5 V 
      o2-2 (SHRL) - o2-1 (SHG)  -45°  Approx 0.5 V 

      If the result is not as specified, replace the sensor.

      Fig 2: Identifying (+) Lead From Battery To Terminal 1 And (-) Lead From Battery To Terminal 3
      G04021731Courtesy of © TOYOTA, LICENSE AGREEMENT TMS1002