LEMON Manuals: Even more car manuals for everyone: 1960-2025
Home >> Lexus >> 2006 >> IS 250 AWD >> Repair and Diagnosis >> Engine Performance >> System >> Engine Control System (4GR-FSE) - System And Circuit Testing, On-Vehicle Inspection, Removal, Inspection And Installation >> Knock Sensor >> Installation
April 5, 2026: LEMON Manuals is launched! Read the announcement.

Knock Sensor: Installation

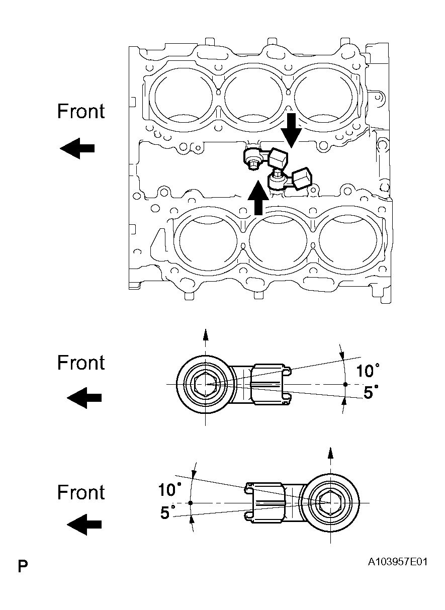
  1. INSTALL KNOCK SENSOR 
    1. Install the 2 knock sensors so that they are horizontal as shown in the illustration. Then install the 2 bolts.

      Torque: 20 N*m (204 kgf*cm, 15 ft.*lbf) 

      HINT:

      It is acceptable for the knock sensor to be tilted +10° to -5°.

    2. Connect the 2 knock sensor connectors.
    Fig 1: Identifying Knock Sensors
    G04043949Courtesy of © TOYOTA, LICENSE AGREEMENT TMS1002
  2. INSTALL FUEL INJECTOR SEAL (See  INSTALLATION  ) 
  3. INSTALL INJECTOR (See  INSTALLATION  ) 
  4. INSTALL NO. 2 FUEL DELIVERY PIPE (See  INSTALLATION  ) 
  5. INSTALL NO. 1 FUEL DELIVERY PIPE (See  INSTALLATION  ) 
  6. INSTALL NO. 3 FUEL PIPE (See  INSTALLATION  ) 
  7. CONNECT NO. 2 FUEL PIPE (See  INSTALLATION  ) 
  8. INSTALL FUEL PUMP ASSEMBLY (See  INSTALLATION  ) 
  9. INSTALL NO. 2 FUEL PIPE (See  INSTALLATION  ) 
  10. INSTALL NO. 1 FUEL PIPE (See  INSTALLATION  ) 
  11. INSTALL FUEL PRESSURE REGULATOR ASSEMBLY (See  INSTALLATION  ) 
  12. INSTALL INTAKE MANIFOLD (See  INSTALLATION  ) 
  13. INSTALL INTAKE AIR SURGE TANK (See  INSTALLATION  ) 
  14. INSTALL AIR CLEANER CAP WITH AIR CLEANER HOSE (See  INSTALLATION   )) 
  15. CONNECT NO. 2 VENTILATION HOSE (See  INSTALLATION   ) 
  16. ADD ENGINE COOLANT (See  ON-VEHICLE INSPECTION  ) 
  17. CHECK FOR ENGINE COOLANT LEAKAGE (See  ON-VEHICLE INSPECTION  ) 
  18. CHECK FOR FUEL LEAKAGE (See  ON-VEHICLE INSPECTION  ) 
  19. INSTALL COWL TOP VENTILATOR LOUVER SUBASSEMBLY (See  INSTALLATION  ) 
  20. INSTALL WINDSHIELD WIPER ARM AND BLADE ASSEMBLY LH (See  INSTALLATION  ) 
  21. INSTALL WINDSHIELD WIPER ARM AND BLADE ASSEMBLY RH (See  INSTALLATION  ) 
  22. INSTALL FRONT WIPER ARM HEAD CAP (See  INSTALLATION  ) 
  23. INSTALL ROOF DRIP SIDE FINISH MOULDING RH 
  24. INSTALL ROOF DRIP SIDE FINISH MOULDING LH 
  25. INSTALL FRONT FENDER PROTECTOR UPPER RH (See  INSTALLATION  ) 
  26. INSTALL FRONT FENDER PROTECTOR UPPER LH (See  INSTALLATION  ) 
  27. INSTALL V-BANK COVER SUB-ASSEMBLY (See  INSTALLATION  ) 
  28. INSTALL ENGINE ROOM SIDE COVER LH (See  INSTALLATION  ) 
  29. INSTALL ENGINE ROOM SIDE COVER RH (See  INSTALLATION  ) 
  30. INSTALL COOL AIR INTAKE DUCT SEAL (See  INSTALLATION  ) 
  31. CHECK FUNCTION THROTTLE BODY (See  ON-VEHICLE INSPECTION   )