LEMON Manuals: Even more car manuals for everyone: 1960-2025
Home >> Lexus >> 2006 >> IS 250 AWD >> Repair and Diagnosis >> Transmission >> Transfer Case >> Transfer >> Transfer Assembly >> Inspection
April 5, 2026: LEMON Manuals is launched! Read the announcement.

Transfer Assembly: Inspection

  1. INSPECT CENTER DIFFERENTIAL CARRIER ASSEMBLY 
    1. Using a feeler gauge, measure the center differential carrier pinion gear thrust clearance.

    Standard clearance: 

    0.2 to 0.5 mm (0.008 to 0.020 in.) 

    If the clearance is greater than the standard clearance, replace the center differential carrier.

    Fig 1: Measuring Center Differential Carrier Pinion Gear Thrust Clearance
    G04046794Courtesy of © TOYOTA, LICENSE AGREEMENT TMS1002
  2. INSPECT CENTER DIFFERENTIAL CLUTCH DISC SET 
    1. Check whether the sliding surfaces of the disc and flange are worn or burnt.

    If necessary, replace them.

    NOTE:
    • If the lining of the disc is peeled off or discolored, or if any part of the printed numbers is damaged, replace all discs.
      Fig 2: Inspecting Disc
      G04019470Courtesy of © TOYOTA, LICENSE AGREEMENT TMS1002
    • Before assembling new discs, soak them in ATF for at least 15 minutes.
  3. INSPECT TRANSFER DIRECT CLUTCH RETURN SPRING ASSEMBLY 
    1. Using vernier calipers, measure the free length of the spring together with the spring seat.

    Standard free length: 

    15.2 to 15.8 mm (0.5984 to 0.6220 in.) 

    Fig 3: Measuring Free Length Of Spring
    G04046796Courtesy of © TOYOTA, LICENSE AGREEMENT TMS1002

    If the free length is shorter than the standard free length, replace the transfer direct clutch return spring.

  4. INSPECT TRANSFER DIRECT CLUTCH DRUM 
    1. Using a cylinder gauge, measure the inside diameter of the transfer direct clutch drum.

    Standard inside diameter: 

    65.00 to 65.06 mm (2.559 to 2.564 in.) 

    If the inside diameter is greater than the standard inside diameter, replace the transfer direct clutch drum.

    Fig 4: Measuring Inside Diameter Of Transfer Direct Clutch Drum
    G04046797Courtesy of © TOYOTA, LICENSE AGREEMENT TMS1002
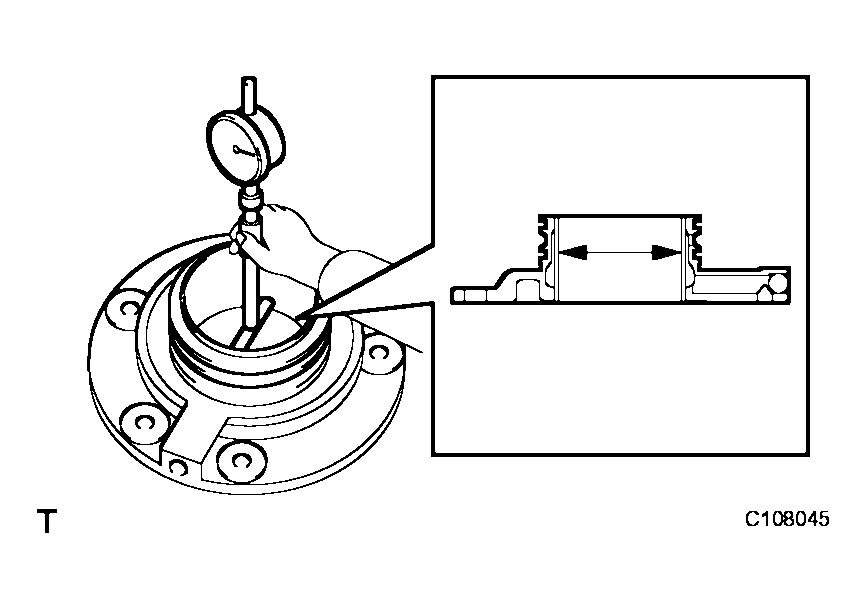
  5. INSPECT TRANSFER CENTER SUPPORT 
  1. Using a cylinder gauge, measure the inside diameter of the transfer center support.

Standard inside diameter: 

49.9 to 50.1 mm (1.965 to 1.972 in.) 

Fig 5: Measuring Inside Diameter Of Transfer Center Support
G04046798Courtesy of © TOYOTA, LICENSE AGREEMENT TMS1002

If the inside diameter is greater than the standard inside diameter, replace the transfer center support.