LEMON Manuals: Even more car manuals for everyone: 1960-2025
Home >> Lexus >> 2006 >> IS 350 >> Repair and Diagnosis >> Engine Performance >> Engine Control System (2GR-FSE) >> Fuel Pump Relay >> On-Vehicle Inspection
April 5, 2026: LEMON Manuals is launched! Read the announcement.

On-Vehicle Inspection

  1. INSPECT FUEL PUMP RELAY (Marking: F/PMP) 
    1. Remove the No. 2 relay block cover.
    2. Remove the fuel pump from the engine room No. 2 junction block.
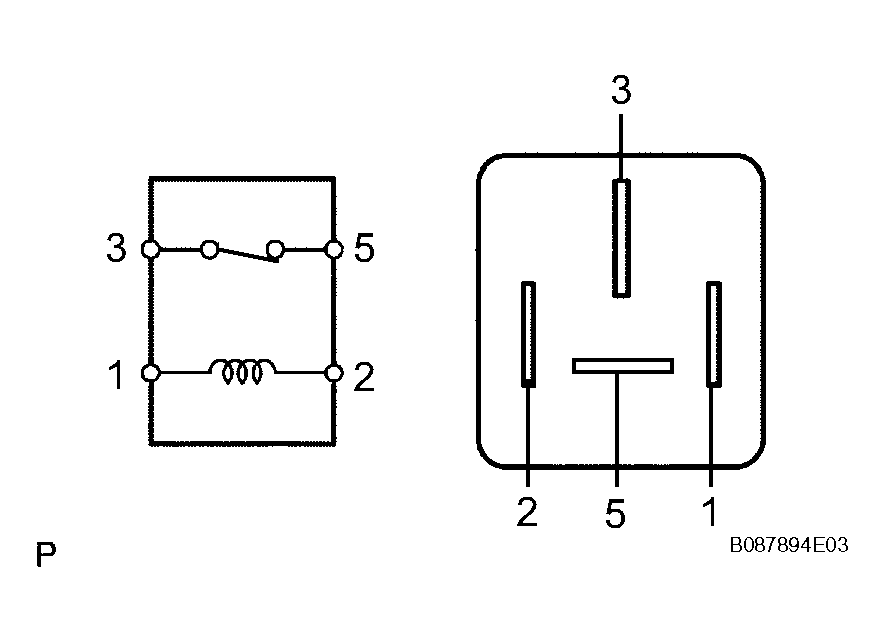
    3. Measure the fuel pump relay resistance.

      Standard resistance 

      RESISTANCE SPECIFICATION

      Tester Condition Specified Condition
      1 - 2 63 to 91 Ω
      3 - 5 Below 1 Ω
      3 - 5 10 kΩ or higher (when battery voltage is applied to terminals 1 and 2)
      Fig 1: Measuring Fuel Pump Relay Resistance
      G04054986Courtesy of © TOYOTA, LICENSE AGREEMENT TMS1002
    4. Reinstall the fuel pump relay to the engine room No. 2 relay block.
    5. Reinstall the No. 2 junction block cover.