LEMON Manuals: Even more car manuals for everyone: 1960-2025
Home >> Lexus >> 2006 >> IS 350 >> Repair and Diagnosis >> Transmission >> Automatic Trans >> Automatic Transmission >> Valve Body Assembly >> Installation
April 5, 2026: LEMON Manuals is launched! Read the announcement.

Valve Body Assembly: Installation

  1. INSTALL TRANSMISSION VALVE BODY ASSEMBLY 
    1. Install the check ball body and spring.
      NOTE: Do not drop the check ball body and spring.
      Fig 1: Identifying Check Ball Body And Spring
      G04053048Courtesy of © TOYOTA, LICENSE AGREEMENT TMS1002
    2. Check the accumulator pistons, check ball body and spring as shown in the illustration.
      Fig 2: Checking Accumulator Pistons
      G04053049Courtesy of © TOYOTA, LICENSE AGREEMENT TMS1002
    3. Align the groove of the manual valve with the pin of the lever.
      Fig 3: Aligning Groove Of Manual Valve With Pin Of Lever
      G04053050Courtesy of © TOYOTA, LICENSE AGREEMENT TMS1002
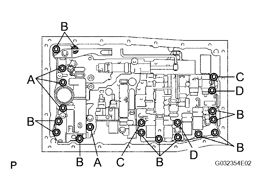
    4. Install the 20 bolts.

      Torque: 11 N*m (110 kgf*cm, 8 ft.*lbf) 

      Bolt length: 

      • Bolt A: 36 mm (1.42 in.) 
      • Bolt B: 25 mm (0.98 in.) 
        Fig 4: Identifying Bolts
        G04053051Courtesy of © TOYOTA, LICENSE AGREEMENT TMS1002
      • Bolt C: 45 mm (1.77 in.) 
      • Bolt D: 50 mm (1.97 in.) 
  2. CONNECT TRANSMISSION WIRE (See  INSTALLATION   ) 
  3. INSTALL VALVE BODY OIL STRAINER ASSEMBLY (See  INSTALLATION   ) 
  4. INSTALL AUTOMATIC TRANSMISSION OIL PAN SUB-ASSEMBLY (See  INSTALLATION   ) 
  5. ADD AUTOMATIC TRANSMISSION FLUID 

    (See ADJUSTMENT  )

  6. RESET MEMORY 

    (See HYDRAULIC TEST  )