LEMON Manuals: Even more car manuals for everyone: 1960-2025
Home >> Lexus >> 2006 >> LS 430 >> Repair and Diagnosis >> Body & Frame >> Seats >> Climate Control Seat System - Diagnostics >> Climate Control System Does Not Operate On Passenger Side >> Inspection Procedure
April 5, 2026: LEMON Manuals is launched! Read the announcement.

Inspection Procedure

  1. INSPECT FUSE (P S/HTR) 
    1. Remove the P S/HTR fuse from the driver side J/B.
    2. Measure the resistance of the relay.

    Standard: Below 1 Ω 

    NG: REPLACE FUSE 

    OK: Go to next step 

  2. CHECK WIRE HARNESS (SEAT CLIMATE CONTROL BLOWER (CLIMATE CONTROL ECU) - BATTERY) 
    1. Disconnect the C21 blower connector.
    2. Measure the voltage of the wire harness side connector.

    Standard: 

    TESTER CONNECTION AND SPECIFIED CONDITION

    Tester Connection Condition Specified Condition
    C21-7 (IG) - Body ground Ignition switch ON 10 to 14 V
    Fig 1: Identifying Seat Climate Control Blower Connector Terminals
    G03001163Courtesy of © TOYOTA, LICENSE AGREEMENT TMS1002

    NG: REPAIR OR REPLACE HARNESS AND CONNECTOR 

    OK: Go to next step 

  3. CHECK WIRE HARNESS (CLIMATE CONTROL BLOWER (CLIMATE CONTROL ECU) - BODY GROUND) 
    1. Disconnect the C21 blower connector.
    2. Measure the resistance of the wire harness side connector.

    Standard: 

    TESTER CONNECTION AND SPECIFIED CONDITION

    Tester Connection Specified Condition
    C20-8 (E) - Body ground Below 1 Ω
    Fig 2: Identifying Seat Climate Control Blower Connector Terminals
    G03001164Courtesy of © TOYOTA, LICENSE AGREEMENT TMS1002

    NG: REPAIR OR REPLACE HARNESS AND CONNECTOR 

    OK: REPLACE SEAT CLIMATE CONTROL BLOWER (CLIMATE CONTROL ECU) 

  4. CHECK WIRE HARNESS (PASSENGER SIDE J/B - BATTERY) 
    1. Disconnect the PJ J/B connector.
    2. Measure the voltage of the J/B connector.

    Standard: 

    TESTER CONNECTION AND SPECIFIED CONDITION

    Tester Connection Condition Specified Condition
    PJ-9 - Body ground Ignition switch ON 10 to 14 V
    Fig 3: Identifying PJ Passenger Side J/B Connector Terminals
    G03001165Courtesy of © TOYOTA, LICENSE AGREEMENT TMS1002

    NG: Go to step 5 

    OK: REPAIR OR REPLACE HARNESS AND CONNECTOR (PASSENGER SIDE J/B - CLIMATE CONTROL BLOWER (CLIMATE CONTROL ECU)) 

  5. CHECK WIRE HARNESS (PASSENGER SIDE J/B - BODY GROUND 
    1. Disconnect the PA and PE J/B connectors.
    2. Measure the voltage of the wire harness side connectors.

    Standard: 

    TESTER CONNECTION AND SPECIFIED CONDITION

    Tester Connection Condition Specified Condition
    PA-1 - Body ground Always 10 to 14 V
    PE-6 - Body ground Ignition switch ON 10 to 14 V
    Fig 4: Identifying PA And PE Passenger Side J/B Connector Terminals
    G03001166Courtesy of © TOYOTA, LICENSE AGREEMENT TMS1002

    NG: REPAIR OR REPLACE HARNESS AND CONNECTOR 

    OK: Go to next step 

  6. CHECK WIRE HARNESS (PASSENGER SIDE J/B - BODY GROUND) 
    1. Disconnect the PG J/B connector.
    2. Measure the resistance of the wire harness side connector.

    Standard: 

    TESTER CONNECTION AND SPECIFIED CONDITION

    Tester Connection Specified Condition
    PG-8 - Body ground Below 1 Ω
    Fig 5: Identifying PG Passenger Side J/B Connector Terminals
    G03001167Courtesy of © TOYOTA, LICENSE AGREEMENT TMS1002

    NG: REPAIR OR REPLACE HARNESS AND CONNECTOR 

    OK: Go to next step 

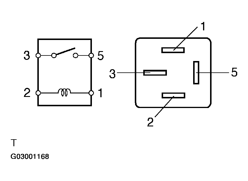
  7. INSPECT RELAY (Marking: P-IG1) 
    1. Remove the P-IG1 relay from the passenger side J/B.
    2. Measure the resistance of the relay.

    Standard: 

    TESTER CONNECTION AND SPECIFIED CONDITION

    Tester Connection Specified Condition
    3 - 5 10 kΩ or higher
    3 - 5 Below 1 Ω (when battery voltage is applied to terminal 1 and 2)
    Fig 6: Identifying P-IG1 Relay Terminals And Circuit
    G03001168Courtesy of © TOYOTA, LICENSE AGREEMENT TMS1002

    NG: REPAIR OR REPLACE HARNESS AND CONNECTOR 

    OK: REPLACE DRIVER SIDE JUNCTION BLOCK