LEMON Manuals: Even more car manuals for everyone: 1960-2025
Home >> Lexus >> 2006 >> LS 430 >> Repair and Diagnosis >> Body & Frame >> Seats >> Front Power Seat Control System - Diagnostics >> System Diagram
April 5, 2026: LEMON Manuals is launched! Read the announcement.

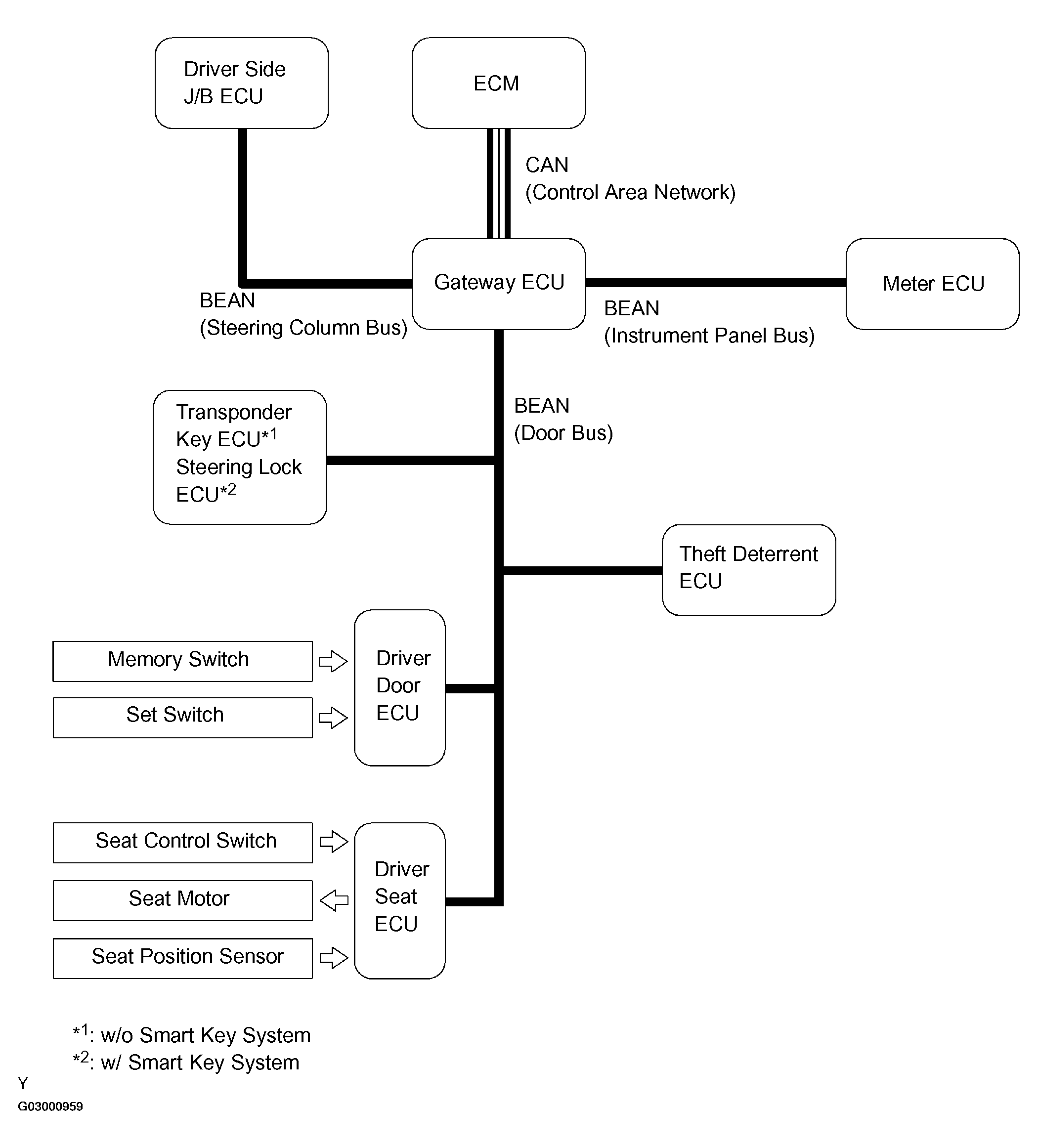
System Diagram

Fig 1: Locating Front Power Seat Control System Diagram
G03000959Courtesy of © TOYOTA, LICENSE AGREEMENT TMS1002

Communication Table 

Fig 2: Communication Table
G03000960Courtesy of © TOYOTA, LICENSE AGREEMENT TMS1002