LEMON Manuals: Even more car manuals for everyone: 1960-2025
Home >> Lexus >> 2006 >> LX 470 >> Repair and Diagnosis >> Body & Frame >> Windows >> Windshield / WINDOWGLASS >> Power Window Control System >> Power Source Circuit >> Wiring Diagram
April 5, 2026: LEMON Manuals is launched! Read the announcement.

Power Source Circuit: Wiring Diagram

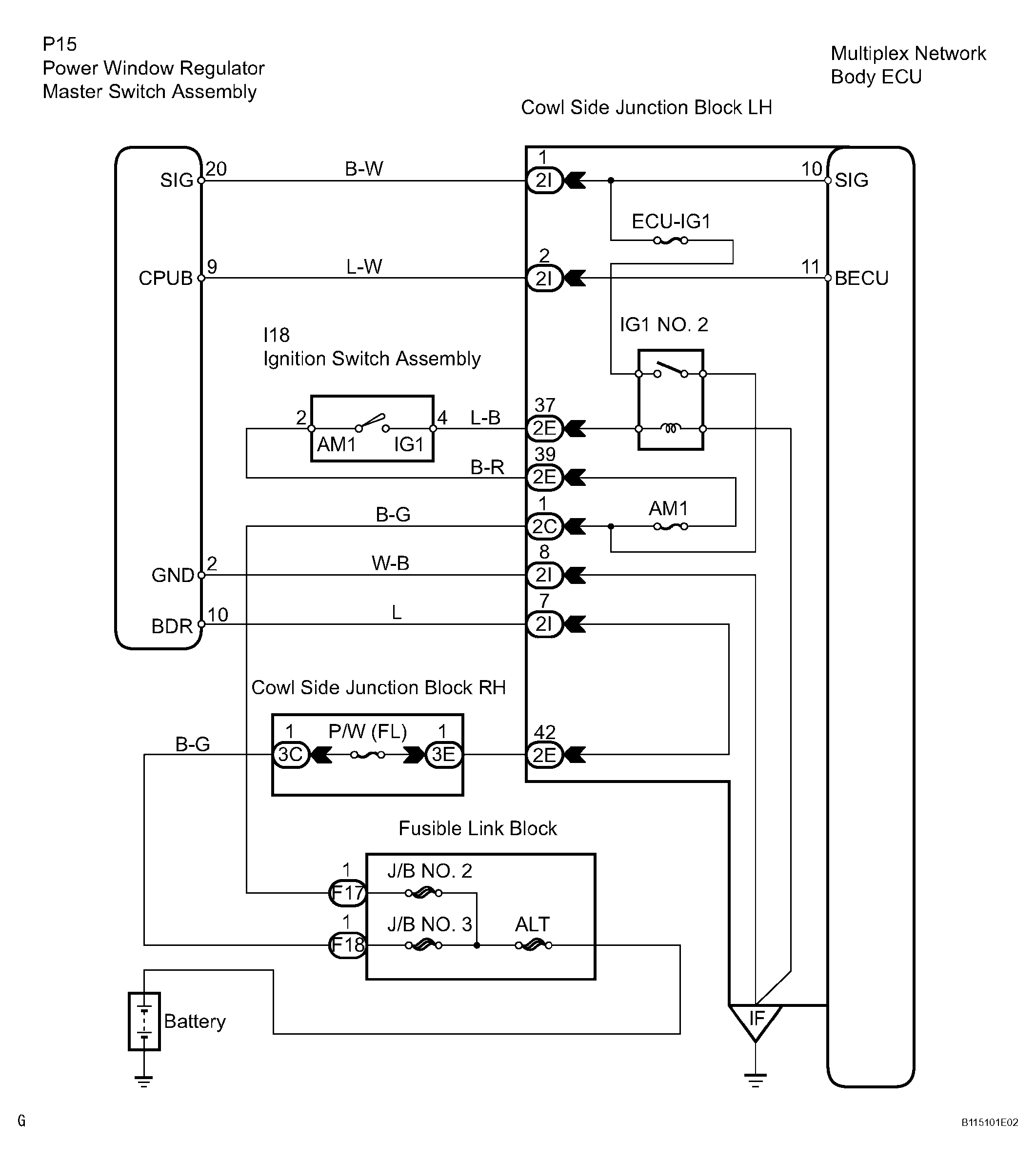
Fig 1: Power Source Circuit - Wiring Diagram
G04065678Courtesy of © TOYOTA, LICENSE AGREEMENT TMS1002
  1. INSPECT FUSE (ECU-IG1, AM1, P/W (FL)) 
    1. Check the continuity of ECU-IG1, AM1 and P/W (FL) fuses.

      OK: Continuity 

    NG: REPLACE FUSE 

    OK: Go To Next Step 

  2. CHECK POWER WINDOW REGULATOR MASTER SWITCH ASSEMBLY (BATTERY VOLTAGE) 
    1. Turn the ignition switch OFF.
    2. Measure the voltage between terminals CPUB, SIG, BDR and GND.

    Standard voltage 

    TERMINAL SPECIFIED CONDITION

    Terminal Name Condition Specified Condition
    CPUB - Body ground Always 10 to 14 V
    BDR - Body ground Always 10 to 14 V
    SIG - Body ground Ignition switch ON 10 to 14 V
    GND - Body ground Always Below 1 V

    NG: PROCEED TO NEXT CIRCUIT INSPECTION SHOWN ON PROBLEM SYMPTOMS TABLE 

    OK: Go To Next Step 

  3. CHECK WIRE HARNESS (POWER WINDOW REGULATOR MASTER SWITCH ASSEMBLY - BODY GROUND) 
    1. Refer to inspection (see INSPECTION  ).

    NG: REPAIR OR REPLACE HARNESS AND CONNECTOR 

    OK: PROCEED TO NEXT CIRCUIT INSPECTION SHOWN ON PROBLEM SYMPTOMS TABLE