LEMON Manuals: Even more car manuals for everyone: 1960-2025
Home >> Lexus >> 2006 >> LX 470 >> Repair and Diagnosis >> Brakes >> Brakes Control Systems >> Brake Control >> Vehicle Stability Control System >> DTC Check / Clear
April 5, 2026: LEMON Manuals is launched! Read the announcement.

DTC Check / Clear

  1. CHECK DTC (When not using intelligent tester) 
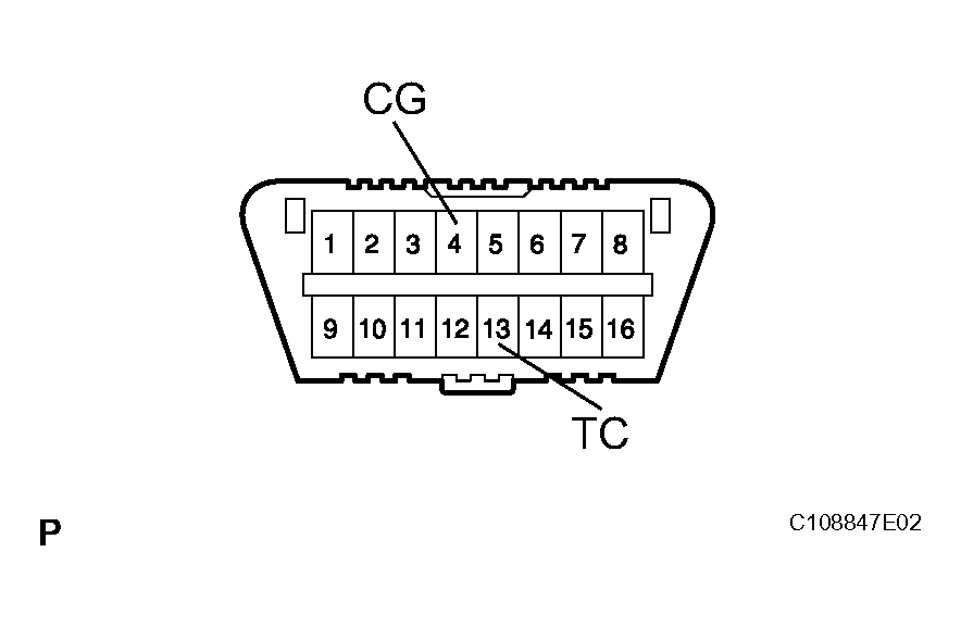
    1. Using SST, connect terminals 13 (TC) and 4 (CG) of the DLC3.

      SST 09843-18040 

    2. Turn the ignition switch ON.
      Fig 1: Identifying Connector Terminals Of DLC3
      G04063842Courtesy of © TOYOTA, LICENSE AGREEMENT TMS1002
    3. Read the DTC from the ABS warning light and VSC TRAC warning light on the combination meter.

      HINT:

      • If no code appears, check the TC terminal circuit, ABS warning light circuit or VSC TRAC warning light circuit.
        TROUBLE AREA AND PROCEDURE REFERENCE

        Trouble Area See procedure
        TC terminal circuit TC and CG Terminal Circuit 
        ABS warning light circuit ABS WARNING LIGHT CIRCUIT 
        VSC TRAC warning light circuit VSC TRAC WARNING LIGHT CIRCUIT 
      • If more than 1 DTC is detected at the same time, the DTCs will be displayed.
      • The blinking patterns for a normal system code and trouble codes 11 and 21 are shown in the illustration.
      • Codes are explained in the Diagnostic Trouble Code.
    4. After completing the check, disconnect terminals 13 (TC) and 4 (CG) of the DLC3, and turn the ignition switch OFF.
    Fig 2: Identifying Blinking Patterns
    G04063843Courtesy of © TOYOTA, LICENSE AGREEMENT TMS1002
  2. CHECK DTC (When using intelligent tester) 
    1. Connect the intelligent tester (with CAN VIM) to the DLC3.
    2. Turn the ignition switch ON.
    3. Read the DTCs by following the prompts on the tester screen.
    Fig 3: Connecting Intelligent Tester To DLC3
    G04064541Courtesy of © TOYOTA, LICENSE AGREEMENT TMS1002

    HINT:

    Refer to the intelligent tester operator's manual for further details.

  3. CLEAR DTC (When not using intelligent tester) 
    1. Using SST, connect terminals 13 (TC) and 4 (CG) of the DLC3.

      SST 09843-18040 

    2. Turn the ignition switch ON.
      Fig 4: Identifying Connector Terminals Of DLC3
      G04063845Courtesy of © TOYOTA, LICENSE AGREEMENT TMS1002
    3. Clear the DTCs stored in ECU by depressing the brake pedal 8 times or more within 5 seconds.
    4. Check that the warning light indicates the normal system code.
    5. Remove SST from the terminals of the DLC3.
    Fig 5: Pressing Brake Pedal
    G04063846Courtesy of © TOYOTA, LICENSE AGREEMENT TMS1002

    HINT:

    DTCs cannot be cleared by removing the battery cable or ECU-IG fuse.

  4. CLEAR DTC (When using intelligent tester) 
    1. Connect the intelligent tester (with CAN VIM) to the DLC3.
    2. Turn the ignition switch ON.
    3. Operate the intelligent tester to clear the codes.
    Fig 6: Connecting Intelligent Tester To DLC3
    G04064541Courtesy of © TOYOTA, LICENSE AGREEMENT TMS1002

    HINT:

    Refer to the intelligent tester operator's manual for further derails.

  5. CHECK ABS WARNING LIGHT AND VSC TRAC WARNING LIGHT 
    1. Turn the ignition switch ON.
    2. Check that the ABS warning light and VSC TRAC warning light illuminate and then turn off in approximately 3 seconds.