LEMON Manuals: Even more car manuals for everyone: 1960-2025
Home >> Lexus >> 2006 >> LX 470 >> Repair and Diagnosis >> Engine Performance >> System >> Engine Control System (2UZ-FE) - System And CIRUIT Testing, On-Vehicle Inspection, Removal, Inspection And Installation >> VC Output Circuit >> Wiring Diagram
April 5, 2026: LEMON Manuals is launched! Read the announcement.

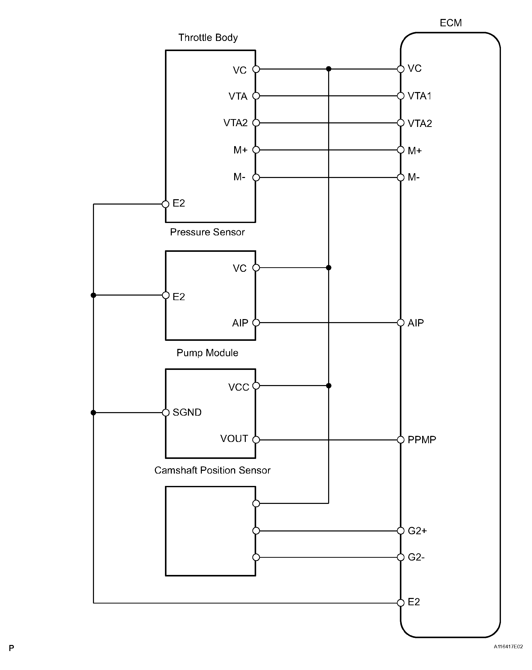
VC Output Circuit: Wiring Diagram

Fig 1: Identifying VC Output Circuit Wiring Diagram
G04061613Courtesy of © TOYOTA, LICENSE AGREEMENT TMS1002
  1. CHECK MIL 
    1. Check that Malfunction Indicator Lamp (MIL) lights up when turning the ignition switch ON.

      OK: MIL lights up 

      OK: SYSTEM OK 

    NG: Go To Next Step 

    OK: Go To Next Step 

  2. CHECK CONNECTION BETWEEN INTELLIGENT TESTER AND ECM 
    1. Connect the intelligent tester to the CAN VIM. Then connect the CAN VIM to the DLC3.
    2. Turn the ignition switch ON and intelligent tester ON.
    3. Check the communication between the intelligent tester and ECM.

    Result 

    RESULT CHART

    Communication is possible A
    Communication is not possible B

    A: GO TO MIL CIRCUIT 

    B: Go to next step 

  3. INSPECT ECM 
    1. Turn the ignition switch ON.
    2. Measure the voltage of the ECM connector.

    Result: Voltage is not 5 V 

    Fig 2: Measuring Voltage Of ECM Connector
    G04061614Courtesy of © TOYOTA, LICENSE AGREEMENT TMS1002
  4. CHECK MIL (THROTTLE POSITION SENSOR) 
    1. Disconnect the T24 throttle body connector.
    2. Turn the ignition switch ON.
    3. Check the MIL.

    Result 

    RESULT CHART

    MIL illuminates A
    MIL does not illuminate B

    A: REPLACE THROTTLE BODY 

    B: Go to next step 

  5. CHECK MIL (CAMSHAFT POSITION SENSOR) 
    1. Disconnect the C39 camshaft position sensor connector.
    2. Turn the ignition switch ON.
    3. Check the MIL.

    Result 

    RESULT CHART

    MIL illuminates A
    MIL does not illuminate B

    A: REPLACE CAMSHAFT POSITION SENSOR 

    B: Go to next step 

  6. CHECK MIL (CANISTER PUMP MODULE) 
    1. Remove the spare tire.
    2. Disconnect the L4 canister pump module connector.
    3. Turn the ignition switch ON.
    4. Check the MIL.
    Fig 3: Identifying L4 Canister Pump Module Connector
    G04061615Courtesy of © TOYOTA, LICENSE AGREEMENT TMS1002

    Result 

    RESULT CHART

    MIL illuminates A
    MIL does not illuminate B

    A: REPLACE CANISTER 

    B: Go to next step 

  7. CHECK MIL (PRESSURE SENSOR) 
    1. Remove the intake manifold (REMOVAL ).
    2. Disconnect the A57 pressure sensor.
    3. Turn the ignition switch ON.
    4. Check the MIL.

    Result 

    RESULT CHART

    MIL illuminates A
    MIL does not illuminate B

    A: REPLACE AIR SWITCHING VALVE 

    B: Go to next step 

  8. CHECK HARNESS AND CONNECTOR 
    1. Disconnect the T24 throttle body connector.
    2. Disconnect the C39 camshaft position sensor connector.
    3. Disconnect the L4 canister pump module connector.
    4. Disconnect the A57 pressure sensor.
    5. Disconnect the E8 ECM connector.
    6. Measure the resistance of the wire harness side connector.

    Standard resistance (check for short) 

    TESTER CONNECTION SPECIFIED CONDITION

    Tester Connection Specified Condition
    E8-23 (VC) - Body ground 10 kΩ or higher

    NG: REPAIR OR REPLACE HARNESS OR CONNECTOR 

    Fig 4: Identifying C39 Camshaft Position Sensor Connector
    G04061616Courtesy of © TOYOTA, LICENSE AGREEMENT TMS1002

    OK: REPLACE ECM