LEMON Manuals: Even more car manuals for everyone: 1960-2025
Home >> Lexus >> 2006 >> LX 470 >> Repair and Diagnosis >> General Information >> Identification >> Introduction >> Repair Instruction >> Precaution
April 5, 2026: LEMON Manuals is launched! Read the announcement.

Repair Instruction: Precaution

  1. BASIC REPAIR HINT 
    1. HINTS ON OPERATIONS
      Fig 1: Precaution For Basic Repair
      G04060716Courtesy of © TOYOTA, LICENSE AGREEMENT TMS1002
      BASIC REPAIR HINT

      1 Attire
      • Always wear a clean uniform.
      • A hat and safety shoes must be worn.
      2 Vehicle protection Prepare a grille cover, fender cover, seat cover and floor mat before starting the operation.
      3 Safe operation
      • When working with 2 or more persons, be sure to check safety for one another.
      • When working with the engine running, make sure to provide ventilation for exhaust fumes in the workshop.
      • If working on high temperature, high pressure, rotating, moving, or vibrating parts, wear appropriate safety equipment and take extra care not to injure yourself or others.
      • When jacking up the vehicle, be sure to support the specified location with a safety stand.
      • When lifting up the vehicle, use appropriate safety equipment.
      4 Preparation of tools and measuring gauge Before starting the operation, prepare a tool stand, SST, gauge, oil and parts for replacement.
      5 Removal and installation, disassembly and assembly operations
      • Diagnose with a thorough understanding of proper procedures and of the reported problem.
      • Before removing parts, check the general condition of the assembly and for deformation and damage.
      • When the assembly is complicated, take notes. For example, note the total number of electrical connections, bolts, or hoses removed. Add matchmarks to ensure reassembly of components to their original positions. Temporarily mark hoses and their fittings if needed.
      • Clean and wash the removed parts if necessary and assemble them after a thorough check.
      6 Removed parts
      • Place removed parts in a separate box to avoid mixing them up with new parts or contaminating new parts.
      • For non-reusable parts such as gaskets, O-rings, and self-locking nuts, replace them with new ones as instructed in this information.
      • Retain the removed parts for customer inspection, if requested.
    2. JACKING UP AND SUPPORTING VEHICLE
      1. Care must be taken when jacking up and supporting the vehicle. Be sure to lift and support the vehicle at the proper locations.
    3. PRECOATED PARTS
      1. Precoated parts are bolts and nuts that are coated with a seal lock adhesive at the factory.
      2. If a precoated part is retightened, loosened or moved in any way, it must be recoated with the specified adhesive.
        Fig 2: Identifying Seal Lock Adhesive Position
        G04060717Courtesy of © TOYOTA, LICENSE AGREEMENT TMS1002
      3. When reusing a precoated part, clean off the old adhesive and dry the part with compressed air. Then apply new seal lock adhesive appropriate to that part.
      4. Some seal lock agents harden slowly. You may have to wait for the seal lock adhesive to harden.
    4. GASKETS
      1. When necessary, use a sealer on gaskets to prevent leaks.
    5. BOLTS, NUTS AND SCREWS
      1. Carefully follow all the specifications for tightening torques. Always use a torque wrench.
    6. FUSES
      1. When inspecting a fuse, check that the wire of the fuse is not broken.
        Fig 3: Identifying Fuses Condition
        G04060718Courtesy of © TOYOTA, LICENSE AGREEMENT TMS1002
      2. When replacing fuses, be sure that the new fuse has the correct amperage rating. Do not exceed the rating or use one with a lower rating.
      FUSES DESCRIPTION

      Illustration Symbol Part Name Abbreviation
      G04060719Courtesy of © TOYOTA, LICENSE AGREEMENT TMS1002
      G04060720Courtesy of © TOYOTA, LICENSE AGREEMENT TMS1002
      FUSE FUSE
      G04060721Courtesy of © TOYOTA, LICENSE AGREEMENT TMS1002
      G04060722Courtesy of © TOYOTA, LICENSE AGREEMENT TMS1002
      MEDIUM CURRENT FUSE M-FUSE
      G04060723Courtesy of © TOYOTA, LICENSE AGREEMENT TMS1002
      G04060724Courtesy of © TOYOTA, LICENSE AGREEMENT TMS1002
      HIGH CURRENT FUSE H-FUSE
      G04060725Courtesy of © TOYOTA, LICENSE AGREEMENT TMS1002
      G04060726Courtesy of © TOYOTA, LICENSE AGREEMENT TMS1002
      FUSIBLE LINK FL
      G04060727Courtesy of © TOYOTA, LICENSE AGREEMENT TMS1002
      G04060728Courtesy of © TOYOTA, LICENSE AGREEMENT TMS1002
      CIRCUIT BREAKER CB
    7. CLIPS
      1. The removal and installation methods of typical clips used for vehicle body parts are shown in the table below.

        HINT:

        If clips are damaged during a procedure, always replace the damaged clip with a new clip.

      REMOVAL AND INSTALLATION METHODS OF TYPICAL CLIPS

      Shape (Example) Illustration Procedures
      G04060729Courtesy of © TOYOTA, LICENSE AGREEMENT TMS1002
      G04060730Courtesy of © TOYOTA, LICENSE AGREEMENT TMS1002
      1. Remove the clips with a clip remover or pliers.
      G04060731Courtesy of © TOYOTA, LICENSE AGREEMENT TMS1002
      G04060732Courtesy of © TOYOTA, LICENSE AGREEMENT TMS1002
      1. Remove the clips with a clip remover or screwdriver.
      G04060733Courtesy of © TOYOTA, LICENSE AGREEMENT TMS1002
      G04060734Courtesy of © TOYOTA, LICENSE AGREEMENT TMS1002
      1. Remove the clips with a wide scraper to prevent panel damage.
      G04060735Courtesy of © TOYOTA, LICENSE AGREEMENT TMS1002
      G04060736Courtesy of © TOYOTA, LICENSE AGREEMENT TMS1002
      1. Remove the clips by pushing center pin through and prying out the shell.
      G04060737Courtesy of © TOYOTA, LICENSE AGREEMENT TMS1002
      G04060738Courtesy of © TOYOTA, LICENSE AGREEMENT TMS1002
      1. Remove the clips by unscrewing the center pin and prying out the shell.
      G04060739Courtesy of © TOYOTA, LICENSE AGREEMENT TMS1002
      G04060740Courtesy of © TOYOTA, LICENSE AGREEMENT TMS1002
      1. Remove the clips by prying out the pin and then prying out the shell.
    8. CLAWS
      1. The removal and installation methods of typical claws used for vehicle body parts are shown in the table below.

        HINT:

        If claws are damaged during a procedure, always replace the damaged claws with new caps or covers.

      REMOVAL AND INSTALLATION METHODS OF TYPICAL CLAWS

      Shape (Example) Illustration Procedures
      G04060741Courtesy of © TOYOTA, LICENSE AGREEMENT TMS1002
      G04060742Courtesy of © TOYOTA, LICENSE AGREEMENT TMS1002
      1. Using a screwdriver, detach the claws and remove the cap or covers.
      G04060743Courtesy of © TOYOTA, LICENSE AGREEMENT TMS1002
      G04060744Courtesy of © TOYOTA, LICENSE AGREEMENT TMS1002
      1. Using a screwdriver, detach the claws and remove the cap or covers.
      G04060745Courtesy of © TOYOTA, LICENSE AGREEMENT TMS1002
      G04060746Courtesy of © TOYOTA, LICENSE AGREEMENT TMS1002
      1. Using a screwdriver, detach the claws and remove the cap or covers.
    9. REMOVAL AND INSTALLATION OF VACUUM HOSES
      1. To disconnect a vacuum hose, pull and twist from the end of the hose. Do not pull from the middle of the hose as this may cause damage.
        Fig 4: Identifying Proper Methods For Disconnecting Vacuum Hose
        G04060747Courtesy of © TOYOTA, LICENSE AGREEMENT TMS1002
      2. When disconnecting vacuum hoses, use tags to identify where they should be reconnected.
      3. After completing any hose related repairs, double check that the vacuum hoses are properly connected. The label under the hood shows the proper layout.
        Fig 5: Using Tags To Identify Vacuum Hoses
        G04060748Courtesy of © TOYOTA, LICENSE AGREEMENT TMS1002
      4. When using a vacuum gauge, never force the hose onto a connector that is too large. If a hose has been stretched, it may leak air. Use a step-down adapter if necessary.
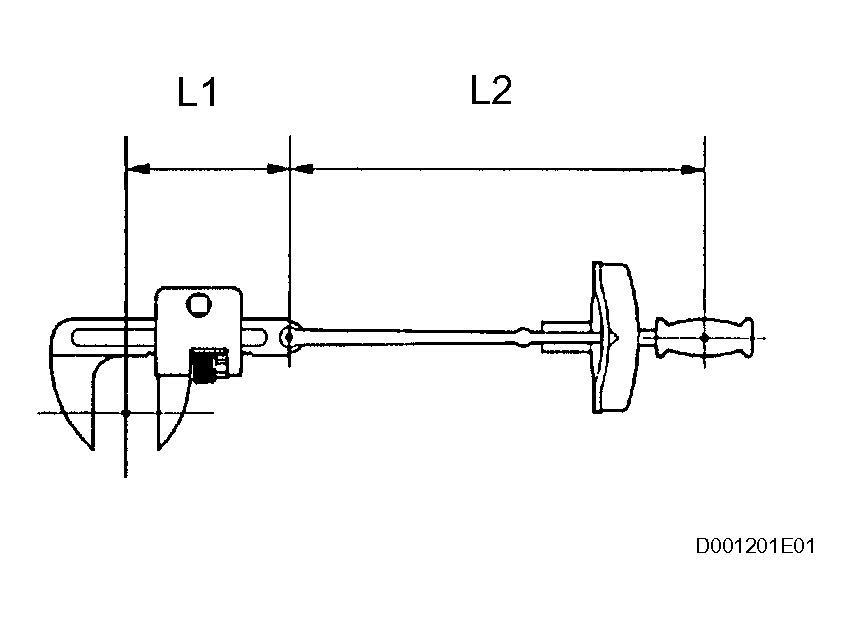
    10. TORQUE WHEN USING TORQUE WRENCH WITH EXTENSION TOOL
      Fig 6: Identifying Length Of Torque Wrench
      G04060749Courtesy of © TOYOTA, LICENSE AGREEMENT TMS1002
      1. Use the formula below to calculate special torque values for situations where SST or an extension tool is combined with the torque wrench.

        Formula: T' = L2 / (L1 + L2) * T 

    FORMULA DESCRIPTION

    T' Reading of torque wrench {N*m (kgf*cm, ft.*lbf)}
    T Torque {N*m (kgf*cm, ft.*lbf)}
    L1 Length of SST or extension tool {cm (in.)}
    L2 Length of torque wrench {cm (in.)}
    Fig 7: Identifying SST And Torque Wrench Length
    G04060750Courtesy of © TOYOTA, LICENSE AGREEMENT TMS1002
    NOTE: If an extension tool or SST is combined with a torque wrench and the wrench is used to tighten to a torque specification in this information, the actual torque will be excessive and parts will be damaged.
  2. FOR VEHICLES EQUIPPED WITH SRS AIRBAG AND FRONT SEAT OUTER BELT ASSEMBLY WITH PRETENSIONER 

    The LEXUS LX470 is equipped with a Supplemental Restraint System (SRS).

    CAUTION: Failure to carry out the service operations in the correct sequence could cause the SRS to unexpectedly deploy during servicing and lead to serious injury. Furthermore, if a mistake is made when servicing the SRS, it is possible that the SRS may fail to operate properly. Before servicing (including removal or installation of parts, inspection or replacement), be sure to read the following information carefully.
    1. GENERAL NOTICE
      1. As malfunctions of the SRS are difficult to confirm, the Diagnostic Trouble Codes (DTCs) become the most important source of information when troubleshooting. When troubleshooting the SRS, always check the DTCs before disconnecting the battery.
      2. Work must be started at least 90 seconds after the ignition switch is turned OFF and after the cable is disconnected from the negative (-) battery terminal.

        (The SRS is equipped with a backup power source. If work is started within 90 seconds after turning the ignition switch OFF and disconnecting the cable from the negative (-) battery terminal, the SRS may deploy. When the cable is disconnected from the negative (-) battery terminal, clock and audio system memory is erased. Before starting work, make a note of the settings of each memory system. When work is finished, reset the clock and audio system as before.

        CAUTION: Never use a backup power source (battery or other) to avoid erasing system memory. The backup power source may inadvertently power the SRS and cause it to deploy.
      3. Even in cases of a minor collision where the SRS does not deploy, the steering wheel pad, front passenger airbag assembly, front seat side airbag assembly, curtain shield airbag assembly and seat belt pretensioner should be inspected
      4. In minor collisions where the SRS does not deploy, the steering wheel pad, front passenger airbag assembly, front seat side airbag assembly, curtain shield airbag assembly and seat belt pretensioner should be inspected before further use of the vehicle.
      5. Never use SRS parts from another vehicle. When replacing parts, use new parts.
      6. Before repairs, remove the airbag sensor assemblies if impacts are likely to be applied to the sensor during repairs.
      7. Never disassemble and attempt to repair the steering wheel pad, front passenger airbag assembly, side airbag assembly, curtain shield airbag assembly and seat belt pretensioner.
      8. Replace the steering wheel pad, front passenger airbag assembly, front seat side airbag assembly, curtain shield airbag assembly and seat belt pretensioner if: 1) damage has occurred from being dropped, or 2) cracks, dents or other defects in the case, bracket or connector are present.
      9. Do not directly expose the airbag sensor assemblies or airbag assemblies to hot air or flames.
      10. Use an ohmmeter / voltmeter with high impedance (10 kΩ/V minimum) for troubleshooting electrical circuits.
      11. Information labels are attached to the SRS components. Follow the instructions on the labels.
      12. After work on the SRS is completed, check the SRS warning light.
    2. SPIRAL CABLE
      1. The steering wheel must be fitted correctly to the steering column with the spiral cable at the neutral position, as cable disconnection and other problems may occur. Refer to the information about correct installation of the steering wheel.
      Fig 8: Identifying Marks For Fitting Steering Wheel
      G04060751Courtesy of © TOYOTA, LICENSE AGREEMENT TMS1002
    3. STEERING PAD
      1. Always place a removed or new steering pad surface upward as shown in the illustration. Placing the horn button with the pad surface facing down could cause a serious accident if the airbag inflates. Also, do not place anything on top of the horn button.
        Fig 9: Identifying Proper Methods For Placing Steering Pad
        G04060752Courtesy of © TOYOTA, LICENSE AGREEMENT TMS1002
      2. Never measure the resistance of the airbag squib. This may cause the airbag to inflate, which could cause serious injury.
        Fig 10: Precaution For Measuring Resistance Of Airbag Squib
        G04060753Courtesy of © TOYOTA, LICENSE AGREEMENT TMS1002
      3. Grease or detergents of any kind should not be applied to the horn button.
      4. Store the horn button assembly in an area where the ambient temperature is below 93°C (200°F), the humidity is not high and there is no electrical noise.
      5. When using electric welding anywhere on the vehicle, disconnect the airbag ECU connectors (4 pins). These connectors contain shorting springs. This feature reduces the possibility of the airbag deploying due to currents entering the squib wiring.
      6. When disposing of the vehicle or the horn button assembly by itself, the airbag should be deployed using SST before disposal. Activate the airbag in a safe place away from electrical noise.
    4. FRONT PASSENGER AIRBAG ASSEMBLY
      1. Always place a removed or new front passenger airbag assembly with the pad surface facing upward as shown in the illustration. Placing the airbag assembly with the airbag inflation direction facing down could cause a serious accident if the airbag inflates.
        Fig 11: Identifying Proper Methods For Placing Front Passenger Airbag Assembly
        G04060754Courtesy of © TOYOTA, LICENSE AGREEMENT TMS1002
      2. Never measure the resistance of the airbag squib. This may cause the airbag to inflate, which could cause serious injury.
        Fig 12: Precaution For Measuring Resistance Of Airbag Squib
        G04060755Courtesy of © TOYOTA, LICENSE AGREEMENT TMS1002
      3. Grease or detergents of any kind should not be applied to the front passenger airbag assembly.
      4. Store the airbag assembly in an area where the ambient temperature is below 93°C (200°F), the humidity is not high and there is no electrical noise.
      5. When using electric welding anywhere on the vehicle, disconnect the airbag ECU connectors (4 pins). These connectors contain shorting springs. This feature reduces the possibility of the airbag deploying due to currents entering the squib wiring.
      6. When disposing of the vehicle or the airbag assembly unit by itself, the airbag should be deployed using SST before disposal. Activate in a safe place away from electrical noise.
    5. CURTAIN SHIELD AIRBAG ASSEMBLY
      1. Always place a removed or new curtain shield airbag assembly in a clear plastic bag, and keep it in a safe place.
        Fig 13: Identifying Proper Methods For Placing Curtain Shield Airbag Assembly
        G04060756Courtesy of © TOYOTA, LICENSE AGREEMENT TMS1002
        CAUTION: The plastic bag is not reusable.
        NOTE: Never disassemble the curtain shield airbag assembly.
      2. Never measure the resistance of the airbag squib. This may cause the airbag to inflate, which could cause serious injury.
        Fig 14: Precaution For Measuring Resistance Of Airbag Squib
        G04060757Courtesy of © TOYOTA, LICENSE AGREEMENT TMS1002
      3. Grease or detergents of any kind should not be applied to the curtain shield airbag assembly.
      4. Store the airbag assembly in an area where the ambient temperature is below 93°C (200°F), the humidity is not high and there is no electrical noise.
      5. When using electric welding anywhere on the vehicle, disconnect the airbag ECU connectors (4 pins). These connectors contain shorting springs. This feature reduces the possibility of the airbag deploying due to currents entering the squib wiring.
      6. When disposing of a vehicle or the airbag assembly unit by itself, the airbag should be deployed using SST before disposal. Activate in a safe place away from electrical noise.
    6. FRONT SEAT SIDE AIRBAG ASSEMBLY
      1. Always place a removed or new front seat airbag assembly with the airbag inflation direction facing up.
        Fig 15: Identifying Proper Methods For Placing Front Seat Side Airbag Assembly
        G04060758Courtesy of © TOYOTA, LICENSE AGREEMENT TMS1002
      2. Never measure the resistance of the airbag squib. This may cause the airbag to inflate, which could cause serious injury.
        Fig 16: Precaution For Measuring Resistance Of Airbag Squib
        G04060759Courtesy of © TOYOTA, LICENSE AGREEMENT TMS1002
      3. Grease or detergents of any kind should not be applied to the front seat airbag assembly.
      4. Store the airbag assembly in an area where the ambient temperature is below 93°C (200°F), the humidity is not high and there is no electrical noise.
      5. When using electric welding anywhere on the vehicle, disconnect the airbag ECU connectors (2 pins). These connectors contain shorting springs. This feature reduces the possibility of the airbag deploying due to currents entering the squib wiring.
      6. When disposing of a vehicle or the airbag assembly unit by itself, the airbag should be deployed using SST before disposal. Activate in a safe place away from electrical noise.
    7. FRONT SEAT OUTER BELT ASSEMBLY WITH PRETENSIONER
      1. Never measure the resistance of the seat outer belt. This may cause the pretensioner of the seat belt to activate, which could cause serious injury.
        Fig 17: Precautions For Measuring Resistance Of Seat Outer Belt
        G04060760Courtesy of © TOYOTA, LICENSE AGREEMENT TMS1002
      2. Never disassemble the seat outer belt.
      3. Never install the seat outer belt on another vehicle.
      4. Store the seat outer belt in an area where the ambient temperature is below 80°C (176°F), the humidity is not high and there is no electrical noise.
      5. When using electric welding anywhere on the vehicle, disconnect the airbag ECU connectors (2 pins). These connectors contain shorting springs. This feature reduces the possibility of the pretensioner deploying due to currents entering the squib wiring.
      6. When disposing of a vehicle or the seat outer belt assembly by itself, the seat outer belt should be activated before disposal. Activate in a safe place away from electrical noise.
      7. As the seat outer belt is hot after the pretensioner is activated, allow some time for it to cool down sufficiently before disposal. Never apply water to try to cool down the seat outer belt.
      8. Grease, detergents, oil or water should not be applied to the front seat outer belt.
    8. AIRBAG SENSOR ASSEMBLY
      1. Never reuse an airbag sensor assembly that has been involved in a collision where the SRS has deployed.
      2. The connectors to the airbag sensor assembly should be connected or disconnected with the sensor placed on the floor. If the connectors are connected or disconnected while the airbag sensor assembly is not placed on the floor, the SRS may activate.
      3. Work must be started at least 90 seconds after the ignition switch is turned OFF and the cable is disconnected from the negative (-) battery terminal, even if only loosening the set bolts of the airbag sensor assembly.
    9. WIRE HARNESS AND CONNECTOR
      1. The SRS wire harness is integrated with the instrument panel wire harness assembly. All the connectors in the system are a standard yellow color. If the SRS wire harness becomes disconnected or the connector becomes broken, repair or replace it.
  3. ELECTRONIC CONTROL 
    1. REMOVAL AND INSTALLATION OF BATTERY TERMINAL
      NOTE: Certain systems need to be initialized after disconnecting and reconnecting the cable from the negative (-) battery terminal.
      1. Before performing electronic work, disconnect the cable from the negative (-) battery terminal to prevent component and wire damage caused by accidental short circuits.
        Fig 18: Removing/Installing Of Battery Terminal
        G04060761Courtesy of © TOYOTA, LICENSE AGREEMENT TMS1002
      2. When disconnecting the cable, turn the ignition switch off and headlight dimmer switch OFF and loosen the cable nut completely. Perform these operations without twisting or prying the cable. Then disconnect the cable.
      3. Clock settings, radio settings, audio system memory, DTCs and other data are erased when the cable is disconnected from the negative (-) battery terminal. Write down any necessary data before disconnecting the cable.
    2. HANDLING OF ELECTRONIC PARTS
      1. Do not open the cover or case of the ECU unless absolutely necessary. If the IC terminals are touched, the IC may be rendered inoperative by static electricity.
      2. Do not pull the wires when disconnecting electronic connectors. Pull the connector.
      3. Be careful not to drop electronic components, such as sensors or relays. If they are dropped on a hard surface, they should be replaced.
      4. When cleaning the engine with steam, protect the electronic components, air filter and emission-related components from water.
      5. Never use an impact wrench to remove or install temperature switches or temperature sensors.
      6. When measuring the resistance of a wire connector, insert the tester probe carefully to prevent terminals from bending.
    Fig 19: Precaution For Dropping Electronic Components
    G04060762Courtesy of © TOYOTA, LICENSE AGREEMENT TMS1002
  4. REMOVAL AND INSTALLATION OF FUEL CONTROL PARTS 
    1. PLACE FOR REMOVING AND INSTALLING FUEL SYSTEM PARTS
      1. Work in a location with good air ventilation that does not have welders, grinders, drills, electric motors, stoves, or any other ignition sources.
      2. Never work in a pit or near a pit as vaporized fuel will collect in those places.
    2. REMOVING AND INSTALLING FUEL SYSTEM PARTS
      1. Prepare a fire extinguisher before starting the operation.
      2. To prevent static electricity, install a ground wire to the fuel changer, vehicle and fuel tank, and do not spray the surrounding area with water. Be careful when performing work in this area, as the work surface will become slippery. Do not clean up gasoline spills with water, as this may cause the gasoline to spread, and possibly create a fire hazard.
      3. Avoid using electric motors, working lights and other electric equipment that can cause sparks or high temperatures.
      4. Avoid using iron hammers as they may create sparks.
      5. Dispose of fuel-contaminated cloth separately using a fire resistant container.
  5. REMOVAL AND INSTALLATION OF ENGINE INTAKE PARTS 
    1. If any metal particles enter inlet system parts, they may damage the engine.
    2. When removing and installing inlet system parts, cover the openings of the removed parts and engine openings. Use gummed tape or other suitable materials.
    3. When installing inlet system parts, check that no metal particles have entered the engine or the installed parts.
    Fig 20: Identifying Engine Intake
    G04060763Courtesy of © TOYOTA, LICENSE AGREEMENT TMS1002
  6. HANDLING OF HOSE CLAMPS 
    1. Before removing the hose, check the clamp position so that it can be reinstalled in the same position.
    2. Replace any deformed or dented clamps with new ones.
    3. When reusing a hose, attach the clamp on the clamp track portion of the hose.
    4. For a spring type clamp, you may want to spread the tabs slightly after installation by pushing in the direction of the arrows as shown in the illustration.
    Fig 21: Spreading Tabs Of Spring Type Clamp
    G04060764Courtesy of © TOYOTA, LICENSE AGREEMENT TMS1002
  7. FOR VEHICLES EQUIPPED WITH MOBILE COMMUNICATION SYSTEMS 
    1. Install the antenna as far away from the ECU and sensors of the vehicle electronic systems as possible.
    2. Install an antenna feeder at least 20 cm (7.87 in.) away from the ECU and sensors of the vehicle electronic systems. For details about ECU and sensor locations, refer to the article of the applicable components.
      Fig 22: Precaution For Handling Mobile Communication Systems
      G04060765Courtesy of © TOYOTA, LICENSE AGREEMENT TMS1002
    3. Keep the antenna and feeder separate from other wiring as much as possible. This will prevent signals from the communication equipment from affecting vehicle equipment and vice versa.
    4. Check that the antenna and feeder are correctly adjusted.
    5. Do not install a high-powered mobile communication system.
  8. FOR VEHICLES EQUIPPED WITH VEHICLE STABILITY (VSC) SYSTEM 
    1. NOTICES WHEN USING DRUM TESTER
      1. Before beginning testing, disable the VSC. To disable the VSC, turn the engine switch off and connect SST to terminals TS and CG of the DLC3.
        Fig 23: Identifying DLC3 Connector Terminals
        G04060766Courtesy of © TOYOTA, LICENSE AGREEMENT TMS1002

        SST 09843--18040 

        NOTE:
        • Confirm that the VSC warning light blinks.
        • VSC system will be reset when the engine is started.
        • For safety, secure the vehicle with restraint chains while using a wheel dynamometer.
    2. NOTICES OF RELATED OPERATIONS TO VSC
      1. Do not carry out unnecessary installation and removal as it might affect the adjustment of VSC related parts.
      2. Be sure to follow the instructions for work preparation and final confirmation of proper operation of the VSC system.
  9. WHEN SERVICING FULL-TIME 4WD VEHICLES 

    The Full-time 4WD LEXUS LX470 is equipped with the mechanical lock type center differential system.

    During tests using a brake tester or chassis dynamometer, such as braking force tests or speedometer tests, if only the front or rear wheels are to be rotated, it is necessary to set the position of the center differential to FREE or LOCK depending on the type of the test being performed.

    Fig 24: Identifying Center Differential Lock Indicator Light And Switch
    G04060767Courtesy of © TOYOTA, LICENSE AGREEMENT TMS1002

    Center differential FREE condition: 

    CENTER DIFFERENTIAL FREE CONDITION

    Item Condition Wheel
    Center differential switch OFF A lifted wheel cannot be rotated even if only one wheel is lifted up, as long as transmission is in N position
    Indicator light OFF
    Transfer select lever (H/T) w/ VSC: Either will do
    w/o VSC: H position only

    Center differential LOCK conditions (w/ VSC): 

    CENTER DIFFERENTIAL LOCK CONDITIONS (W/ VSC)

    Item Condition Wheel
    Center differential ON A lifted wheel cannot be rotated even if only one wheel is lifted up, as long as transmission is in N position
    Indicator light ON
    Transfer select lever (H/L) Either will do

    Center differential LOCK conditions (w/o VSC): 

    CENTER DIFFERENTIAL LOCK CONDITIONS (W/O VSC)

    Item Condition Wheel
    Center differential switch ON A lifted wheel cannot be rotated even if only one wheel is lifted up, as long as transmission is in N position
    Indicator light ON
    Transfer select lever (H/L) H position
    Transfer select lever (H/L) L position
    Fig 25: Checking Center Differential Lock And Free Conditions
    G04060768Courtesy of © TOYOTA, LICENSE AGREEMENT TMS1002

    HINT:

    w/o Vehicle Stability Control (VSC) system:

    When the transfer select lever is put in "L" position, the center differential is put in LOCK condition regardless of the position of the center differential lock switch.

    CAUTION: Center differential "LOCK" <---> "FREE" selecting procedure:
    • Operate the switch only when all of 4 wheels are stopped or driven in a straight line.
    • Never operate the switch when any wheel is slipping.
    • Never operate the switch when any wheel if spinning freely.
    • Never operate the switch when swerving or cornering.

    HINT:

    • Center differential "LOCK" <--> "FREE" selecting procedure:

      Move the vehicle forward or backward slightly if the indicator light does not operate correctly when the center differential lock switch is turned ON or OFF.

    • Transfer gear "H" <--> "L" gear shifting procedure:

      When shifting, always put the shift lever of the transmission in N position. In other positions, the gears of the transfer clash, and switching cannot be performed.

    Fig 26: Identifying Transfer Gear Shifting Pattern
    G04060769Courtesy of © TOYOTA, LICENSE AGREEMENT TMS1002
  10. WHEN TESTING BRAKES, SPEEDOMETER, ETC. 
    1. When carrying out any kind of servicing or testing on a Full-time 4WD in which the front or rear wheels are to be rotated (braking test, speedometer test), be sure to observe the precautions given below. Incorrect preparations or test procedures may cause danger as well as unsuccessful test results. Before starting any such servicing or test, be sure to check the following items:
      • Center differential mode position (FREE or LOCK)
        Fig 27: Identifying Center Differential Lock Indicator Light And Switch
        G04060770Courtesy of © TOYOTA, LICENSE AGREEMENT TMS1002
      • Vehicle Stability Control (VSC) system (with or without):

        If the vehicle is equipped with the system, the slip indicator light, the VSC / TRAC indicator light and the VSC OFF indicator light come on with the ignition key turned to "ON". They will go off after about a few seconds.

        Fig 28: Identifying VSC / TRAC Indicator Light
        G04060771Courtesy of © TOYOTA, LICENSE AGREEMENT TMS1002
      • Whether wheels should be touching ground or jacked up
      • Transmission gear position (N position)
      • Transfer gear position (H or L position)
      • Maximum testing vehicle speed
      • Maximum testing time

      HINT:

      w/o Vehicle Stability control (VSC) system:

      When the transfer select lever is put in "L" position, the center differential is put in LOCK condition regardless of the position of the center differential lock switch.

    2. Using Braking Tester:

      Measure by low-speed type (Vehicle Speed: Below 0.5 km/h or 0.3 mph) brake tester and observe the following instructions before performing the test.

      Fig 29: Positioning Wheels On Tester
      G04060772Courtesy of © TOYOTA, LICENSE AGREEMENT TMS1002
      1. Position the wheels to be tested (front or rear) on the tester.
      2. Put the center differential in FREE position.
      3. If the vehicle is equipped with Vehicle Stability Control (VSC) system, prohibit the system from the activation (See previous step).
      4. Shift the transmission shift lever to "N" position.

        HINT:

        Do not forget to change the Vehicle Stability Control (VSC) & Traction Control (TRAC) system to operational condition after the test. Check that the VSC warning indicator light goes off when restarting the engine.

    3. Using Speedometer Tester:

      Observe the following instructions and then measure with the rear wheels.

      Fig 30: Positioning Rear Wheels On Tester Roller
      G04060773Courtesy of © TOYOTA, LICENSE AGREEMENT TMS1002
      1. Position the rear wheels on the tester roller.
      2. Position the front wheels on the free roller of jack them up.
      3. Put the center differential in FREE position.
      4. If the vehicle is equipped with Vehicle Stability Control (VSC) & Traction Control (TRAC) system, prohibit the system from the activation (See previous step).
      5. Ensure that the vehicle does not move using wires.
        CAUTION: The maximum speed should be less than 60 km/h (37mph) and maximum driving time should be 1 minute.

        HINT:

        • Sudden shifting, braking, acceleration or deceleration is not allowed.
        • Do not forget to change the Vehicle Stability Control (VSC) & Traction Control (TRAC) system to operational condition after the test. Check that the VSC warning indicator light goes off when restarting the engine.
    4. Using Chassis Dynamometer:

      Observe the following instructions and then measure with the rear wheels.

      Fig 31: Observing Instructions Using Chassis Dynamometer
      G04060774Courtesy of © TOYOTA, LICENSE AGREEMENT TMS1002
      1. Remove the front propeller shaft.
      2. Put the center differential in LOCK position.
      3. If the vehicle is equipped with Vehicle Stability Control (VSC) & Traction Control (TRAC) system, prohibit the system from the activation (See previous step).
      4. Ensure that the vehicle is securely fixed.

        HINT:

        • Sudden shifting, braking, acceleration or deceleration is not allowed.
        • Do not forget to change the Vehicle Stability Control (VSC) & Traction Control (TRAC) system to operational condition after the test. Check that the VSC warning indicator light goes off when restarting the engine.
    5. On-Vehicle Wheel Balancing:

      When doing on-vehicle wheel balancing on a full-time 4WD vehicle, to prevent each wheel from being rotated at different speed in different directions (which could damage the center differential), always be sure to observe the following precautions.

      1. All of 4 wheels should be jacked up, being apart from the ground completely.
      2. Put the center differential in LOCK position.
      3. If the vehicle is equipped with Vehicle Stability Control (VSC) & Traction Control (TRAC) system, prohibit the system from the activation (See previous step).
      4. The parking brakes lever should be fully released.
      5. None of the brakes should be applied.
      6. The wheels should be driven on the wheel balancer with the engine running.
      7. Carry out the wheel balancing with the transmission position in D position.
      Fig 32: View Of On-Vehicle Wheel Balancing
      G04060775Courtesy of © TOYOTA, LICENSE AGREEMENT TMS1002

      HINT:

      • When doing this balancing, pay attention to the other wheels rotating at the same time.
      • Sudden acceleration, deceleration or braking is not allowed.
      • Do not forget to change the Vehicle Stability Control (VSC) & Traction Control (TRAC) system to operational condition after the test. Check that the VSC warning indicator light goes off when restarting the engine.
  11. WHEN TOWING FULL-TIME 4WD VEHICLES 
    • Using one of the methods shown below to tow the vehicle.
    • If the vehicle has trouble in the chassis and drive train, use method 1 (flat bed truck).
    TOWING METHODS

    Towing Method Parking Brake Condition Transmission Shift Lever Position
    1. Flat Bed Truck
    G04060776Courtesy of © TOYOTA, LICENSE AGREEMENT TMS1002
    Applied Any Position
    2. Wheel Lift Type Truck
    From Front
    G04060777G04060778Courtesy of © TOYOTA, LICENSE AGREEMENT TMS1002© TOYOTA, LICENSE AGREEMENT TMS1002

    From Rear
    G04060777G04060778Courtesy of © TOYOTA, LICENSE AGREEMENT TMS1002© TOYOTA, LICENSE AGREEMENT TMS1002
    Applied
    NOTE: Do not use any towing method other than those shown above.
    • For example, the towing methods shown below are dangerous or damage the vehicle, so do not use them.
    PRECAUTIONS OF TOWING METHODS

    G04060779Courtesy of © TOYOTA, LICENSE AGREEMENT TMS1002
    • Never tow the vehicle using a method where the lifted-up wheel cannot rotate.
    • If this towing method is used, either from the front or rear:
      1. There is a danger of the drive train heating up and causing breakdown, or of the wheels flying off the dolly.
      2. In addition, if the vehicle is equipped with the Vehicle Stability Control (VSC) & Traction Control (TRAC) system, the system will apply the rotating wheels brake unless the engine isn't shut off.
    G04060780Courtesy of © TOYOTA, LICENSE AGREEMENT TMS1002
    Do not use the sling type method, either from the front or rear, as this method causes damage to the body.
  12. FOR VEHICLES EQUIPPED WITH CATALYTIC CONVERTER 
    CAUTION: If a large amount of unburned gasoline or gasoline vapors flow into the converter, it may cause overheating and create a fire hazard. To prevent this, observe the following precautions.
    1. Use only unleaded gasoline.
    2. Avoid idling the engine for more than 20 minutes.
    3. Avoid performing unnecessary spark jump tests.
      1. Perform a spark jump test only when absolutely necessary. Perform this test as rapidly as possible.
      2. While testing, never race the engine.
    4. Avoid a prolonged engine compression measurement. Engine compression measurements must be performed as rapidly as possible.
    5. Do not run the engine when the fuel tank is nearly empty. This may cause the engine to misfire and create an extra load on the converter.