LEMON Manuals: Even more car manuals for everyone: 1960-2025
Home >> Lexus >> 2006 >> LX 470 >> Repair and Diagnosis >> Transmission >> Transfer Case >> Transfer >> Transfer Assembly >> Reassembly
April 5, 2026: LEMON Manuals is launched! Read the announcement.

Transfer Assembly: Reassembly

  1. CHECK NO. 2 SHIFT FORK AND CLUTCH SLEEVE CLEARANCE 
    1. Using a feeler gauge, measure the clearance between the No. 2 shift fork and clutch sleeve.
    Fig 1: Measuring Clearance Between No 2 Shift Fork And Clutch Sleeve
    G04063102Courtesy of © TOYOTA, LICENSE AGREEMENT TMS1002

    Standard clearance: 0.10 to 0.40 mm (0.0039 to 0.0157 in.) 

    Maximum clearance: 0.40 mm (0.0157 in.) 

    If the clearance is greater than the maximum, replace the No. 2 shift fork or clutch sleeve.

  2. INSTALL BEARING RACE (OUTPUT SHAFT) 
    1. Using SST and a press, press in the bearing race to the front case.
    Fig 2: Identifying Bearing Race (Output Shaft)
    G04063103Courtesy of © TOYOTA, LICENSE AGREEMENT TMS1002

    SST 09316-60011 (09316-00011, 09316-00031), 09950-60020 (09951-00890) 

  3. INSTALL BEARING RACE (IDLER GEAR) 
    1. Using SST and a press, press in the bearing race to the front case.
    Fig 3: Identifying Bearing Race (Idler Gear)
    G04063104Courtesy of © TOYOTA, LICENSE AGREEMENT TMS1002

    SST 09316-60011 (09316-00031, 09316-00011), 09950-60020 (09951-00890) 

  4. INSTALL OIL RECEIVER 
    1. Install the oil receiver to the front case with the bolt.
    Fig 4: Identifying Oil Receiver
    G04063105Courtesy of © TOYOTA, LICENSE AGREEMENT TMS1002

    Torque: 12 N*m (120 kgf*cm, 9 ft.*lbf) 

  5. INSTALL INPUT SHAFT OIL SEAL 
    1. Apply MP grease to the lip of a new oil seal.
    2. Using SST and a hammer, tap in the oil seal to the front case.
    Fig 5: Identifying Input Shaft Oil Seal
    G04063106Courtesy of © TOYOTA, LICENSE AGREEMENT TMS1002

    SST 09316-60011 (09316-00011, 09316-00031) 

  6. INSTALL INNER SHIFT LEVER OIL SEAL 
    1. Apply MP grease to the lip of a new oil seal.
    2. Using SST and a hammer, tap in the oil seal to the front case.
    Fig 6: Identifying Inner Shift Lever Oil Seal
    G04063107Courtesy of © TOYOTA, LICENSE AGREEMENT TMS1002

    SST 09950-60010 (09951-00270), 09950-70010 (09951-07150) 

  7. INSTALL OUTER SHIFT LEVER AND INNER SHIFT LEVER 
    1. Install the inner shift lever, washer and outer shift lever to the front case.
    2. Using a pin punch, hammer and socket wrench, tap in the lever lock pin.
      Fig 7: Identifying Lever Lock Pin
      G04063108Courtesy of © TOYOTA, LICENSE AGREEMENT TMS1002
    3. Install the washer and nut to the outer shift lever.

    Torque: 12 N*m (120 kgf*cm, 9 ft.*lbf) 

  8. ASSEMBLE NO. 1 SHIFT FORK AND NO. 1 SHIFT FORK SHAFT 
    1. Assemble the No. 1 shift fork and No. 1 shift fork shaft.
    2. Using a pin punch and hammer, tap in the slotted spring pin.
    Fig 8: Identifying Slotted Spring Pin
    G04063109Courtesy of © TOYOTA, LICENSE AGREEMENT TMS1002
  9. INSTALL IDLER GEAR ASSEMBLY WITH CENTER DIFFERENTIAL ASSEMBLY, NO. 1 SHIFT FORK AND NO. 1 SHIFT FORK SHAFT 
    NOTE: Set the shift inner lever into the fork head part of the No. 1 shift fork securely.
    Fig 9: Identifying Idler Gear With Center Differential, No 1 Shift Fork Shaft And No 1 Shift Fork
    G04063110Courtesy of © TOYOTA, LICENSE AGREEMENT TMS1002
  10. INSTALL INPUT SHAFT SUB-ASSEMBLY 
  11. INSTALL BEARING RACE 
    1. Install the 2 bearing races to the rear case.
  12. ASSEMBLE FRONT CASE AND REAR CASE 
    1. Apply FIPG to the front case.
      Fig 10: Applying FIPG To Front Case
      G04063111Courtesy of © TOYOTA, LICENSE AGREEMENT TMS1002

      FIPG: Part No. 08826-00090, THREE BOND 1281 or equivalent 

    2. Assemble the front case and rear case.
    3. Apply liquid sealer to the "A" bolt threads.

      Sealant: Part No. 08833-00080, THREE BOND 1344, LOCTITE 242 or equivalent 

    4. Install the 8 bolts.
      Fig 11: Identifying Bolts
      G04063112Courtesy of © TOYOTA, LICENSE AGREEMENT TMS1002

      Torque: 37 N*m (380 kgf*cm, 27 ft.*lbf) 

    5. Using a snap ring expander, install the snap ring to the rear case.
    Fig 12: Identifying Snap Ring
    G04063113Courtesy of © TOYOTA, LICENSE AGREEMENT TMS1002
  13. INSTALL CASE COVER
    1. Apply FIPG to the rear case.
      Fig 13: Applying FIPG To Rear Case
      G04063114Courtesy of © TOYOTA, LICENSE AGREEMENT TMS1002

      FIPG: Part No. 08826-00090, THREE BOND 1281 or equivalent 

    2. Install the case cover.
    3. Apply liquid sealer to the bolt threads.

      Sealant: Part No. 08833-00080, THREE BOND 1344, LOCTITE 242 or equivalent 

    4. Install the 5 bolts.
    Fig 14: Identifying Bolts
    G04063115Courtesy of © TOYOTA, LICENSE AGREEMENT TMS1002

    Torque: 37 N*m (380 kgf*cm, 27 ft.*lbf) 

  14. INSTALL OIL STRAINER ASSEMBLY 
    1. Install the oil strainer to the rear case with the 2 bolts.
    Fig 15: Identifying Oil Strainer
    G04063116Courtesy of © TOYOTA, LICENSE AGREEMENT TMS1002

    Torque: 4.9 N*m (50 kgf*cm, 43 in.*lbf) 

  15. SELECT ADJUSTING SHIM (REAR IDLER GEAR TAPER ROLLER BEARING) 
    1. Using a vernier caliper, measure dimension "A".
      Fig 16: Measuring Dimension "A"
      G04063117Courtesy of © TOYOTA, LICENSE AGREEMENT TMS1002
    2. Lightly hold down the outer bearing race in the thrust direction to eliminate any looseness before making the measurement.
    3. Using a steel straightedge and feeler gauge, measure the clearance of dimension "B".
      Fig 17: Measuring Clearance Of Dimension "B"
      G04063118Courtesy of © TOYOTA, LICENSE AGREEMENT TMS1002
    4. Calculate the required thickness of the adjusting shim.

      Standard thickness: Dimension "A" + Dimension "B" + (0.022 to 0.049 mm, (0.0009 to 0.0019 in.)) 

    5. From the following table, select a shim so that its thickness is within the range of the calculation.

    Standard snap ring thickness 

    STANDARD SNAP RING THICKNESS SPECIFICATION

    Mark Thickness mm (in.) Mark Thickness mm (in.)
    2 0.30 (0.0118) 8 3.20 (0.1260)
    3 0.45 (0.0177) 9 3.40 (0.1339)
    4 2.40 (0.0945) 10 3.60 (0.1417)
    5 2.60 (0.1024) 11 3.80 (0.1496)
    6 2.80 (0.1102) 12 4.00 (0.1575)
    7 3.00 (0.1181) 13 0.55 (0.0216)
  16. SELECT ADJUSTING SHIM (OUTPUT SHAFT TAPER ROLLER BEARING) 
    1. Using a steel straightedge and feeler gauge, measure the clearance of dimension "C".
      Fig 18: Measuring Clearance Of Dimension "C"
      G04063119Courtesy of © TOYOTA, LICENSE AGREEMENT TMS1002
    2. Lightly hold down the bearing outer race in the thrust direction to eliminate any looseness before making the measurement.
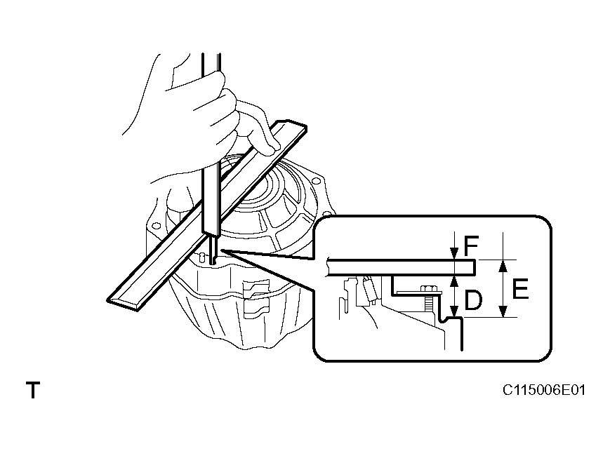
    3. Using a steel straightedge and vernier caliper with depth gauge, measure dimension "D".
      Fig 19: Measuring Dimension "D"
      G04063120Courtesy of © TOYOTA, LICENSE AGREEMENT TMS1002
    4. Dimension "D" is the straightedge thickness (Dimension "F") subtracted from dimension "E" in the illustration.

      Dimension "D": Dimension "E" - Dimension "F" 

    5. Using a steel straightedge and vernier caliper with depth gauge, measure dimension "G".
    6. Dimension "G" is the straightedge thickness (Dimension "F") subtracted from Dimension "H".
      Fig 20: Measuring Dimension "G"
      G04063121Courtesy of © TOYOTA, LICENSE AGREEMENT TMS1002

      Dimension "G": Dimension "H" - Dimension "F" 

    7. Calculate the require thickness of the adjusting shim.

      Thickness: Dimension "G" - (Dimension "D" - Dimension "C") + (0.014 to 0.039 mm, (0.0006 to 0.0015 in.)) 

    8. From the following table, select a shim so that its thickness is within the range of the calculation.

    Standard snap ring thickness 

    STANDARD SNAP RING THICKNESS SPECIFICATION

    Mark Thickness mm (in.) Mark Thickness mm (in.)
    B 0.30 (0.0118) H 1.80 (0.0709)
    C 0.45 (0.0177) J 2.00 (0.0787)
    D 1.00 (0.0394) K 2.20 (0.0866)
    E 1.020 (0.0472) L 2.40 (0.0945)
    F 1.40 (0.0551) M 2.60 (0.1024)
    G 1.60 (0.0630) N 0.56 (0.0216)
  17. INSTALL REAR TRANSFER EXTENSION HOUSING SUB-ASSEMBLY 
    1. Apply FIPG to the extension housing.
      Fig 21: Applying FIPG To Extension Housing
      G04063122Courtesy of © TOYOTA, LICENSE AGREEMENT TMS1002

      FIPG: Part No. 08826-00090, THREE BOND 1281 or equivalent 

    2. Install the extension housing with the 9 bolts.
    Fig 22: Identifying Extension Housing
    G04063123Courtesy of © TOYOTA, LICENSE AGREEMENT TMS1002

    Torque: 37 N*m (380 kgf*cm, 27 ft.*lbf) 

  18. ASSEMBLE NO. 2 SHIFT FORK SHAFT AND NO. 2 SHIFT FORK 
    1. Install the No. 2 shift fork to the No. 2 shift fork shaft.
    2. Install the 3 snap rings to the No. 2 shift fork shaft.
  19. INSTALL CLUTCH SLEEVE WITH NO. 2 SHIFT FORK SHAFT AND NO. 2 SIFT FORK 

    HINT:

    Make sure to install the clutch sleeve in the correct direction.

    Fig 23: Identifying No 2 Shift Fork To No 2 Shift Fork Shaft
    G04063124Courtesy of © TOYOTA, LICENSE AGREEMENT TMS1002
  20. INSTALL FRONT TRANSFER EXTENSION HOUSING SUB-ASSEMBLY 
    1. Apply FIPG to the extension housing.
      Fig 24: Applying FIPG To Extension Housing
      G04063125Courtesy of © TOYOTA, LICENSE AGREEMENT TMS1002

      FIPG: Part No. 08826-00090, THREE BOND 1281 or equivalent 

    2. Install the extension housing with the 6 bolts.
    Fig 25: Identifying Extension Housing
    G04063126Courtesy of © TOYOTA, LICENSE AGREEMENT TMS1002

    Torque: 37 N*m (380 kgf*cm, 27 ft.*lbf) 

    HINT:

    Set the clutch sleeve in differential lock condition.

  21. INSTALL TRANSFER INDICATOR SWITCH 
    1. Install the 3 indicator switches with 3 new gaskets.

    Torque: 37 N*m (380 kgf*cm, 27 ft.*lbf) 

  22. INSTALL BALL 
  23. INSTALL SPRING 
  24. INSTALL SCREW PLUG 
    1. Apply liquid sealer to the screw plug threads.

      Sealant: Part No. 08833-00080, THREE BOND 1344, LOCTITE 242 or equivalent 

    2. Using a T40 "torx" socket, install the screw plug.
    Fig 26: Identifying Screw Plug
    G04063127Courtesy of © TOYOTA, LICENSE AGREEMENT TMS1002

    Torque: 19 N*m (190 kgf*cm, 14 ft.*lbf) 

  25. INSTALL OUTPUT GEAR 
    1. Apply gear oil to the output gear.
    2. Install the output gear to the front case.
    Fig 27: Identifying Output Gear
    G04063128Courtesy of © TOYOTA, LICENSE AGREEMENT TMS1002
    NOTE: Do not turn the output gear.
  26. INSTALL MOTOR ACTUATOR 
    1. Apply FIPG to the motor actuator.
      Fig 28: Applying FIPG To Motor Actuator
      G04063129Courtesy of © TOYOTA, LICENSE AGREEMENT TMS1002

      FIPG: Part No. 08826-00090, THREE BOND 1281 or equivalent 

      HINT:

      Set the motor actuator in differential lock condition.

      Fig 29: Identifying Motor Actuator
      G04063130Courtesy of © TOYOTA, LICENSE AGREEMENT TMS1002
    2. Install the motor actuator with the 4 bolts.
    Fig 30: Identifying Vehicle Speed Sensor Driven Gear
    G04063131Courtesy of © TOYOTA, LICENSE AGREEMENT TMS1002

    Torque: 18 N*m (185 kgf*cm, 13 ft.*lbf) 

  27. INSTALL VEHICLE SPEED SENSOR DRIVEN GEAR 
    1. Install the driven gear with the bolt.

    Torque: 11 N*m (115 kgf*cm, 8 ft.*lbf) 

  28. INSTALL BREATHER HOSE