LEMON Manuals: Even more car manuals for everyone: 1960-2025
Home >> Lexus >> 2006 >> RX 330 AWD >> Repair and Diagnosis >> Accessories & Equipment >> Entertainment Systems >> Audio / Visual >> Audio And Visual System >> Multi-display Controller Power Source Circuit >> Wiring Diagram
April 5, 2026: LEMON Manuals is launched! Read the announcement.

Multi-display Controller Power Source Circuit: Wiring Diagram

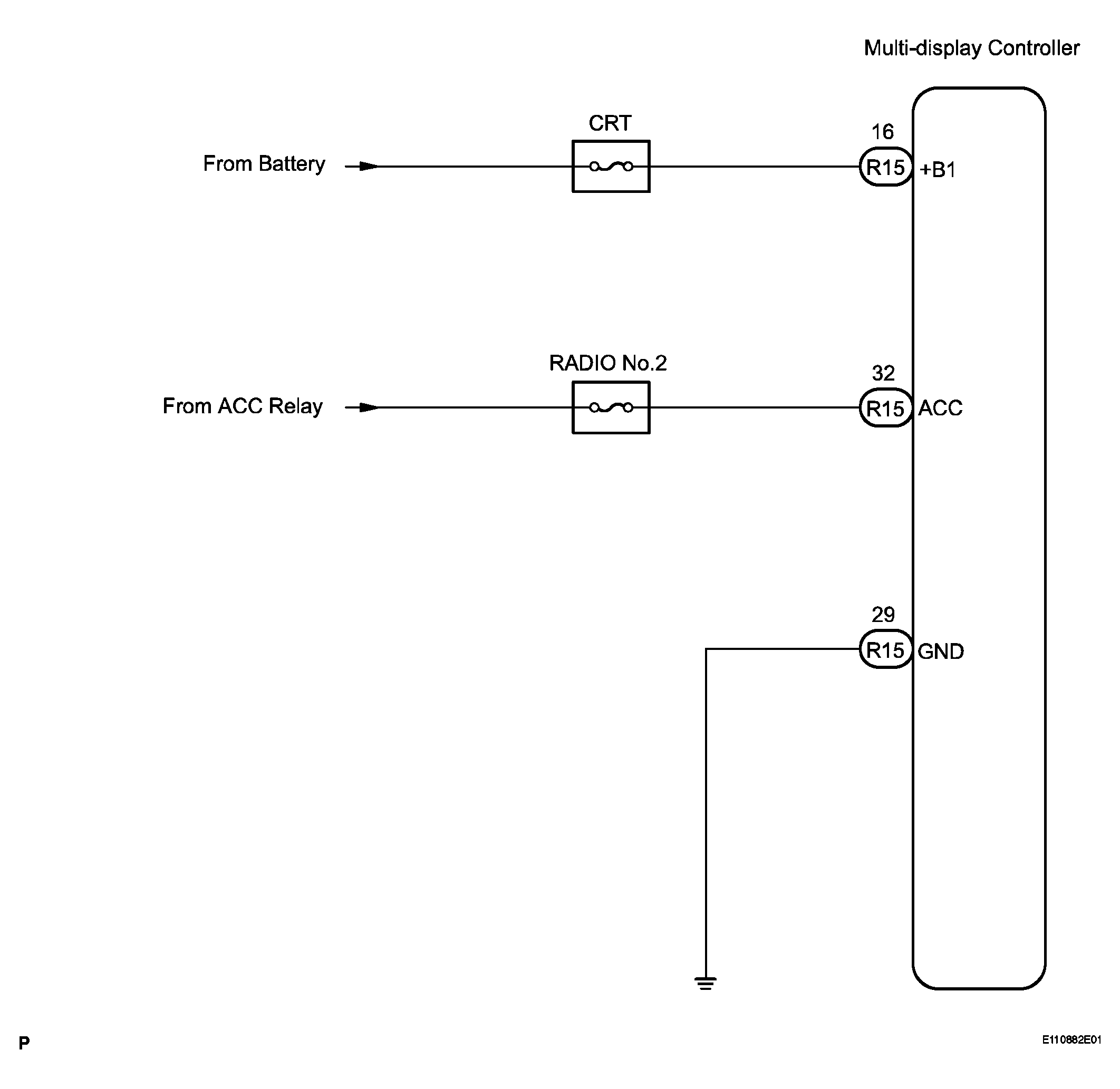
Fig 1: Multi-Display Controller Power Source Circuit Wiring Diagram
G04092649Courtesy of © TOYOTA, LICENSE AGREEMENT TMS1002
  1. INSPECT MULTI-DISPLAY CONTROLLER 
    1. Disconnect the multi-display controller R15 connector.
    2. Measure the resistance according to the value in the table below.

      Standard resistance 

      RESISTANCE SPECIFIED CONDITION

      Tester Connection Condition Specified Condition
      GND - Body ground Always Below 1 Ω
    3. Measure the voltage according to the value(s) in the table below.

    Standard voltage 

    VOLTAGE SPECIFIED CONDITION

    Tester Connection Condition Specified Condition
    +B1 - GND Always 10 to 14 V
    ACC - GND Ignition SW ACC 10 to 14 V
    Fig 2: Disconnecting Multi-Display Controller R15 Connector
    G04092650Courtesy of © TOYOTA, LICENSE AGREEMENT TMS1002

    NG: REPAIR OR REPLACE HARNESS OR CONNECTOR 

    OK: RETURN TO THE ORIGINAL INSPECTION FLOW BECAUSE THE CHECK RESULT IS NORMAL