LEMON Manuals: Even more car manuals for everyone: 1960-2025
Home >> Lexus >> 2006 >> RX 330 AWD >> Repair and Diagnosis >> Accessories & Equipment >> Entertainment Systems >> Audio / Visual >> Audio And Visual System >> Radio Receiver Communication Error
April 5, 2026: LEMON Manuals is launched! Read the announcement.

Radio Receiver Communication Error

  1. IDENTIFY THE COMPONENT SHOWN BY THE SUB-CODE 
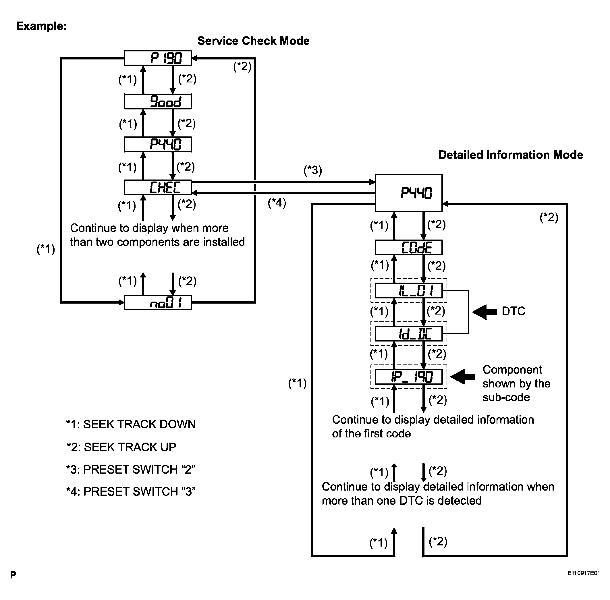
    1. Enter the diagnostic mode.
      Fig 1: Radio Receiver Communication Error Diagnostic Mode Flow Chart
      G04092635Courtesy of © TOYOTA, LICENSE AGREEMENT TMS1002
    2. Press the preset switch "3" to change to "Detailed Information Mode".
    3. Identify the component shown by the sub-code.

    HINT:

    • "190 (radio receiver)" is the component shown by the sub-code in the example shown in the illustration.
    • For details of the DTC display, refer to the "DTC CHECK/CLEAR " .
  2. CHECK POWER SOURCE CIRCUIT OF COMPONENT SHOWN BY SUB-CODE 
    1. Inspect the power source circuit of the component shown by the sub-code.

      If the power source circuit is operating normally, proceed to the next step.

    Component Table 

    COMPONENT REFERENCE TABLE

    Component Proceed to
    Stereo component amplifier (440) STEREO COMPONENT AMPLIFIER POWER SOURCE CIRCUIT 
    Multi-display controller (1F6) MULTI-DISPLAY CONTROLLER POWER SOURCE CIRCUIT 
  3. INSPECT RADIO RECEIVER 
    1. Disconnect the radio receiver connector.
    2. Measure the resistance according to the value(s) in the table below.

    Resistance 

    RESISTANCE SPECIFIED CONDITION

    Tester Connection Condition Specified Condition
    ATX+(R2-5) - ATX-(R2-15) Always 60 to 80 Ω
    TX+(R3-9) - TX-(R3-10) Always 60 to 80 Ω
    TX+(R4-9) - TX-(R4-10) Always 60 to 80 Ω
    Fig 2: Identifying Radio Receiver Connector Terminals
    G04092636Courtesy of © TOYOTA, LICENSE AGREEMENT TMS1002

    NG: REPLACE RADIO RECEIVER 

    OK: Go to next step 

  4. CHECK HARNESS AND CONNECTOR (RADIO RECEIVER - COMPONENT SHOWN BY SUB-CODE) 

    HINT:

    • Start the check from the circuit that is near the component shown by the sub-code first.
    • For details of the connectors, refer to the "TERMINALS OF ECU " .
    1. Referring to the AVC-LAN wiring diagram below, check the AVC-LAN circuit between the radio receiver and the component shown by the sub-code.
      1. Check for an open or short in the AVC-LAN circuit between the radio receiver and the component shown by the sub-code.

        OK: There is no open or short circuit. 

    Fig 3: AVC-LAN Wiring Diagram
    G04092637Courtesy of © TOYOTA, LICENSE AGREEMENT TMS1002

    NG: REPAIR OR REPLACE HARNESS OR CONNECTOR 

    OK: Go to next step 

  5. REPLACE COMPONENT SHOWN BY SUB-CODE 
    1. Replace the component shown by the sub-code with a normal one and check if the same problem occurs again.

      OK: Same problem does not occur. 

    NG: REPLACE RADIO RECEIVER 

    OK: END