LEMON Manuals: Even more car manuals for everyone: 1960-2025
Home >> Lexus >> 2006 >> RX 330 AWD >> Repair and Diagnosis >> Accessories & Equipment >> Entertainment Systems >> Audio / Visual >> Multi-Display Controller >> Removal
April 5, 2026: LEMON Manuals is launched! Read the announcement.

Multi-Display Controller: Removal

  1. DISCONNECT CABLE FROM NEGATIVE BATTERY TERMINAL 
  2. REMOVE REAR DOOR SCUFF PLATE RH (See  REMOVAL  ) 
  3. REMOVE DECK BOARD SUB-ASSEMBLY (See  REMOVAL  ) 
  4. REMOVE TONNEAU COVER ASSEMBLY 
  5. REMOVE JACK CARRIER SUPPORT 
  6. REMOVE JACK ASSEMBLY 
  7. REMOVE JACK CARRIER ASSEMBLY 
  8. REMOVE DECK FLOOR BOX FRONT (See  REMOVAL  ) 
  9. REMOVE DECK FLOOR BOX REAR (See  REMOVAL  ) 
  10. REMOVE DECK NO. 2 BOARD SUB-ASSEMBLY (See  REMOVAL  ) 
  11. REMOVE DECK NO. 3 BOARD SUB-ASSEMBLY (See  REMOVAL  ) 
  12. REMOVE BACK DOOR WEATHERSTRIP 
  13. REMOVE DECK SIDE TRIM BOX LH (See  REMOVAL  ) 
  14. REMOVE DECK SIDE TRIM BOX RH 
  15. REMOVE REAR FLOOR FINISH PLATE (See  REMOVAL  ) 
  16. REMOVE REAR FLOOR FINISH SIDE PLATE RH 
  17. REMOVE DECK SIDE TRIM COVER RH (See  REMOVAL  ) 
  18. SEPARATE REAR NO. 1 SEAT BELT ASSEMBLY OUTER RH (See  REMOVAL  ) 
  19. REMOVE REAR SEAT SIDE COVER RH (See  REMOVAL  ) 
  20. REMOVE ROPE HOOK (See  REMOVAL  ) 
  21. REMOVE DECK TRIM SIDE PANEL ASSEMBLY RH (See  REMOVAL  ) 
  22. REMOVE NO. 2 ROOM LIGHT ASSEMBLY (See  REMOVAL  ) 
  23. REMOVE NO. 1 TONNEAU COVER HOLDER CAP 
  24. REMOVE ROOF SIDE GARNISH ASSEMBLY INNER RH (See  REMOVAL  ) 
  25. REMOVE TELEVISION CAMERA ECU (w/ Rear View Monitor) 
  26. REMOVE MULTI-DISPLAY CONTROLLER 
    1. Disconnect the 6 connectors.
    2. Remove the 3 nuts and the multi-display controller.
      Fig 1: Locating Nuts On Multi-Display Controller
      G04092777Courtesy of © TOYOTA, LICENSE AGREEMENT TMS1002
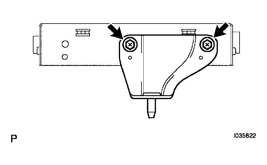
    3. Remove the 2 screws and the television display bracket A.
      Fig 2: Locating Screws On Television Display Bracket A
      G04092778Courtesy of © TOYOTA, LICENSE AGREEMENT TMS1002
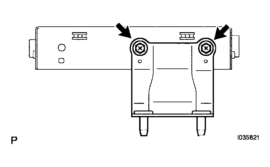
    4. Remove the 2 screws and the television display bracket B.
    Fig 3: Locating Screws And Television Display Bracket B
    G04092779Courtesy of © TOYOTA, LICENSE AGREEMENT TMS1002