LEMON Manuals: Even more car manuals for everyone: 1960-2025
Home >> Lexus >> 2006 >> RX 330 AWD >> Repair and Diagnosis >> Brakes >> Brakes Control Systems >> Brake Control >> Vehicle Stability Control System >> DTC Check / Clear
April 5, 2026: LEMON Manuals is launched! Read the announcement.

DTC Check / Clear

  1. DTC CHECK/CLEAR (WHEN USING INTELLIGENT TESTER): 
    1. DTC check
      1. Connect the intelligent tester to the DLC3.
      2. Turn the ignition switch on.
      3. Read the DTCs following the prompts on the tester screen.
    2. DTC clear
      1. Connect the intelligent tester to the DLC3.
      2. Turn the ignition switch on.
      3. Operate the intelligent tester to clear the codes.
      Fig 1: Connecting Intelligent Tester To DLC3
      G04090548Courtesy of TOYOTA MOTOR SALES, U.S.A., INC.

      HINT:

      Refer to the intelligent tester operator's manual for further details.

  2. DTC CHECK/CLEAR (WHEN USING SST CHECK WIRE): 
    1. DTC check
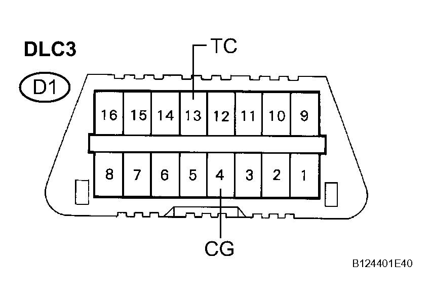
      1. Using SST, connect terminals TC and CG of the DLC3.

        SST 09843-18040 

      2. Turn the ignition switch on.
      3. Read DTC from the ABS and VSC control warning lights on the combination meter.
        Fig 2: Identifying DLC3 Connector Terminals
        G04090549Courtesy of TOYOTA MOTOR SALES, U.S.A., INC.
        Fig 3: Identifying Blinking Pattern
        G04090550Courtesy of TOYOTA MOTOR SALES, U.S.A., INC.

        HINT:

        • If no code appears, inspect the TC and CG terminal circuit, and ABS and VSC warning light circuits.
          TROUBLE AREA REFERENCE

          Trouble Area See procedure
          TC and CG terminal circuit TC AND CG TERMINAL CIRCUIT 
          ABS warning light circuit ABS WARNING LIGHT CIRCUIT 
          VSC warning light circuit VSC WARNING LIGHT CIRCUIT 
        • As an example, the illustration below shows the blinking patterns of the normal system code and trouble codes 31 and 43, and display of the normal system code.
      4. Codes are explained in the code table (See DIAGNOSTIC TROUBLE CODE CHART  ).
      5. After completing the check, disconnect terminals TC and CG of the DLC3, and turn off the display. If 2 or more DTCs are detected at the same time, the DTCs will be displayed in ascending order.
    2. DTC clear
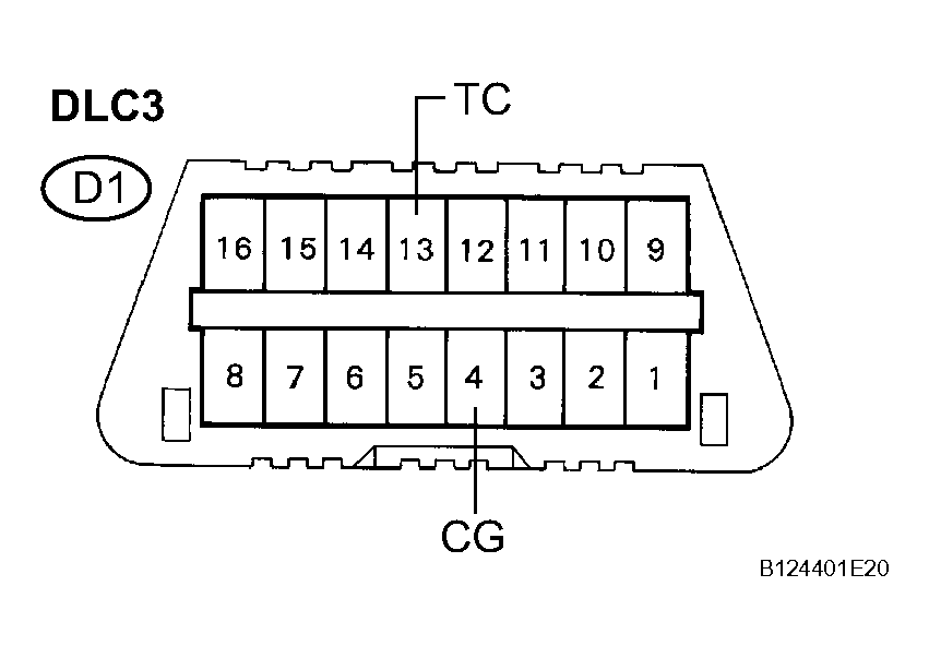
      1. Using SST, connect terminals TC and CG of the DLC3.

        SST 09843-18040 

      2. Turn the ignition switch on.
        Fig 4: Identifying DLC3 Connector Terminals
        G04090551Courtesy of TOYOTA MOTOR SALES, U.S.A., INC.
      3. Clear the DTCs stored in the ECU by depressing the brake pedal 8 times or more within 5 seconds.
      4. Check that the ABS warning and brake control lights and multi information display indicate the normal system code.
      5. Remove the SST from the terminals of the DLC3.

        HINT:

        Clearing the DTCs cannot be performed by removing the battery cable or the ECU-IG NO.1 fuse.

  3. END OF DTC CHECK/CLEAR (WHEN USING SST CHECK WIRE): 
    1. Turn the ignition switch on.
    2. Check that the ABS and brake control warning lights go off within approximately 3 seconds.
    Fig 5: Checking ABS And Brake Control Warning Lights
    G04090552Courtesy of TOYOTA MOTOR SALES, U.S.A., INC.