LEMON Manuals: Even more car manuals for everyone: 1960-2025
Home >> Lexus >> 2006 >> RX 330 AWD >> Repair and Diagnosis >> Engine Performance >> Engine Control System (3MZ-FE) >> SFI System >> MIL Circuit >> Inspection Procedure
April 5, 2026: LEMON Manuals is launched! Read the announcement.

Inspection Procedure

  1. CLEAR DTC 
    1. Connect the intelligent tester or OBD II scan tool to the DLC3.
    2. Turn the ignition switch ON and push the intelligent tester or the OBD II scan tool main switch ON.
    3. Read the DTC.
    4. Clear the DTC (See DTC CHECK / CLEAR  ).
    5. Check that the MIL is not illuminated.

    OK : 

    MIL is not illuminated. 

    OK : REPAIR CIRCUIT INDICATED BY OUTPUT DTC 

    NG : Go to next step 

  2. CHECK HARNESS AND CONNECTOR (CHECK FOR SHORT IN WIRE HARNESS) 
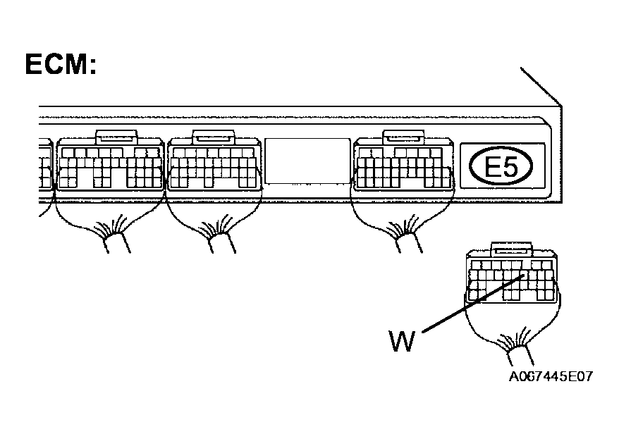
    1. Disconnect the E5 ECM connector.
    2. Turn the ignition switch ON.
    3. Check that the MIL is not illuminated.

    OK : 

    MIL is not illuminated. 

    Fig 1: Checking Harness And Connector (Check For Short In Wire Harness)
    G04087485Courtesy of © TOYOTA, LICENSE AGREEMENT TMS1002

    OK : REPLACE ECM 

    NG : CHECK AND REPAIR HARNESS AND CONNECTOR (COMBINATION METER - ECM) 

  3. CHECK THAT MIL IS ILLUMINATED 
    1. Check that the MIL is illuminated when turning the engine switch ON.

    Standard: 

    MIL is illuminated. 

    OK : SYSTEM OK 

    NG : Go to next step 

  4. INSPECT COMBINATION METER (MIL CIRCUIT) 
    1. See the combination meter troubleshooting (See HOW TO PROCEED WITH TROUBLESHOOTING ).

    NG : REPAIR OR REPLACE BULB OR COMBINATION METER 

    OK : CHECK AND REPLACE HARNESS AND CONNECTOR (COMBINATION METER - ECM)