LEMON Manuals: Even more car manuals for everyone: 1960-2025
Home >> Lexus >> 2006 >> RX 330 AWD >> Repair and Diagnosis >> External Pages >> Different car >> Section 15 (Navigation System - Diagnostics) >> Television Display Assembly Communication Error >> Inspection Procedure
April 5, 2026: LEMON Manuals is launched! Read the announcement.

Inspection Procedure

WARNING: This page is about a different car, the 2006 Toyota 4Runner. However, it is still accessible from the selected car via links, so may be relevant.
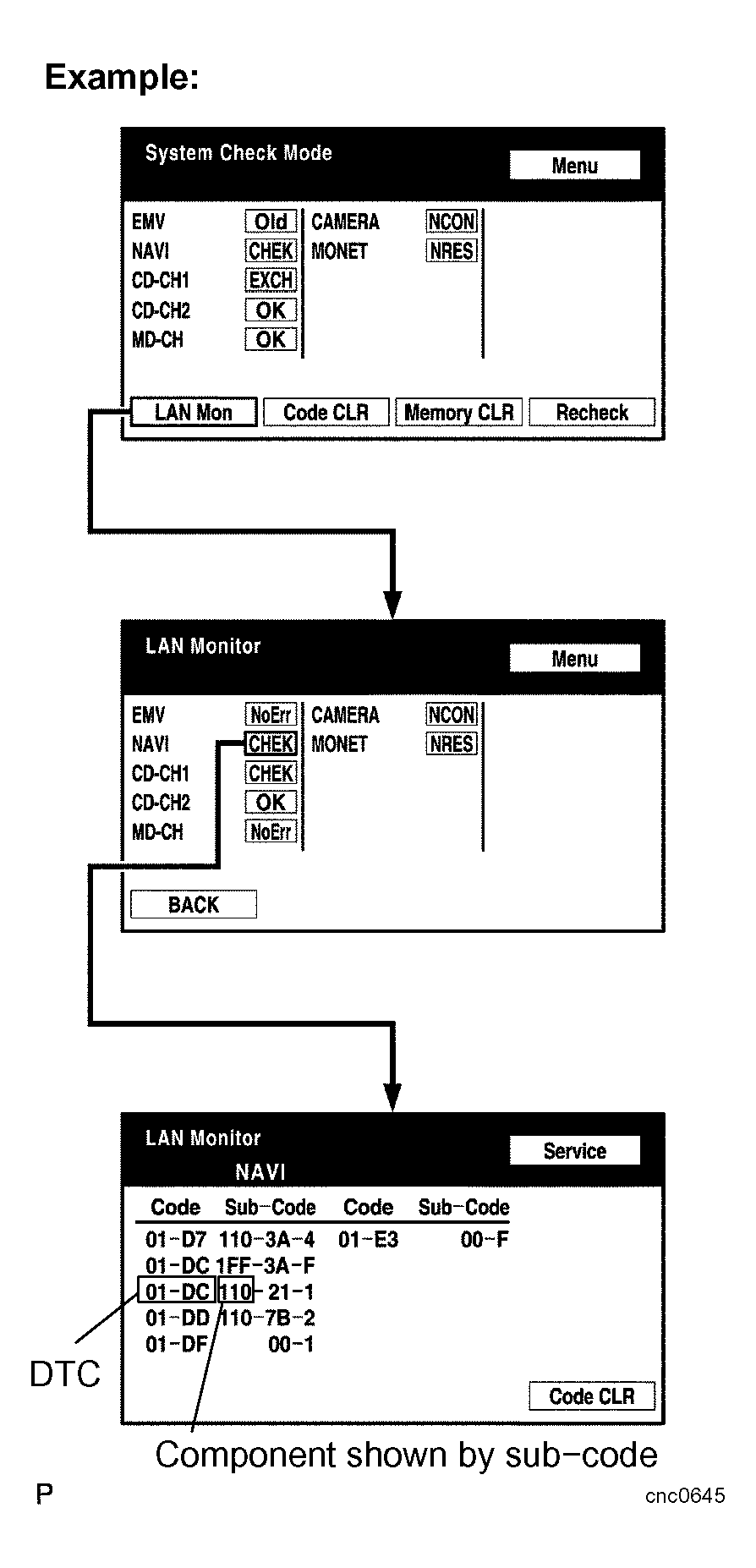
  1. IDENTIFY THE COMPONENT SHOWN BY THE SUB-CODE 
    1. Enter the diagnostic mode.
    2. Press the "LAN Mon" switch to change to "LAN Monitor" mode.
    3. Identify the component shown by the sub-code.

    HINT:

    • "110 (multi-display)" is the component shown by the sub-code in the example shown in Fig 1.
    • The sub-code will be indicated by its physical address.
    • For the component list, refer to DIAGNOSIS DISPLAY DETAILED DESCRIPTION  .
      Fig 1: Pressing "LAN MON" Switch To Change To "LAN MONITOR" Mode
      G04337969Courtesy of © TOYOTA, LICENSE AGREEMENT TMS1002
  2. CHECK POWER SOURCE CIRCUIT OF COMPONENT SHOWN BY SUB-CODE 
    1. Inspect the power source circuit of the component shown by the sub-code.

      If the power source circuit is operating normally, proceed to the next step.

      Component Table: 

      COMPONENT TABLE

      Component Proceed to
      Radio and navigation assembly (I40) Radio and navigation assembly power source circuit (see RADIO AND NAVIGATION ASSEMBLY POWER SOURCE CIRCUIT  )
      Stereo component amplifier (440) Stereo component amplifier power source circuit (see STEREO COMPONENT AMPLIFIER POWER SOURCE CIRCUIT  )
  3. CHECK RADIO AND NAVIGATION ASSEMBLY 
    1. Disconnect the radio and navigation assembly connectors.
    2. Measure the resistance according to the value(s) in TESTER CONNECTION SPECIFIED CONDITION .

      Standard: 

      TESTER CONNECTION SPECIFIED CONDITION

      Tester Connection Condition Specified Condition
      ATX+ (R12-5) - ATX- (R12-15) Always 60 to 80
      TXM+ (R11-9) - TXM- (R11-10) Always 60 to 80
      Fig 2: Disconnecting Radio & Navigation Assembly Connectors
      G04337970Courtesy of © TOYOTA, LICENSE AGREEMENT TMS1002

    NG: REPLACE RADIO AND NAVIGATION ASSEMBLY 

    OK: GO TO NEXT STEP. 

  4. CHECK HARNESS AND CONNECTOR (TELEVISION DISPLAY ASSEMBLY - COMPONENT SHOWN BY SUB-CODE) 

    HINT:

    • Start the check from the circuit that is near the component shown by the sub-code first.
    • For details of the connectors, refer to TERMINALS OF ECU  .
    1. Referring to Fig 3 below, check the AVC-LAN circuit between the television display assembly and the component shown by the sub-code.
      1. Check for an open or short in the AVC-LAN circuit between the television display assembly and the component shown by the sub-code.

        OK: 

        There is no open or short circuit. 

        Fig 3: AVC-LAN Wiring Diagram
        G04337971Courtesy of © TOYOTA, LICENSE AGREEMENT TMS1002

    NG: REPAIR OR REPLACE HARNESS OR CONNECTOR 

    OK: GO TO NEXT STEP. 

  5. REPLACE COMPONENT SHOWN BY SUB-CODE 
    1. Replace the component shown by the sub-code with a normal one and check if the same problem occurs again.

      OK: 

      Same problem does not occur. 

    NG: REPLACE TELEVISION DISPLAY ASSEMBLY 

    OK: END