LEMON Manuals: Even more car manuals for everyone: 1960-2025
Home >> Lexus >> 2006 >> RX 330 AWD >> Repair and Diagnosis >> External Pages >> Different car >> Section 49 (Audio/Visual System) >> Power Point Socket ASSY >> Replacement
April 5, 2026: LEMON Manuals is launched! Read the announcement.

Power Point Socket ASSY: Replacement

WARNING: This page is about a different car, the 2006 Toyota 4Runner. However, it is still accessible from the selected car via links, so may be relevant.

HINT:

See COMPONENTS 

  1. REMOVE CONSOLE UPPER REAR PANEL SUB-ASSY (See  REPLACEMENT  ) 
  2. REMOVE POWER POINT SOCKET ASSY 
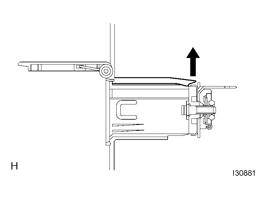
    1. Pressing the claw of the power point socket assy in the direction of the arrow, push the power point socket assy toward the inside of the chamber and remove it.
      Fig 1: Pressing Claw Of Power Point Socket Assy
      G04332067Courtesy of © TOYOTA, LICENSE AGREEMENT TMS1002
  3. INSTALL POWER POINT SOCKET ASSY 
    1. Align the claw of the power point socket assy with the cutout of the power point socket cover and fully push it to install.