LEMON Manuals: Even more car manuals for everyone: 1960-2025
Home >> Lexus >> 2006 >> RX 330 FWD >> Repair and Diagnosis >> Body & Frame >> Windows >> Windshield / WINDOWGLASS >> Windshield Glass >> Installation
April 5, 2026: LEMON Manuals is launched! Read the announcement.

Windshield Glass: Installation

  1. INSTALL WINDSHIELD GLASS NO.1 STOPPER 
    1. Install 2 new stoppers to the vehicle body, as shown in the illustration.
    Fig 1: Installing Windshield Glass No.1 Stopper
    G04093209Courtesy of © TOYOTA, LICENSE AGREEMENT TMS1002
  2. INSTALL WINDSHIELD GLASS NO. 2 STOPPER 
    1. Coat the installation part of the stopper with Primer G.
      NOTE:
      • Allow the primer coating to dry for 3 minutes or more.
      • Do not keep any of the opened Primer G for later use.
      • Do not apply too much primer.
    2. Install 2 new windshield glass stoppers onto the glass, as shown in the illustration.

    Standard dimension 

    STANDARD DIMENSION

    Area Dimension
    A 40.0 mm (1.575 in.)
    B 9.0 mm (0.354 in.)
    C 15.0 mm (0.591 in.)
    Fig 2: Installing Windshield Glass No.2 Stopper
    G04093210Courtesy of © TOYOTA, LICENSE AGREEMENT TMS1002
  3. INSTALL WINDSHIELD GLASS RETAINER 
    1. Install a new windshield glass retainer to the glass, as shown in the illustration.
    Fig 3: Installing Windshield Glass Retainer
    G04093211Courtesy of © TOYOTA, LICENSE AGREEMENT TMS1002
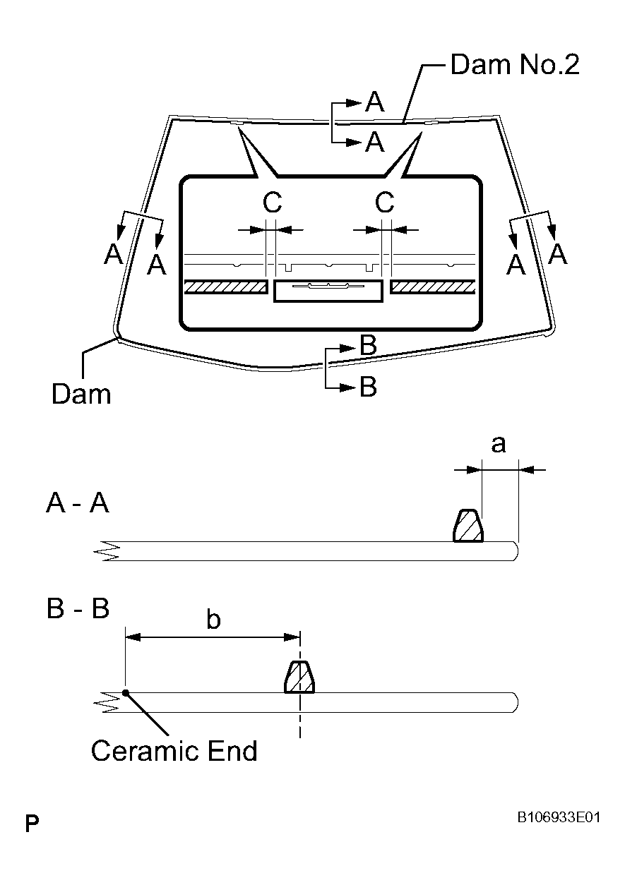
  4. INSTALL WINDOW GLASS ADHESIVE DAM 
    1. Coat the installation part of the dam with Primer G.
      NOTE:
      • Allow the primer coating to dry for 3 minutes or more.
      • Do not apply too much primer.
    2. Install a new dam, applying double-sided tape all the way around the glass except where the dam is installed, as shown in the illustration.

    Standard dimension 

    STANDARD DIMENSION

    Area Dimension
    a 9.5 mm (0.374 in.)
    b 50.0 mm (1.969 in.)
    c 8.0 mm (0.315 in.)
    Fig 4: Installing Window Glass Adhesive Dam
    G04093212Courtesy of © TOYOTA, LICENSE AGREEMENT TMS1002
  5. INSTALL WINDOW GLASS NO.2 ADHESIVE DAM 
  6. INSTALL WINDSHIELD GLASS 
    1. Clean and shape the contact surface of the vehicle body.
      1. Using a knife, cut away any rough adhesive on the contact surface of the vehicle body to ensure the appropriate surface shape.
        NOTE: Be careful not to damage the vehicle body.

        HINT:

        Leave as much adhesive on the vehicle body as possible.

      2. Clean the contact surface of the vehicle body with a piece of shop rag saturated with cleaner.

        HINT:

        Even if all the adhesive has been removed, clean the vehicle body.

      Fig 5: Cleaning And Shaping Adhesive
      G04093213Courtesy of © TOYOTA, LICENSE AGREEMENT TMS1002
    2. Position the glass.
      1. Using a suction cup, place the glass in the correct position.
      2. Check that the whole contact surface of the glass rim is perfectly even.
      3. Place reference marks between the glass and vehicle body.
        NOTE: Check that the stoppers are attached to the vehicle body correctly.

        HINT:

        When reusing the glass, check and correct the reference mark positions.

      4. Remove the glass.
      Fig 6: Positioning Glass
      G04093214Courtesy of © TOYOTA, LICENSE AGREEMENT TMS1002
    3. Using a brush, coat the exposed part of the vehicle body on the vehicle side with Primer M.
      NOTE:
      • Allow the primer coating to dry for 3 minutes or more.
      • Do not coat the adhesive with Primer M.
      • Do not keep any of the opened Primer M for later use.
      Fig 7: Coating Exposed Part Of Vehicle Body On Vehicle Side With Primer M
      G04093215Courtesy of © TOYOTA, LICENSE AGREEMENT TMS1002
    4. Using a brush or sponge, coat the edge of the glass and the contact surface with Primer G.
      NOTE:
      • Allow the primer coating to dry for 3 minutes or more.
      • Do not keep any of the opened Primer G for later use.

      HINT:

      If an area other than that specified is coated by accident, wipe off the primer with a clean shop rag before it dries.

      Fig 8: Coating Edge Of Glass And Contact Surface With Primer G
      G04093216Courtesy of © TOYOTA, LICENSE AGREEMENT TMS1002
    5. Apply adhesive (Adhesive: Part No. 08850-00801 or equivalent).
      1. Cut off the tip of the cartridge nozzle, as shown in the illustration.

        HINT:

        After cutting off the tip, use all adhesive within the time described in the table below.

        Tackfree time 

        TACKFREE TIME

        Temperature Tackfree Time
        35°C (95°) 15 minutes
        20°C (68°) 1 hour 40 minutes
        5°C (41°) 8 hours
      2. Load the sealer gun with the cartridge.
      3. Coat the glass with adhesive, as shown in the illustration.

      Standard dimension 

      STANDARD DIMENSION

      Area Dimension
      a 8.0 mm (0.315 in.)
      b 12.0 mm (0.472 in.)
      Fig 9: Coating Glass With Adhesive
      G04093217Courtesy of © TOYOTA, LICENSE AGREEMENT TMS1002
    6. Install the glass.
      1. Using a suction cup, position the glass so that the reference marks are aligned, and press it in gently along the rim.
        NOTE:
        • Allow the primer coating to dry for 3 minutes or more.
        • Check that the stoppers are attached to the vehicle body correctly.
        • Check the clearance between the vehicle body and glass.
      2. Lightly press the front surface of the glass to ensure a close fit.
      3. Using a scraper, remove any excess or protruding adhesive.
      NOTE: Take care not to drive the vehicle for the time described in the table below. Minimum time
      Fig 10: Positioning Glass
      G04093218Courtesy of © TOYOTA, LICENSE AGREEMENT TMS1002
      TIME REFERENCE

      Temperature Minimum time prior to driving vehicle
      35°C (95°) 1 hour 30 minutes
      20°C (68°) 5 hours
      5°C (41°) 24 hours

      HINT:

      Apply adhesive onto the glass rim.

    Fig 11: Removing Excess Or Protruding Adhesive
    G04093219Courtesy of © TOYOTA, LICENSE AGREEMENT TMS1002
  7. INSTALL WINDSHIELD MOULDING OUTSIDE 
    1. Using a brush or sponge, coat the edge of the glass and the contact surface with Primer G.
      NOTE:
      • Allow the primer coating to dry for 3 minutes or more.
      • Do not coat the adhesive with Primer G.
      • Do not keep any of the opened Primer G for later use.
    2. Install the windshield molding.
  8. CHECK FOR LEAKS AND REPAIR 
    1. Conduct a leak test after the adhesive has completely hardened.
    2. Seal any leaks with auto glass sealer.
  9. INSTALL RAIN SENSOR (w/Auto Wiper) (See  INSTALLATION  ) 
  10. INSTALL ROOF HEADLINING ASSEMBLY (See  INSTALLATION  ) 
  11. INSTALL ASSIST GRIP SUB-ASSEMBLY 
  12. INSTALL VISOR HOLDER 
  13. INSTALL VISOR ASSEMBLY LH 
  14. INSTALL VISOR ASSEMBLY RH 
  15. INSTALL MAP LIGHT ASSEMBLY 
  16. INSTALL FRONT PILLAR GARNISH LH 
  17. INSTALL FRONT PILLAR GARNISH RH 
  18. INSTALL FRONT DOOR OPENING TRIM WEATHERSTRIP LH 
  19. INSTALL FRONT DOOR OPENING TRIM WEATHERSTRIP RH 
  20. INSTALL INNER REAR VIEW MIRROR ASSEMBLY (See  INSTALLATION  ) 
  21. INSTALL COWL TOP VENTILATOR LOUVER SUB-ASSEMBLY 
  22. INSTALL FRONT FENDER TO COWL SIDE SEAL LH 
  23. INSTALL FRONT FENDER TO COWL SIDE SEAL RH 
  24. INSTALL FRONT WIPER ARM LH (See  INSTALLATION  ) 
  25. INSTALL FRONT WIPER ARM RH (See  INSTALLATION  ) 
  26. CONNECT CABLE TO NEGATIVE BATTERY TERMINAL 
  27. PERFORM INITIALIZATION 
    NOTE: Some systems need initialization when disconnecting the cable from the negative (-) battery terminal.