LEMON Manuals: Even more car manuals for everyone: 1960-2025
Home >> Lexus >> 2006 >> RX 330 FWD >> Repair and Diagnosis >> Engine Performance >> Engine Control System (3MZ-FE) >> SFI System >> Fuel Pump Control Circuit >> Inspection Procedure
April 5, 2026: LEMON Manuals is launched! Read the announcement.

Inspection Procedure

  1. PERFORM ACTIVE TEST BY INTELLIGENT TESTER (OPERATE C/OPN RELAY) 
    1. Connect the intelligent tester to the DLC3.
    2. Turn ON the ignition switch, push the intelligent tester or the OBD II scan tool main switch ON.
    3. Enter the following menus :DIAGNOSIS / ENHANCED OBD II / ACTIVE TEST / FUEL PUMP / SPD.
    4. Check the relay operation while operating it using the intelligent tester.

    Standard: 

    Operating noise can be heard from the relay. 

    OK : GO TO STEP   5 

    NG : Go to next step 

  2. INSPECT C/OPN RELAY 
    1. Remove the C/OPN relay from the R/B No. 1.
    2. Measure the resistance of the C/OPN relay.

    Standard resistance 

    C/OPN RELAY

    Tester Connection Specified Condition
    1 - 2 Below 1 Ω
    3 - 5 10 kΩ or higher
    3-5 Below 1 Ω (When battery voltage is applied to terminals 1 and 2)
    Fig 1: Identifying Relay Test Terminals
    G04044792Courtesy of © TOYOTA, LICENSE AGREEMENT TMS1002

    NG : REPLACE C/OPN RELAY 

    OK : Go to next step 

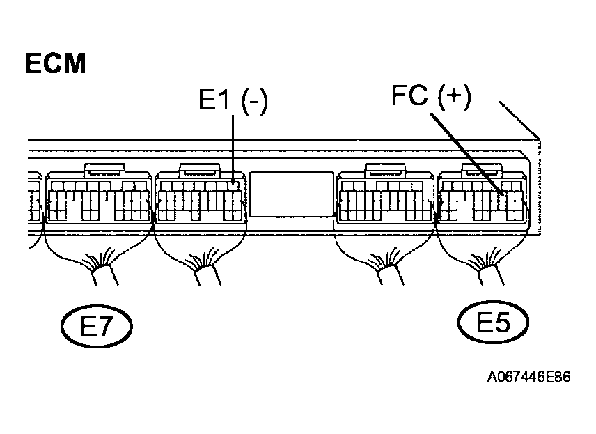
  3. INSPECT ECM (FC VOLTAGE) 
    1. Turn the ignition switch ON.
    2. Measure the voltage of the ECM connectors.

    Standard voltage 

    ECM (FC VOLTAGE)

    Tester Connection Specified Condition
    E5-10 (FC) - E7-1 (E1) 9 to 14 V
    Fig 2: Inspecting ECM (FC Voltage)
    G04087460Courtesy of © TOYOTA, LICENSE AGREEMENT TMS1002

    OK : REPLACE ECM 

    NG : Go to next step 

  4. CHECK HARNESS AND CONNECTOR (ECM - C/OPN RELAY, C/OPN RELAY - IGNITION) 
    1. Check the wire harness between the ECM and C/OPN relay.
      1. Disconnect the E5 ECM connector.
      2. Remove the C/OPN relay from the R/B No. 1.
      3. Measure the resistance of the wire harness side connectors.

      Standard resistance 

      ECM - C/OPN RELAY

      Terminal Connections Specified Condition
      E5-10 (FC) - 2 of C/OPN relay Below 1 Ω
      E5-10 (FC) or 2 of C/OPN relay - Body ground 10 kΩ or higher
    2. Check the wire harness between the C/OPN relay and ignition switch.
      1. Inspect the IGN fuse.
        • Remove the IGN fuse from the instrument panel J/B.
        • Check the resistance of the IGN fuse.

          Standard resistance: 

          Below 1 Ω 

        • Reinstall the IG2 fuse.
      2. Remove the C/OPN relay from the R/B No. 1.
      3. Disconnect the I14 ignition switch connector.
      4. Measure the resistance of the wire harness side connectors.

      Standard resistance 

      C/OPN RELAY - IGNITION

      Terminal Connections Specified Condition
      C/OPN relay terminal 1 - I14-6 Below 1 Ω
      C/OPN relay terminal 1 or I14-6 - Body ground 10 kΩ or higher
      Fig 3: Checking Harness And Connector (ECM - C/OPN, C/OPN Relay - Ignition)
      G04087461Courtesy of © TOYOTA, LICENSE AGREEMENT TMS1002
    3. Install the C/OPN relay.
    4. Reconnect the ECM connector and ignition switch connector.

    NG : REPAIR OR REPLACE HARNESS OR CONNECTOR 

    OK : REPLACE ECM 

  5. INSPECT FUEL PUMP 
    1. Measure the resistance of the fuel pump.
      1. Measure the resistance between terminals 4 and 5.

      Standard resistance 

      FUEL PUMP

      Terminal Connections Condition Specified Condition
      4-5 20°C (68°F) 0.2 to 0.3 Ω
      Fig 4: Inspecting Fuel Pump
      G04087462Courtesy of © TOYOTA, LICENSE AGREEMENT TMS1002
    2. Check operation of the fuel pump.
      1. Apply battery voltage to both terminals. Check that the pump operates.
        NOTE:
        • These tests must be done quickly (within 10 seconds) to prevent the coil from burning out.
        • Keep the fuel pump as far away from the battery as possible.
        • Always turn ON and OFF the voltage on the battery side, not the fuel pump side.

    NG : REPLACE FUEL PUMP 

    OK : Go to next step 

  6. CHECK HARNESS AND CONNECTOR (C/OPN RELAY - FUEL PUMP, FUEL PUMP - BODY GROUND) 
  1. Check the wire harness between the C/OPN relay and fuel pump.
    1. Remove the C/OPN relay from the R/B No. 1.
    2. Disconnect the F16 fuel pump connector.
    3. Measure the resistance of the wire harness side connectors.

    Standard resistance 

    C/OPN RELAY - FUEL PUMP

    Tester Connection Specified Condition
    C/OPN relay terminal 3 - F16-4 Below 1 Ω
    C/OPN relay terminal 3 or F16-4 - Body ground 10 kΩ or higher
  2. Check the wire harness between the fuel pump and body ground.
    1. Disconnect the F16 fuel pump connector.
    2. Measure the resistance of the wire harness side connector and body ground.

    Standard resistance 

    FUEL PUMP - BODY GROUND

    Tester Connection Specified Condition
    F16-5 (Fuel pump) - Body ground Below 1 Ω
    Fig 5: Checking Harness And Connector (C/OPN Relay - Fuel, Fuel Pump - Body)
    G04087463Courtesy of © TOYOTA, LICENSE AGREEMENT TMS1002

NG : REPAIR OR REPLACE HARNESS OR CONNECTOR 

OK : REPLACE ECM 

  1. CHECK FUEL PUMP OPERATION 
    1. Check if there is pressure in the fuel inlet hose.

    HINT:

    The pump has fuel pressure if the sound of fuel flowing can be heard.

    OK : PROCEED TO NEXT CIRCUIT INSPECTION SHOWN ON PROBLEM SYMPTOMS TABLE 

    NG : Go to next step 

  2. CHECK RELAY OPERATION (C/OPN) 
    1. Connect terminal FC of the E5 ECM connector and body ground, and check relay operation.

    Standard: 

    Noise can be heard from the C/OPN relay. 

    Fig 6: Checking Relay Operation (C/OPN)
    G04087464Courtesy of © TOYOTA, LICENSE AGREEMENT TMS1002

    OK : GO TO STEP   6 

    NG : Go to next step 

  3. INSPECT C/OPN RELAY 
    1. Remove the C/OPN relay from the R/B No. 1.
    2. Measure the resistance of the C/OPN relay.

    Standard resistance 

    C/OPN RELAY

    Tester Connection Specified Condition
    1 - 2 Below 1 Ω
    3 - 5 10 kΩ or higher
    3 - 5 Below 1 Ω (when battery voltage is applied to terminals 1 and 2)
    Fig 7: Identifying Relay Test Terminals
    G04044792Courtesy of © TOYOTA, LICENSE AGREEMENT TMS1002

    NG : REPLACE RELAY 

    OK : Go to next step 

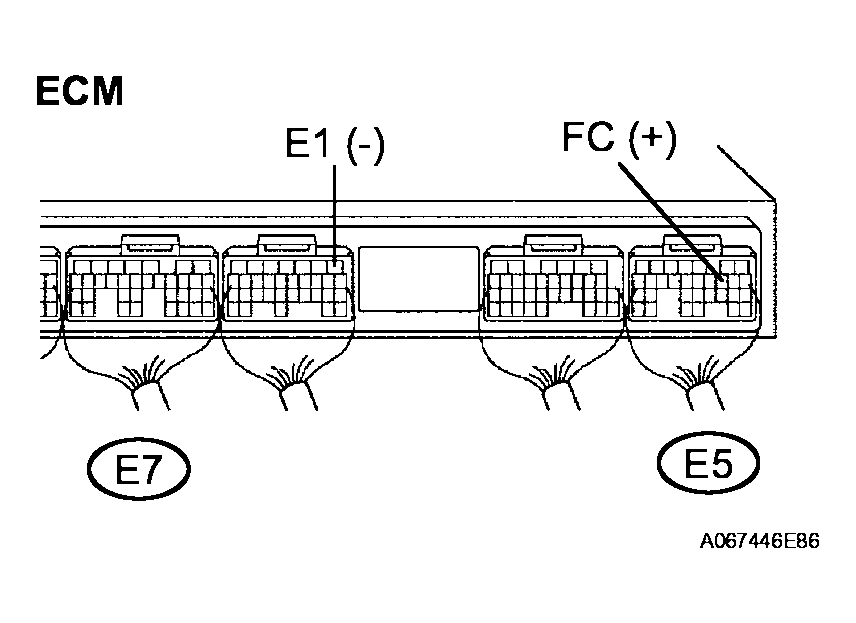
  4. INSPECT ECM (FC VOLTAGE) 
    1. Turn the ignition switch ON.
    2. Measure the voltage of the ECM connectors.

    Standard voltage 

    ECM (FC VOLTAGE)

    Tester Connection Specified Condition
    E5-10 (FC) - E7-1 (E1) 9 to 14 V
    Fig 8: Inspecting ECM (FC Voltage)
    G04087466Courtesy of © TOYOTA, LICENSE AGREEMENT TMS1002

    NG : REPLACE ECM 

    OK : Go to next step 

  5. CHECK HARNESS AND CONNECTOR (ECM - C/PN RELAY, C/OPN RELAY IGNITION) 
    1. Check the wire harness between the ECM and C/OPN relay.
      1. Disconnect the E5 ECM connector.
      2. Remove the C/OPN relay from the R/B No. 1.
      3. Measure the resistance of the wire harness side connectors.

      Standard resistance 

      ECM - C/PN RELAY

      Tester Connection Specified Condition
      E5-10 (FC) - C/OPN relay terminal 2 Below 1 Ω
      E5-10 (FC) or C/OPN relay terminal 2 - Body ground 10 kΩ or higher
    2. Check the wire harness between the C/OPN relay and ignition switch.
      1. Check the IGN fuse.
        • Remove the IGN fuse from the engine room J/B.
        • Measure the resistance of the IGN fuse.

          Standard resistance: 

          Below 1 Ω 

        • Reinstall the IGN fuse.
      2. Remove the C/OPN relay from the R/B No. 1.
      3. Disconnect the I14 ignition switch connector.
      4. Measure the resistance of the wire harness side connectors.

        Standard resistance 

        C/OPN RELAY IGNITION

        Tester Connection Specified Condition
        C/OPN relay terminal 1 - I14-6 (Ignition switch) Below 1 Ω
        C/OPN relay terminal 1 or I14-6 (Ignition switch) - Body ground 10 kΩ or higher
    3. Install the C/OPN relay.
    4. Reconnect the ECM connector and ignition switch connector.
    Fig 9: Checking Harness And Connector (ECM - C/PN Relay, C/OPN Relay Ignition)
    G04087467Courtesy of © TOYOTA, LICENSE AGREEMENT TMS1002

    NG : REPAIR OR REPLACE HARNESS OR CONNECTOR 

    OK : REPLACE ECM 

  6. INSPECT FUEL PUMP 
    1. Measure the resistance of the fuel pump.
      1. Measure the resistance between terminals 4 and 5.

      Standard resistance 

      FUEL PUMP

      Tester Connection Condition Specified Condition
      4-5 20°C (68°F) 0.2 to 0.3 Ω
    2. Check operation of the fuel pump.
      1. Apply battery voltage to both the terminals. Check that the pump operates.
      NOTE:
      • These tests must be done quickly (within 10 seconds) to prevent the coil from burning out.
      • Keep the fuel pump as far away from the battery as possible.
      • Always turns ON and OFF the voltage on the battery side, not the fuel pump side.
      Fig 10: Inspecting Fuel Pump
      G04087468Courtesy of © TOYOTA, LICENSE AGREEMENT TMS1002

    NG : REPLACE FUEL PUMP 

    OK : Go to next step 

  7. CHECK HARNESS AND CONNECTOR (C/OPN RELAY - FUEL PUMP, FUEL PUMP - BODY GROUND) 
    1. Check the wire harness between the C/OPN relay and fuel pump.
      1. Remove the C/OPN relay from the R/B No. 1.
      2. Disconnect the F16 fuel pump connector.
      3. Measure the resistance of the wire harness side connectors.

      Standard resistance 

      C/OPN RELAY - FUEL PUMP

      Tester Connection Specified Condition
      C/OPN relay terminal 3 - F16-4 Below 1 Ω
      C/OPN relay terminal 3 or F16-4 - Body ground 10 kΩ or higher
    2. Check the wire harness between the fuel pump and body ground.
      1. Disconnect the F16 fuel pump connector.
      2. Measure the resistance of the wire harness side connector.

      Standard resistance 

      FUEL PUMP - BODY GROUND

      Tester Connection Specified Condition
      F16-5 - Body ground Below 1 Ω
      Fig 11: Checking Harness And Connector (C/OPN Relay - Fuel Pump, Fuel Pump - Body)
      G04087469Courtesy of © TOYOTA, LICENSE AGREEMENT TMS1002

    NG : REPAIR OR REPLACE HARNESS OR CONNECTOR 

    OK : REPLACE ECM