LEMON Manuals: Even more car manuals for everyone: 1960-2025
Home >> Lexus >> 2006 >> RX 400h AWD >> Repair and Diagnosis >> Brakes >> Brakes Control Systems >> Brake Control >> Electronically Controlled Brake System >> Initialization
April 5, 2026: LEMON Manuals is launched! Read the announcement.

Electronically Controlled Brake System: Initialization

  1. DESCRIPTION 
    1. Perform initialization of linear solenoid valve and calibration when the skid control ECU, brake actuator or brake pedal stroke sensor is replaced. Follow the chart to perform initialization.

      HINT:

      • If there is a problem with auxiliary battery (12 V) voltage, initialization of linear solenoid valve and calibration cannot be completed normally. Make sure to check battery voltage before performing initialization of linear solenoid valve and calibration.
      • If the actuator's temperature is high, initialization of linear solenoid valve and calibration may not be completed normally. In that case, wait until the temperature decreases and then perform initialization of linear solenoid valve and calibration.
      • If the ignition switch is turned off, the brake pedal is operated or vehicle speed is input while the linear solenoid valve offset learning is being performed, the learning will be cancelled.
        REPLACEMENT PARTS REFERENCE

        Replacement Parts Necessary Operation
        Skid control ECU Initialization of linear solenoid valve and calibration
        Brake actuator assembly
        1. Bleeding air
        2. Clearing stored value of linear solenoid valve and calibration data
        3. Initialization of linear solenoid valve and calibration
        • Brake pedal stroke sensor
        • Brake pedal
        1. Inspection and adjustment of brake pedal height
        2. Clearing stored value of linear solenoid valve and calibration data
        3. Initialization of linear solenoid valve and calibration
  2. CLEAR STORED VALUE OF INITIALIZATION OF LINEAR SOLENOID VALVE AND CALIBRATION (WHEN USING INTELLIGENT TESTER): 
    1. Connect the intelligent tester to the DLC3.
    2. Move the shift lever to the P position.
    3. Turn the ignition switch on with the brake pedal released.
    4. Clear the stored value of initialization of linear solenoid valve and calibration following the screen.

      HINT:

      Refer to the intelligent tester operator's manual for further details.

    5. Using the intelligent tester, perform initialization of linear solenoid valve and calibration.
      Fig 1: Connecting Intelligent Tester To DLC3
      G04113141Courtesy of © TOYOTA, LICENSE AGREEMENT TMS1002
  3. PERFORM INITIALIZATION OF LINEAR SOLENOID VALVE AND CALIBRATION (WHEN USING INTELLIGENT TESTER): 
    1. Connect the intelligent tester to the DLC3.
    2. Move the shift lever to the P position.
    3. Turn the ignition switch on with the brake pedal released.
      NOTE:
      • If the linear solenoid valve offset learning is performed without turning the ignition switch on, the learning process may not be completed properly because of insufficient battery voltage.
      • When the linear solenoid valve offset learning is interrupted, or the learning process is performed with the shift lever not in the P position, DTC C1345/66 will be stored.
    4. Set the intelligent tester to test mode (select "TEST MODE").

      HINT:

      Refer to the intelligent tester operator's manual for further details.

    5. Leave the vehicle stationary without depressing the brake pedal for 1 or 2 minutes.
      Fig 2: Identifying Tester Diagnostic Menu
      G04113142Courtesy of © TOYOTA, LICENSE AGREEMENT TMS1002
    6. Check that the interval between blinks of the brake control warning light changes from 1 second to 0.25 seconds.

      HINT:

      • The time needed to complete initialization of linear solenoid valve and calibration varies depending on battery voltage.
      • The brake control warning light blinks at 1 second intervals during the initialization of linear solenoid valve and calibration and changes to the test mode display.
      • The brake control warning light blinks at 0.25 seconds intervals if the test mode is normal.
    7. Check that DTC C1345/66 that indicates trouble with stroke sensor zero point learning is not output when the brake control warning light changes to the test mode display upon initialization of linear solenoid valve and calibration completion.
    8. Enter the normal mode from the test mode following the intelligent tester screen.
      Fig 3: Identifying Blinking Pattern
      G04113143Courtesy of © TOYOTA, LICENSE AGREEMENT TMS1002

      HINT:

      Refer to the intelligent tester operator's manual for further details.

  4. CLEAR STORED VALUE OF INITIALIZATION OF LINEAR SOLENOID VALVE AND CALIBRATION (WHEN USING SST CHECK WIRE): 
    1. Move the shift lever to the P position.
    2. Turn the ignition switch on with the brake pedal released.
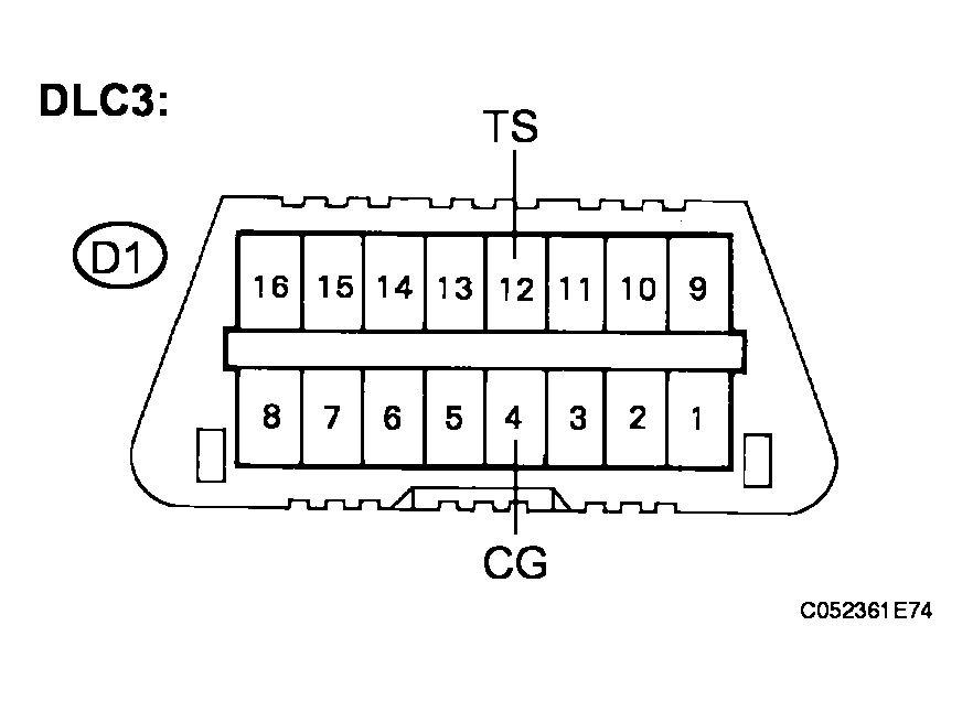
    3. Using SST, connect and disconnect terminals TS and CG of the DLC3 4 times or more within 8 seconds.

      SST 09843-18040 

    4. Check that no codes other than ABS code 42, VSC code 45 and ECB code 48, 66, or 95 are stored in the diagnostic system.
      Fig 4: Connecting Terminals TS And CG Of DLC3
      G04113144Courtesy of © TOYOTA, LICENSE AGREEMENT TMS1002

      HINT:

      The ABS warning light and multi information display do not indicate the normal system code.

      Fig 5: Checking VSC Code Display
      G04113145Courtesy of © TOYOTA, LICENSE AGREEMENT TMS1002
    5. Remove the SST from the terminals of the DLC3.
    6. Using the check wire, perform initialization of linear solenoid valve and calibration.
  5. PERFORM INITIALIZATION OF LINEAR SOLENOID VALVE AND CALIBRATION (WHEN USING SST CHECK WIRE): 
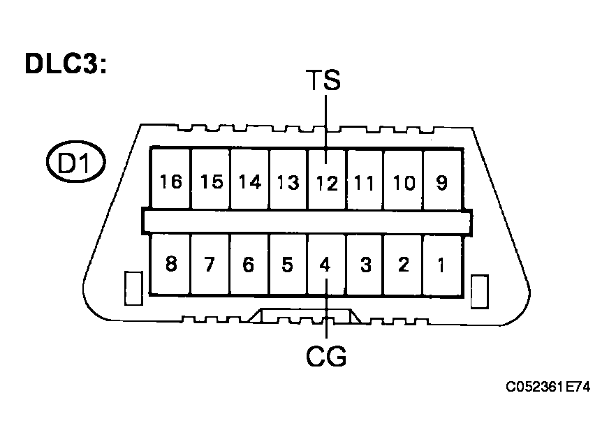
    1. Using SST, connect terminals TS and CG of the DLC3.

      SST 09843-18040 

    2. Move the shift lever to the P position.
    3. Turn the ignition switch on with the brake pedal released.
      Fig 6: Connecting Terminals TS And CG Of DLC3
      G04113146Courtesy of © TOYOTA, LICENSE AGREEMENT TMS1002
      NOTE:
      • If the linear solenoid valve offset learning is performed without turning the ignition switch on, the learning process may not be completed properly because of insufficient battery voltage.
      • When the linear solenoid valve offset learning is interrupted, or the learning process is performed with the shift lever not in the P position, DTC C1345/66 will be stored.
    4. Leave the vehicle stationary without depressing the brake pedal for 1 or 2 minutes.
    5. Check that the interval between blinks of the brake control warning light changes from 1 second to 0.25 seconds.

      HINT:

      • The time needed to complete initialization of linear solenoid valve and calibration varies depending on battery voltage.
      • The brake control warning light blinks at 1 second intervals during the initialization of linear solenoid valve and calibration and changes to the test mode display.
      • The brake control warning light blinks at 0.25 seconds intervals if the test mode is normal.
    6. Check that DTC C1345/66 that indicates trouble with stroke sensor zero point learning is not output when the brake control warning light changes to the test mode display upon initialization of linear solenoid valve and calibration completion.
    7. Turn the ignition switch off and disconnect the SST from the DLC3.
      Fig 7: Identifying Blinking Pattern
      G04113147Courtesy of © TOYOTA, LICENSE AGREEMENT TMS1002