LEMON Manuals: Even more car manuals for everyone: 1960-2025
Home >> Lexus >> 2006 >> RX 400h FWD >> Repair and Diagnosis >> Brakes >> Brakes Control Systems >> Brake Control >> Electronically Controlled Brake System >> DTC Check / Clear
April 5, 2026: LEMON Manuals is launched! Read the announcement.

DTC Check / Clear

  1. DTC CHECK/CLEAR (WHEN USING INTELLIGENT TESTER): 
    1. DTC check
      1. Connect the intelligent tester to the DLC3.
      2. Turn the ignition switch on.
      3. Read the DTCs following the prompts on the tester screen.
    2. DTC clear
      1. Connect the intelligent tester to the DLC3.
      2. Turn the ignition switch on.
      3. Operate the intelligent tester to clear the codes.
        Fig 1: Connecting Intelligent Tester To DLC3
        G04113183Courtesy of © TOYOTA, LICENSE AGREEMENT TMS1002

        HINT:

        Refer to the intelligent tester operator's manual for further details.

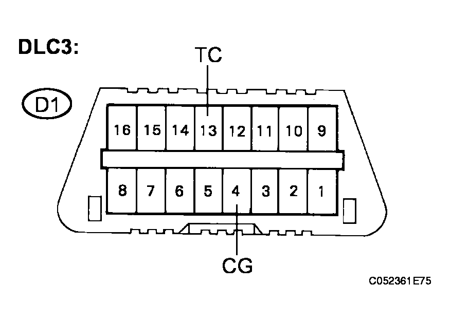
  2. DTC CHECK/CLEAR (WHEN USING SST CHECK WIRE): 
    1. DTC check
      1. Using SST, connect terminals TC and CG of the DLC3.

        SST 09843-18040 

      2. Turn the ignition switch on.
        Fig 2: Connecting Terminals TS And CG Of DLC3
        G04113184Courtesy of © TOYOTA, LICENSE AGREEMENT TMS1002
      3. Read DTC from the ABS and brake control warning lights on the combination meter and multi information display.

        HINT:

      4. Codes are explained in the code table (See DIAGNOSTIC TROUBLE CODE CHART  )
      5. After completing the check, disconnect terminals TC and CG of the DLC3, and turn off the display. If 2 or more DTCs are detected at the same time, the DTCs will be displayed in ascending order.
    2. DTC clear
      1. Using SST, connect terminals TC and CG of the DLC3.

        SST 09843-18040 

      2. Turn the ignition switch on.
        Fig 4: Connecting Terminals TS And CG Of DLC3
        G04113186Courtesy of © TOYOTA, LICENSE AGREEMENT TMS1002
      3. Clear the DTCs stored in the ECU by depressing the brake pedal 8 times or more within 5 seconds.
      4. Check that the ABS warning and brake control lights and multi information display indicate the normal system code.
      5. Remove the SST from the terminals of the DLC3.
        Fig 5: Pressing Brake Pedal
        G04113187Courtesy of © TOYOTA, LICENSE AGREEMENT TMS1002

        HINT:

        Clearing the DTCs cannot be performed by removing the battery cable or the ECU-IG NO.1 fuse.

  3. END OF DTC CHECK/CLEAR (WHEN USING SST CHECK WIRE): 
    1. Turn the ignition switch on.
    2. Check that the ABS and brake control warning lights go off within approximately 3 seconds.