LEMON Manuals: Even more car manuals for everyone: 1960-2025
Home >> Lexus >> 2006 >> SC 430 >> Repair and Diagnosis >> Accessories & Equipment >> Cruise Control Systems >> Cruise Control System - Diagnostics >> System Diagram
April 5, 2026: LEMON Manuals is launched! Read the announcement.

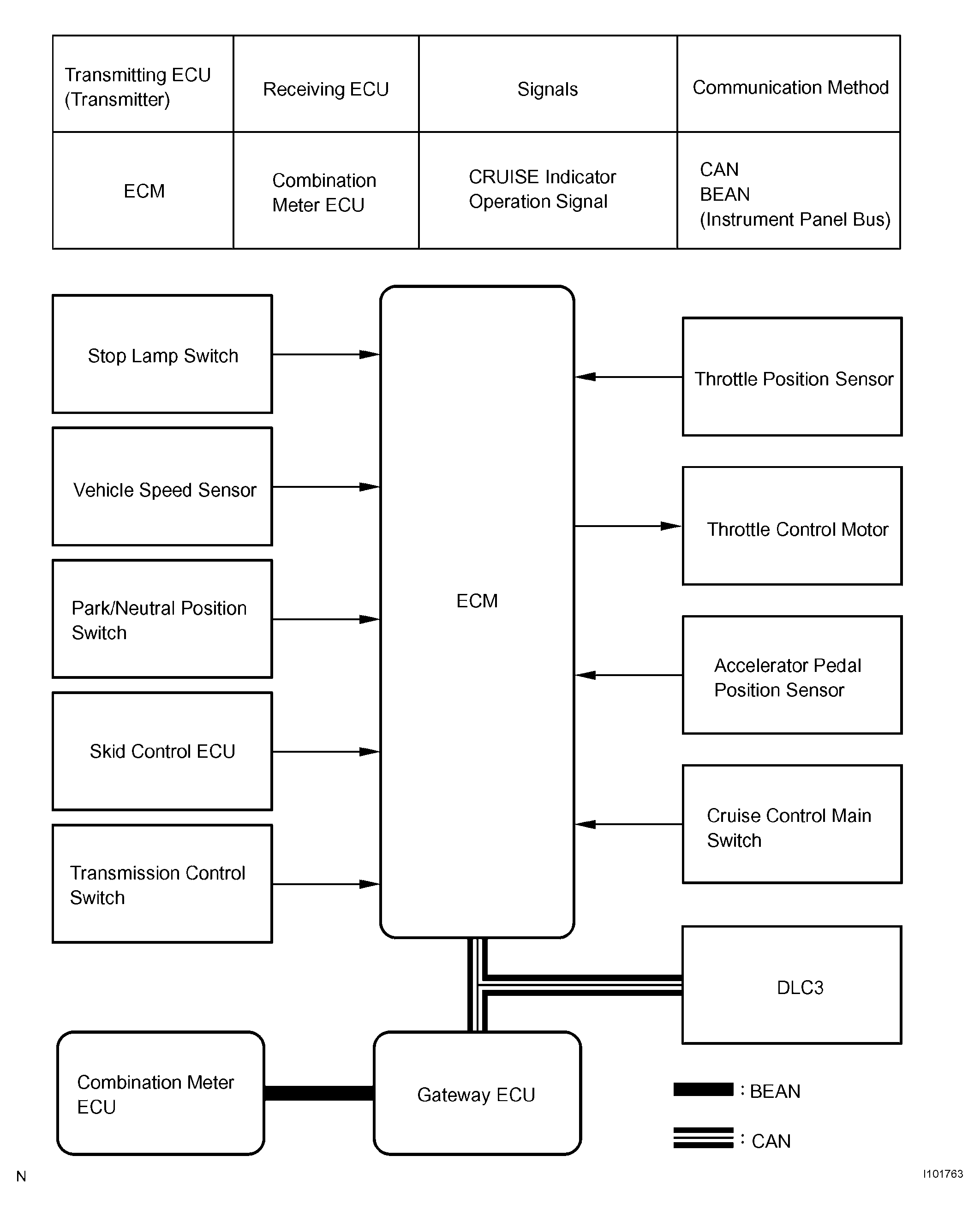
System Diagram

Fig 1: Cruise Control System Diagram
G04107224Courtesy of © TOYOTA, LICENSE AGREEMENT TMS1002