LEMON Manuals: Even more car manuals for everyone: 1960-2025
Home >> Lexus >> 2006 >> SC 430 >> Repair and Diagnosis >> Body & Frame >> Windows >> Power Window Control System - Diagnostics >> Driver Door Ecu Power Source Circuit >> Inspection Procedure
April 5, 2026: LEMON Manuals is launched! Read the announcement.

Inspection Procedure

  1. INSPECT FUSE (MPX-B1, AM1, MPX-IG, D-DOOR, D/C CUT) 
    1. Remove the MPX-IG and AM1 fuses from the driver side J/B.
    2. Remove the MPX-B1 fuse from the passenger side J/B.
    3. Remove the D-DOOR and D/C CUT fuses from the engine room No. 1 R/B.
    4. Measure the resistance of the fuses.

      Standard: Below 1 ohms 

    1. NG: REPLACE FUSE 
    2. OK: Go to next step. 
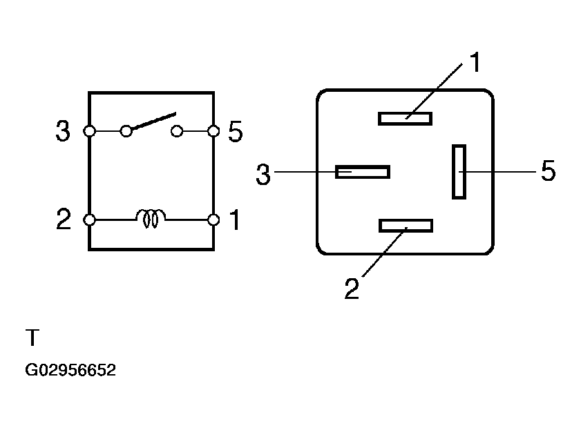
  2. INSPECT RELAY (Marking: IG1) 
    1. Remove the IG1 relay from the driver side J/B.
    2. Measure the resistance of the relay.

      Standard: 

      RELAY (MARKING: IG1)

      Tester Connection Specified Condition
      3 - 5 10 k ohms or higher
      3 - 5 Below 1 ohms (when battery voltage is applied to terminals 1 and 2)
      Fig 1: Inspecting Relay (IG1)
      G02956652Courtesy of © TOYOTA, LICENSE AGREEMENT TMS1002
    1. NG: REPLACE RELAY 
    2. OK: Go to next step. 
  3. CHECK WIRE HARNESS (MULTIPLEX NETWORK DOOR ECU FRONT LH - BATTERY AND BODY GROUND 
    1. Disconnect the D19 ECU connector.
    2. Measure the voltage and resistance of the wire harness side connector.

      Standard: 

      MULTIPLEX NETWORK DOOR ECU FRONT LH - BATTERY AND BODY GROUND

      Tester Connection Condition Specified Condition
      D19-4 (CPUB) - Body ground Always 10 to 14 V
      D19-6 (BDR) - Body ground Always 10 to 14 V
      D19-5 (SIG) - Body ground Ignition switch ON 10 to 14 V
      D19-1 (GND) - Body ground Always Below 1 ohms
      Fig 2: Checking Wire Harness (Multiplex Network Door ECU Front LH - Battery & Body Ground
      G02956653Courtesy of © TOYOTA, LICENSE AGREEMENT TMS1002
    1. NG: REPAIR OR REPLACE HARNESS AND CONNECTOR 
    2. OK: REPLACE MULTIPLEX NETWORK DOOR ECU FRONT LH