LEMON Manuals: Even more car manuals for everyone: 1960-2025
Home >> Lexus >> 2006 >> SC 430 >> Repair and Diagnosis >> Engine Performance >> System >> SFI System - Diagnostics >> ECM Power Source Circuit >> Inspection Procedure
April 5, 2026: LEMON Manuals is launched! Read the announcement.

Inspection Procedure

  1. CHECK ECM (+B VOLTAGE) 
    1. Turn the ignition switch ON.
    2. Measure the voltage of the ECM connectors.

      Standard: 

      RESISTANCE SPECIFICATIONS

      Tester Connection Specified condition
      +B (E6-6) - E1 (E3-7) 9 to 14 V
      Fig 1: Identifying ECM Connectors Terminals
      G02955647Courtesy of © TOYOTA, LICENSE AGREEMENT TMS1002
    1. OK: PROCEED TO NEXT CIRCUIT INSPECTION SHOWN ON PROBLEM SYMPTOMS TABLE (See  PROBLEM SYMPTOMS TABLE   ) 
    2. NG: Go to next step. 
  2. CHECK WIRE HARNESS (ECM - BODY GROUND) 
    1. Disconnect the E3 ECM connector.
    2. Measure the resistance of the wire harness side connector.

      Standard: 

      RESISTANCE SPECIFICATIONS

      Tester Connection Specified condition
      E1 (E3-7) - Body ground Below 1 ohms
      Fig 2: Identifying E3 ECM Connector Terminals
      G02955648Courtesy of © TOYOTA, LICENSE AGREEMENT TMS1002
    1. NG: REPAIR OR REPLACE HARNESS AND CONNECTOR 
    2. OK: Go to next step. 
  3. CHECK ECM (IGSW VOLTAGE) 
    1. Turn the ignition switch ON.
    2. Measure the voltage of the ECM connectors.

      Standard: 

      RESISTANCE SPECIFICATIONS

      Tester Connection Specified condition
      IGSW (E6-17) - E1 (E3-7) 9 to 14 V
      Fig 3: Identifying ECM Connectors Terminals
      G02955649Courtesy of © TOYOTA, LICENSE AGREEMENT TMS1002
    1. OK: Go to step   6 . 
    2. NG: Go to next step. 
  4. INSPECT FUSE (IGN) 
    1. Remove the IGN fuse from the engine room No. 2 R/B.
    2. Measure the resistance of the fuse.

      Standard: Below 1 Ω 

      Fig 4: Identifying IGN Fuse Location
      G02955650Courtesy of © TOYOTA, LICENSE AGREEMENT TMS1002
    1. NG: REPLACE FUSE 
    2. OK: Go to next step. 
  5. INSPECT IGNITION SWITCH ASSY 
    1. Measure the resistance of the switch

      Standard: 

      RESISTANCE SPECIFICATIONS

      Tester Connection Switch Condition Specified Condition
      7 (AM2) - 6 (IG2) LOCK 10 k ohms or higher
      7 (AM2) - 6 (IG2) ON Below 1 ohms
      Fig 5: Identifying Ignition Switch Terminals
      G02955651Courtesy of © TOYOTA, LICENSE AGREEMENT TMS1002
    1. NG: REPLACE IGNITION SWITCH ASSY 
    2. OK: REPAIR OR REPLACE HARNESS AND CONNECTOR (BATTERY - IGNITION SWITCH, IGNITION SWITCH - ECM) 
  6. CHECK ECM (MREL VOLTAGE) 
    1. Turn the ignition switch ON.
    2. Measure the voltage of the ECM connectors.

      Standard: 

      RESISTANCE SPECIFICATIONS

      Tester Connection Specified Condition
      E6-13 (MREL) - E3-7 (E1) 9 to 14 V
      Fig 6: Installing ECM Connectors Terminals
      G02955652Courtesy of © TOYOTA, LICENSE AGREEMENT TMS1002
    1. NG: REPLACE ECM (See  REPLACEMENT  ) 
    2. OK: Go to next step. 
  7. CHECK FUSE (EFI) 
    1. Remove the EFI fuse from the engine room No. 1 R/B, J/B.
    2. Measure the resistance of the fuse.

      Standard: Below 1 Ω 

      Fig 7: Identifying EFI Fuse Location
      G02955653Courtesy of © TOYOTA, LICENSE AGREEMENT TMS1002
    1. NG: REPLACE FUSE 
    2. OK: Go to next step. 
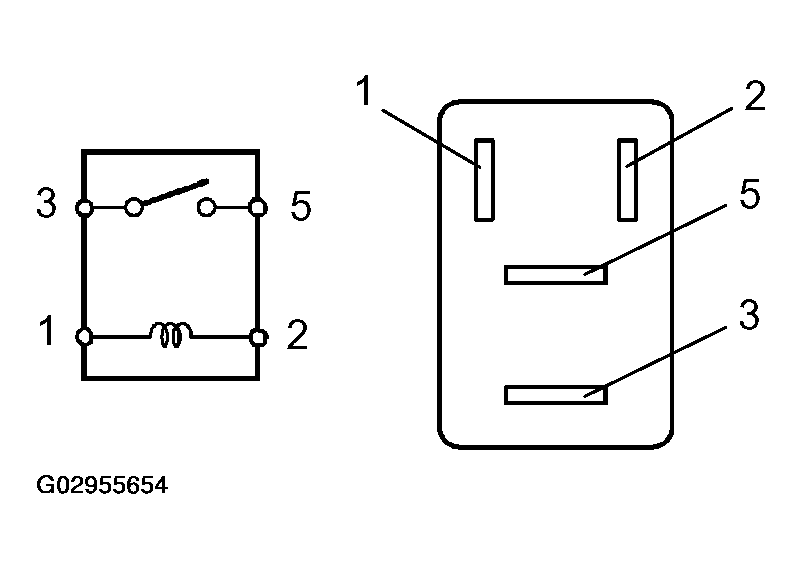
  8. INSPECT RELAY (Marking: EFI) 
    1. Remove the EFI relay from the engine room No. 2 R/B.
    2. Measure the resistance of the relay.

      Standard: 

      RESISTANCE SPECIFICATIONS

      Tester Connection Specified Condition
      3 - 5 10 k ohms or higher
      3 - 5 Below 1 ohms (when battery voltage is applied to terminals 1 and 2)
      Fig 8: Identifying Relay (Marking EFI)
      G02955654Courtesy of © TOYOTA, LICENSE AGREEMENT TMS1002
    1. NG: REPLACE RELAY 
    2. OK: Go to next step. 
  9. CHECK WIRE HARNESS (ECM - EFI RELAY - BODY GROUND) 
    1. Remove the EFI relay from the engine room No. 2 R/B.
    2. Disconnect the E6 ECM connector.
    3. Measure the resistance of the wire harness side connectors.

      Standard: 

      RESISTANCE SPECIFICATIONS

      Tester Connection Specified Condition
      R/B EFI relay terminal 2 - E6-13 (MREL) Below 1 ohms
      R/B EFI relay terminal 2 or E6-13 (MREL) - Body ground 10 k ohms or higher
      R/B EFI relay terminal 1 - Body ground Below 1 ohms
      Fig 9: Removing EFI Relay From Engine Room No. 2 R/B
      G02955655Courtesy of © TOYOTA, LICENSE AGREEMENT TMS1002
    1. NG: REPLACE ECM (See  REPLACEMENT  ) 
    2. OK: REPAIR OR REPLACE HARNESS AND CONNECTOR (TERMINAL +B OF ECM - BATTERY POSITIVE TERMINAL)