LEMON Manuals: Even more car manuals for everyone: 1960-2025
Home >> Lexus >> 2006 >> SC 430 >> Repair and Diagnosis >> Engine Performance >> System >> SFI System - Diagnostics >> Fuel Pump Control Circuit >> Inspection Procedure
April 5, 2026: LEMON Manuals is launched! Read the announcement.

Inspection Procedure

  1. PERFORM ACTIVE TEST (OPERATE F/PMP RELAY) 
    1. Connect the hand-held tester to the DLC3.
    2. Turn the ignition switch ON and push the hand-held tester main switch ON.
    3. Enter the following menus: DIAGNOSIS / ENHANCED OBD II / ACTIVE TEST / FUEL PUMP/SPD.
    4. Check the relay operation while operating it with the hand-held tester.

      Standard: Operating noise can be heard from relay. 

    1. OK: Go to step   6 . 
    2. NG: Go to next step. 
  2. INSPECT FUSE (IGN) 
    1. Remove the IGN fuse from the engine room No. 2 R/B.
    2. Measure the resistance of the fuse.

      Standard: Below 1 Ω 

      Fig 1: Identifying IGN Fuse Location
      G02955658Courtesy of © TOYOTA, LICENSE AGREEMENT TMS1002
    1. NG: REPLACE FUSE 
    2. OK: Go to next step. 
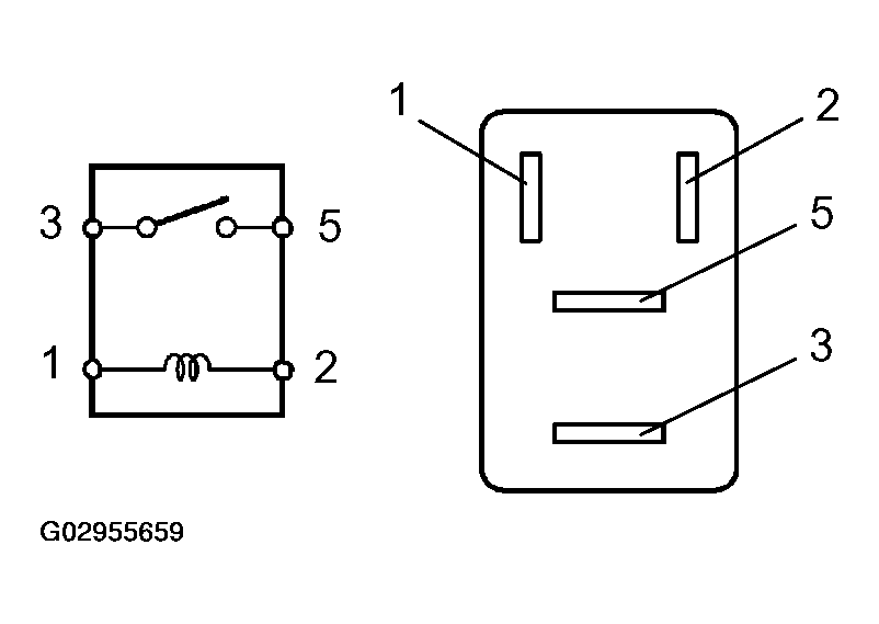
  3. INSPECT RELAY (Marking: CIR OPN) 
    1. Remove the CIR OPN relay from the engine room No. 2 R/B.
    2. Measure the resistance of the relay.

      Standard: 

      RESISTANCE SPECIFICATIONS

      Tester Connection Specified Condition
      3 - 5 10 k ohms or higher
      3 - 5 Below 1 ohms (when battery voltage is applied to terminals 1 and 2)
      Fig 2: Identifying Relay (Marking CIR OPN)
      G02955659Courtesy of © TOYOTA, LICENSE AGREEMENT TMS1002
    1. NG: REPLACE RELAY 
    2. OK: Go to next step. 
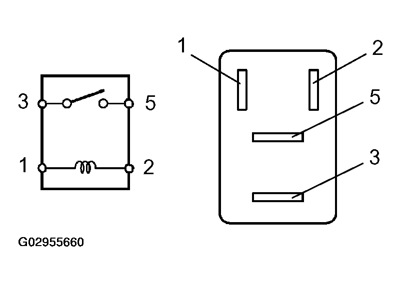
  4. INSPECT RELAY (Marking: IG2) 
    1. Remove the IG2 relay from the engine room No. 1 R/B.
    2. Measure the resistance of the relay.

      Standard: 

      RESISTANCE SPECIFICATIONS

      Tester Connection Specified Condition
      3 - 5 10 k ohms or higher
      3 - 5 Below 1 ohms (when battery voltage is applied to terminals 1 and 2)
      Fig 3: Identifying IG2 Relay Location
      G02955660Courtesy of © TOYOTA, LICENSE AGREEMENT TMS1002
    1. NG: REPLACE RELAY 
    2. OK: Go to next step. 
  5. CHECK ECM (FC VOLTAGE) 
    1. Turn the ignition switch ON.
    2. Measure the voltage of the E6 ECM connector.

      Standard: 

      RESISTANCE SPECIFICATIONS

      Tester Connection Specified Condition
      E6-14 (FC) - Body ground 9 to 14 V
      Fig 4: Identifying E6 ECM Connector Terminals
      G02955661Courtesy of © TOYOTA, LICENSE AGREEMENT TMS1002
    1. NG: REPAIR OR REPLACE HARNESS AND CONNECTOR 
    2. OK: REPLACE ECM (See  REPLACEMENT 
  6. INSPECT RELAY (Marking: F/PMP) 
    1. Remove the F/PMP relay from the engine room No. 2 R/B.
    2. Measure the resistance of the relay.

      Standard: 

      RESISTANCE SPECIFICATIONS

      Tester Connection Specified Condition
      2 - 4 Below 1 ohms
      2 - 4 10 k ohms or more (when battery voltage is applied to terminals 1 and 3)
      Fig 5: Identifying Relay (Marking F/PMP)
      G02955662Courtesy of © TOYOTA, LICENSE AGREEMENT TMS1002
    1. NG: REPLACE RELAY 
    2. OK: Go to next step. 
  7. INSPECT FUEL PUMP ASSY 
    1. Check the resistance of the fuel pump.
      1. Measure the resistance between terminals 4 and 5.

        Standard: 0.2 to 3.0 Ω at 20°C (68°F) 

    2. Check the operation of the fuel pump.
      1. Apply battery voltage to both the terminals. Check that the pump operates.
        NOTE:
        • These tests must be performed quickly (within 10 seconds) to prevent the coil from burning out.
        • Keep fuel pump as far away from the battery as possible.
        CAUTION: Always turn on and off the voltage on the battery side, not the fuel pump side.
        Fig 6: Identifying Fuel Pump Connector Terminals
        G02955663Courtesy of © TOYOTA, LICENSE AGREEMENT TMS1002
    1. NG: REPLACE FUEL PUMP ASSY (See  REPLACEMENT  ) 
    2. OK: Go to next step. 
  8. INSPECT FUEL PUMP RESISTER 
    1. Measure the resistance of the resister.

      Standard: 0.30 to 0.34 Ω at 20°C (68°F) 

      Fig 7: Identifying Fuel Pump Resister
      G02955664Courtesy of © TOYOTA, LICENSE AGREEMENT TMS1002
    1. NG: REPLACE FUEL PUMP RESISTER 
    2. OK: Go to next step. 
  9. CHECK ECM (FPR VOLTAGE) 
    1. Measure the voltage of the ECM connectors.

      Standard: 

      RESISTANCE SPECIFICATIONS

      Tester Connection Condition Specified condition
      E6-15 (FPR) - E3-7 (E1) STA signal ON 9 to 14 V
      E6-15 (FPR) - E3-7 (E1) STA signal OFF 0 to 3 V
      Fig 8: Identifying ECM Connectors Terminals
      G02955665Courtesy of © TOYOTA, LICENSE AGREEMENT TMS1002
    1. NG: REPAIR OR REPLACE HARNESS AND CONNECTOR 
    2. OK: Go to next step. 
  10. CHECK FOR SHORT OR OPEN IN ALL HARNESS CONNECTED FUEL PUMP AND FUEL PUMP RESISTER 
    1. NG: REPAIR OR REPLACE HARNESS AND CONNECTOR 
    2. OK: REPLACE ECM (See  REPLACEMENT  )