LEMON Manuals: Even more car manuals for everyone: 1960-2025
Home >> Lexus >> 2006 >> SC 430 >> Repair and Diagnosis >> Restraints >> Restraints Control Systems >> Seat Belt >> Seat Belt Warning System >> System Diagram >> Notes
April 5, 2026: LEMON Manuals is launched! Read the announcement.

System Diagram: Notes

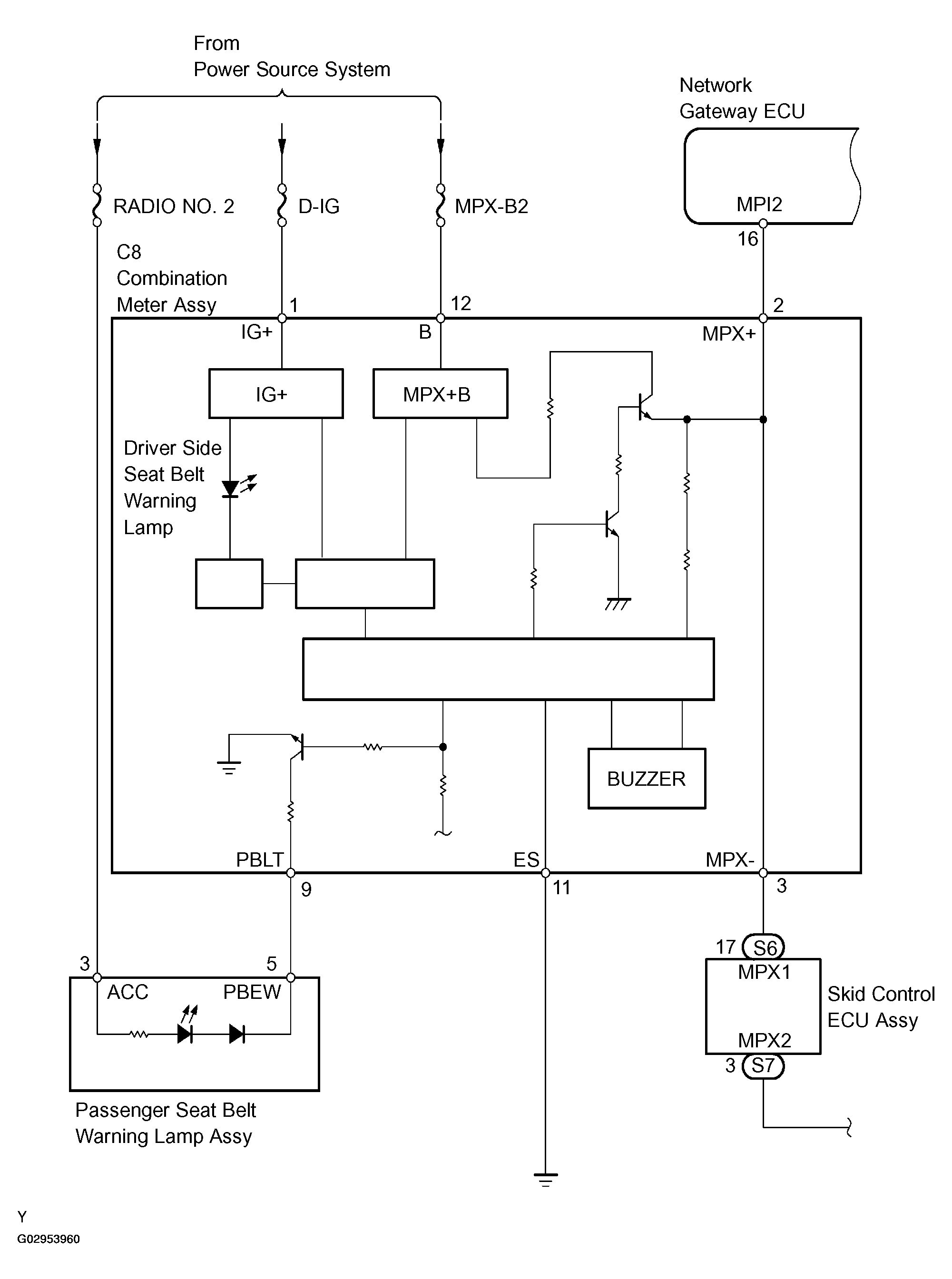
Fig 1: Seat Belt Warning System Diagram (1 Of 2)
G02953960Courtesy of © TOYOTA, LICENSE AGREEMENT TMS1002
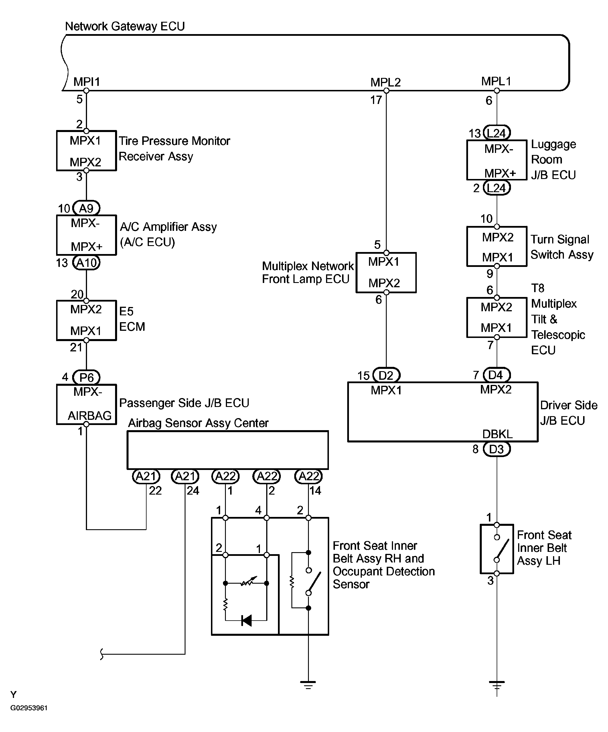
Fig 2: Seat Belt Warning System Diagram (2 Of 2)
G02953961Courtesy of © TOYOTA, LICENSE AGREEMENT TMS1002