LEMON Manuals: Even more car manuals for everyone: 1960-2025
Home >> Lexus >> 2008 >> ES 350 >> Repair and Diagnosis (Single Page) >> Electrical >> Charging Systems >> Charging >> Generator >> Disassembly
April 5, 2026: LEMON Manuals is launched! Read the announcement.

Charging Systems: Charging: Generator: Disassembly

  1. REMOVE GENERATOR CLUTCH PULLEY 
    1. Using a screwdriver, remove the generator pulley cap.
      Fig 1: Removing Generator Pulley Cap
      G04975782Courtesy of © TOYOTA, LICENSE AGREEMENT TMS1002
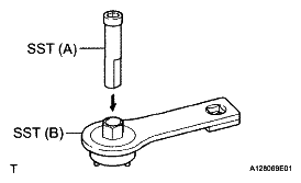
    2. Set SST (A) and (B).

      SST 09820-63020 

    3. Clamp SST (A) in a vise.
      Fig 2: Setting SST A And B
      G04975783Courtesy of © TOYOTA, LICENSE AGREEMENT TMS1002
    4. Place the rotor shaft end into SST (A).
      Fig 3: Identifying Rotor Shaft And SST A
      G04975784Courtesy of © TOYOTA, LICENSE AGREEMENT TMS1002
    5. Fit SST (B) to the clutch pulley.
      Fig 4: Identifying Clutch Pulley And SST B
      G04975785Courtesy of © TOYOTA, LICENSE AGREEMENT TMS1002
    6. Loosen the pulley by turning SST (B) in the direction shown in the illustration.
    7. Remove the generator assembly from the SST.
    8. Remove the clutch pulley from the rotor shaft.
      Fig 5: Turning SST
      G04975786Courtesy of © TOYOTA, LICENSE AGREEMENT TMS1002
  2. REMOVE GENERATOR REAR END COVER 
    1. Place the generator assembly on the clutch pulley.
      Fig 6: Identifying Generator Assembly And Clutch Pulley
      G04975787Courtesy of © TOYOTA, LICENSE AGREEMENT TMS1002
    2. Remove the 3 nuts and generator rear end cover.
      Fig 7: Locating Generator Rear End Cover Nuts
      G04975788Courtesy of © TOYOTA, LICENSE AGREEMENT TMS1002
  3. REMOVE GENERATOR TERMINAL INSULATOR 
    1. Remove the terminal insulator from the generator coil.
      Fig 8: Locating Terminal Insulator
      G04975789Courtesy of © TOYOTA, LICENSE AGREEMENT TMS1002
  4. REMOVE GENERATOR BRUSH HOLDER ASSEMBLY 
    1. Remove the 2 screws and brush holder from the generator coil.
      Fig 9: Locating Generator Brush Holder Screws
      G04975790Courtesy of © TOYOTA, LICENSE AGREEMENT TMS1002
  5. REMOVE GENERATOR COIL ASSEMBLY 
    1. Remove the 4 bolts.
      Fig 10: Locating Generator Coil Assembly Bolts
      G04975791Courtesy of © TOYOTA, LICENSE AGREEMENT TMS1002
    2. Using SST, remove the generator coil assembly.

      SST 09950-40011 (09951-04020, 09952-04010, 09953-04020, 09954-04010, 09955-04071, 09957-04010, 09958-04011) 

      Fig 11: Removing Generator Coil Assembly
      G04975792Courtesy of © TOYOTA, LICENSE AGREEMENT TMS1002
  6. REMOVE GENERATOR ROTOR ASSEMBLY 
    1. Remove the generator washer.
      Fig 12: Locating Generator Washer
      G04975735Courtesy of © TOYOTA, LICENSE AGREEMENT TMS1002
    2. Remove the generator rotor assembly.
      Fig 13: Locating Generator Rotor Assembly
      G04975794Courtesy of © TOYOTA, LICENSE AGREEMENT TMS1002
  7. REMOVE GENERATOR DRIVE END FRAME BEARING 
    1. Remove the 4 screws and retainer plate from the drive end frame.
      Fig 14: Locating Retainer Plate Screws
      G04975795Courtesy of © TOYOTA, LICENSE AGREEMENT TMS1002
    2. Using SST and a hammer, tap out the drive end frame bearing from the drive end frame.

      SST 09950-60010 (09951-00250), 09950-70010 (09951-07100) 

      Fig 15: Tapping Out Drive End Frame Bearing From Drive End Frame
      G04975796Courtesy of © TOYOTA, LICENSE AGREEMENT TMS1002