LEMON Manuals: Even more car manuals for everyone: 1960-2025
Home >> Lexus >> 2008 >> ES 350 >> Repair and Diagnosis >> Body & Frame >> Door Locks >> Door Lock >> Smart Access System With Push-Button Start >> Certification ECU Power Source Circuit >> Wiring Diagram
April 5, 2026: LEMON Manuals is launched! Read the announcement.

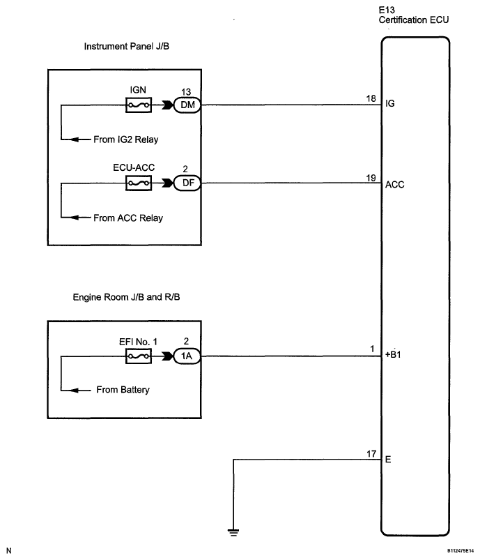
Certification ECU Power Source Circuit: Wiring Diagram

Fig 1: Certification ECU Power Source - Wiring Diagram
G05837751Courtesy of © TOYOTA, LICENSE AGREEMENT TMS1002