LEMON Manuals: Even more car manuals for everyone: 1960-2025
Home >> Lexus >> 2008 >> ES 350 >> Repair and Diagnosis >> Engine Performance >> Fuel Delivery >> Fuel >> Fuel Tank >> Installation
April 5, 2026: LEMON Manuals is launched! Read the announcement.

Fuel Tank: Installation

  1. INSTALL NO. 2 FUEL TANK CUSHION 
    1. Install 7 new No. 2 fuel tank cushions to the fuel tank.
      Fig 1: Identifying No. 2 Fuel Tank Cushions
      G04974968Courtesy of © TOYOTA, LICENSE AGREEMENT TMS1002
  2. INSTALL FUEL MAIN TUBE SUPPORT 
    1. Install the fuel main tube support with the bolt.

      Torque: 5.4 N*m (55 kgf*cm, 48 in.*lbf) 

      Fig 2: Identifying Fuel Main Tube Support With Bolt
      G04974967Courtesy of © TOYOTA, LICENSE AGREEMENT TMS1002
  3. INSTALL FUEL PUMP TUBE SUB-ASSEMBLY 
    1. Install the fuel pump tube to the fuel main tube support.
      Fig 3: Locating Fuel Main Tube Support
      G04974966Courtesy of © TOYOTA, LICENSE AGREEMENT TMS1002
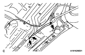
  4. INSTALL FUEL TANK VENT HOSE 
    1. Install the fuel tank vent hose.
      Fig 4: Locating Fuel Tank Vent Hose
      G04974972Courtesy of © TOYOTA, LICENSE AGREEMENT TMS1002
  5. INSTALL FUEL TANK ASSEMBLY 
    1. Install the 4 clip nuts.
      Fig 5: Locating Fuel Tank Clip Nuts (For Se Grade)
      G04974964Courtesy of © TOYOTA, LICENSE AGREEMENT TMS1002
    2. Install the 2 fuel tank bands with the 2 pins.
    3. Set the fuel tank assembly onto the transmission jack.
      Fig 6: Locating Fuel Tank Bands With Pins
      G04974975Courtesy of © TOYOTA, LICENSE AGREEMENT TMS1002
    4. Raise the transmission jack so that the fuel tank vent hose can be connected. (*1)
      NOTE: Slowly raise the jack to prevent the fuel tank assembly from dropping.
    5. Connect the fuel tank inlet pipe with the fuel filter pipe clamp. (*2)
    6. Tighten the 2 set bolts of the fuel tank bands. (*3)

      Torque: 39 N*m (400 kgf*cm, 29 ft.*lbf) 

      Fig 7: Identifying Fuel Tank Bands Set Bolts
      G04974976Courtesy of © TOYOTA, LICENSE AGREEMENT TMS1002
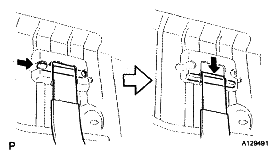
    7. Connect the No. 1 fuel tube.
      1. Push the fuel tube connector into the pipe until the fuel tube connector makes a "click" sound.
        NOTE:
        • Before connecting the tube, make sure that it is not damaged. Make sure that there is no dirt present on any part of the connector.
        • After connecting the connector, check if the fuel tube connector and the pipe are securely connected by pulling on them.
          Fig 8: Connecting Fuel Tube
          G04974977Courtesy of © TOYOTA, LICENSE AGREEMENT TMS1002
    8. Connect the fuel pump tube.
      1. Push the fuel tube connector into the pipe and push up the retainer so that the claws engage.
        NOTE:
        • Before connecting the tube, make sure that it is not damaged. Make sure that there is no dirt present on any part of the connector.
        • After connecting the connector, check if the fuel tube connector and the pipe are securely connected by pulling on them.
          Fig 9: Connecting Fuel Pump Tube
          G04974978Courtesy of © TOYOTA, LICENSE AGREEMENT TMS1002
  6. INSTALL FUEL TANK PROTECTOR LOWER CENTER 
    1. Install the fuel tank protector with the 4 bolts and 2 clips.

      Torque: Bolt 

      5.4 N*m (55 kgf*cm, 48 in.*lbf) 

      Fig 10: Identifying Bolts & Clips (For Se Grade)
      G04974957Courtesy of © TOYOTA, LICENSE AGREEMENT TMS1002
  7. INSTALL REAR STABILIZER BAR NO. 1 BRACKET 
    1. Install the 2 rear stabilizer bar No. 1 brackets with the 4 bolts.

      Torque: 31 N*m (316 kgf*cm, 23 ft.*lbf) 

      Fig 11: Locating Rear Stabilizer Bar No. 1 Brackets With Bolts
      G05248552Courtesy of © TOYOTA, LICENSE AGREEMENT TMS1002
  8. INSTALL NO. 3 PARKING BRAKE CABLE ASSEMBLY 
    1. Install the No. 3 parking brake cable assembly with the bolt and nut.

      Torque: Bolt 

      6.0 N*m (61 kgf*cm, 53 in.*lbf) 

      Nut 

      8.5 N*m (87 kgf*cm, 75 in.*lbf) 

      Fig 12: Locating Set Bolt & Set Nut Of No. 3 Parking Brake Cable Assembly
      G04974954Courtesy of © TOYOTA, LICENSE AGREEMENT TMS1002
  9. INSTALL NO. 2 PARKING BRAKE CABLE ASSEMBLY 
    1. Install the No. 2 parking brake cable assembly with the bolt and nut.

      Torque: Bolt 

      6.0 N*m (61 kgf*cm, 53 in.*lbf) 

      Nut 

      8.5 N*m (87 kgf*cm, 75 in.*lbf) 

      Fig 13: Locating No. 2 Parking Brake Cable Assembly With Bolt & Nut
      G05248550Courtesy of © TOYOTA, LICENSE AGREEMENT TMS1002
  10. INSTALL FRONT FLOOR BRACE LH 
    1. Install the front floor brace LH with the bolt and 2 nuts.

      Torque: 56 N*m (571 kgf*cm, 41 ft.*lbf) 

      Fig 14: Locating Front Floor Brace With Bolt & Nuts
      G05248549Courtesy of © TOYOTA, LICENSE AGREEMENT TMS1002
  11. INSTALL FRONT FLOOR BRACE RH 
    1. Install the front floor brace RH with the bolt and 2 nuts.

      Torque: 56 N*m (571 kgf*cm, 41 ft.*lbf) 

      Fig 15: Locating Front Floor Brace Bolt & Nuts (RH)
      G05248548Courtesy of © TOYOTA, LICENSE AGREEMENT TMS1002
  12. INSTALL CENTER EXHAUST PIPE ASSEMBLY 

    HINT:

    (See INSTALLATION ).

  13. INSTALL FUEL SUCTION TUBE ASSEMBLY WITH PUMP AND GAUGE (See  REASSEMBLY   ) 
  14. INSTALL FUEL TANK VENT TUBE SET PLATE (See  REASSEMBLY   ) 
  15. CONNECT FUEL PUMP TUBE SUB-ASSEMBLY (See  INSTALLATION   ) 
  16. ADD FUEL 
  17. CONNECT CABLE TO NEGATIVE BATTERY TERMINAL 
    NOTE: When disconnecting the cable, some systems need to be initialized after the cable is reconnected (See ELECTRONIC CIRCUIT INSPECTION PROCEDURE ).
  18. INSPECT FOR FUEL LEAK (See  ON-VEHICLE INSPECTION   ) 
  19. INSPECT FOR EXHAUST GAS LEAK 
  20. INSTALL REAR FLOOR SERVICE HOLE COVER (See  INSTALLATION   ) 
  21. INSTALL REAR SEAT CUSHION ASSEMBLY  (See INSTALLATION )