LEMON Manuals: Even more car manuals for everyone: 1960-2025
Home >> Lexus >> 2008 >> ES 350 >> Repair and Diagnosis >> Engine Performance >> System >> Engine Control System - System & Component Testing, Removal, Inspection & Installation >> ACIS Control Circuit >> Description
April 5, 2026: LEMON Manuals is launched! Read the announcement.

ACIS Control Circuit: Description

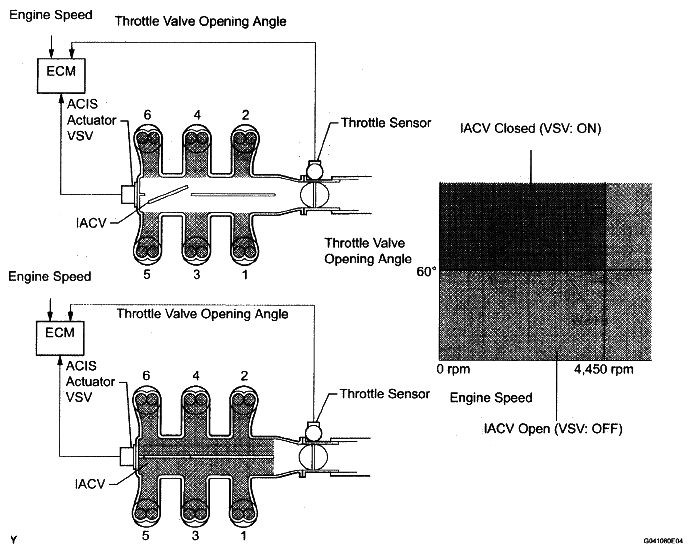
This circuit opens and closes the Intake Air Control Valve (IACV) in response to changes in the engine load in order to increase the intake efficiency (ACIS: Acoustic Control Induction System). When the engine speed is between 0 and 4,450 rpm and the throttle valve opening angle is 60° or more, the ECM supplies current to the VSV (ON status), to close the IACV. Under other conditions, the VSV is usually OFF and the IACV is open.

Fig 1: ACIS Control Operation Diagram
G04973826Courtesy of © TOYOTA, LICENSE AGREEMENT TMS1002