LEMON Manuals: Even more car manuals for everyone: 1960-2025
Home >> Lexus >> 2008 >> ES 350 >> Repair and Diagnosis >> External Pages >> Different car >> Section 77 (Starting) >> Smart Access System With Push-Button Start >> Power Source Mode does not Change to ON (IG) >> Inspection Procedure
April 5, 2026: LEMON Manuals is launched! Read the announcement.

Inspection Procedure

WARNING: This page is about a different car, the 2007 Lexus ES 350. However, it is still accessible from the selected car via links, so may be relevant.
  1. INSPECT FUSE (AM2) 
    1. Remove the AM2 fuse from the engine room J/B.
    2. Measure the resistance of the fuse.

      Standard resistance: Below 1 Ω 

    NG: REPLACE FUSE 

    OK: Go to Next Step 

  2. CHECK CONNECTORS 
    1. Check that the connectors are securely connected and the terminals are not deformed or loose.

      OK: The connectors are securely connected and the terminals are not deformed or loose. 

    NG: REPAIR OR REPLACE CONNECTORS 

    OK: Go to Next Step 

  3. CHECK WIRE HARNESS (MAIN BODY ECU - BATTERY) 
    1. Disconnect the E60 and E61 ECU connectors.
    2. Measure the voltage according to the value(s) in the table below.

      Standard voltage 

      VOLTAGE SPECIFICATION

      Tester Connection (Symbols) Condition Specified Condition
      E61-6 (AM1) - Body ground Always 10 to 14 V
      E60-1 (AM2) - Body ground Always 10 to 14 V
    Fig 1: Identifying Main Body ECU Connector Terminals
    G05248896Courtesy of © TOYOTA, LICENSE AGREEMENT TMS1002

    NG: REPAIR OR REPLACE HARNESS OR CONNECTOR 

    OK: Go to Next Step 

  4. CHECK WIRE HARNESS (MAIN BODY ECU - BODY GROUND) 
    1. Disconnect the DF ECU connector.
    2. Measure the resistance according to the value(s) in the table below.

      Standard resistance 

      RESISTANCE SPECIFICATION

      Tester Connection (Symbols) Condition Specified Condition
      DF-10 (GND1) - Body ground Always Below 1 Ω
    Fig 2: Identifying Main Body ECU Connector Terminals
    G05248892Courtesy of © TOYOTA, LICENSE AGREEMENT TMS1002

    NG: REPAIR OR REPLACE HARNESS OR CONNECTOR 

    OK: Go to Next Step 

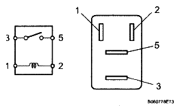
  5. INSPECT RELAY (IG2 RELAY) 
    1. Remove the IG2 relay from the engine room R/B No. 2.
    2. Measure the resistance according to the value(s) in the table below.

      Standard resistance 

      RESISTANCE SPECIFICATION

      Tester Connection Specified Condition
      3 - 5 10 kΩ or higher
      3 - 5 Below 1 Ω
      (When battery voltage is applied to terminals 1 and 2)
    Fig 3: Identifying IG2 Relay Connector Terminals
    G04975652Courtesy of © TOYOTA, LICENSE AGREEMENT TMS1002

    NG: REPLACE RELAY 

    OK: Go to Next Step 

  6. CHECK WIRE HARNESS (ENGINE ROOM R/B - MAIN BODY ECU AND BODY GROUND) 
    1. Remove the IG2 relay from the engine room R/B.
      Fig 4: Identifying Main Body ECU And IG2 Relay Connector Terminals
      G05248899Courtesy of © TOYOTA, LICENSE AGREEMENT TMS1002
    2. Disconnect the E60 ECU connector.
    3. Measure the resistance according to the value(s) in the table below.

      Standard resistance 

      RESISTANCE SPECIFICATION

      Terminal No. (Symbol) Specified Condition
      Engine room R/B IG2 relay terminal 1 - E60-11 (IG2D) Below 1 Ω
      Engine room R/B IG2 relay terminal 2 - Body ground Below 1 Ω
      E60-11 (IG2D) - Body ground 10 kΩ or higher

    NG: REPAIR OR REPLACE HARNESS OR CONNECTOR 

    OK: Go to Next Step 

  7. INSPECT RELAY (IG1 RELAY) 
    1. Remove the IG1 relay from the instrument panel J/B.
    2. Measure the resistance according to the value(s) in the table below.

      Standard resistance 

      RESISTANCE SPECIFICATION

      Tester Connection Specified Condition
      3 - 5 10 kΩ or higher
      3 - 5 Below 1 Ω
      (when battery voltage is applied to terminals 1 and 2)
    Fig 5: Identifying IG1 Relay Connector Terminals
    G04975576Courtesy of © TOYOTA, LICENSE AGREEMENT TMS1002

    NG: REPLACE RELAY 

    OK: Go to Next Step 

  8. CHECK WIRE HARNESS (INSTRUMENT PANEL J/B - MAIN BODY ECU) 
    1. Disconnect the Dl J/B connector.
      Fig 6: Identifying Main Body ECU Connector Terminals
      G05248901Courtesy of © TOYOTA, LICENSE AGREEMENT TMS1002
    2. Disconnect the E61 ECU connector.
    3. Measure the resistance according to the value(s) in the table below.

      Standard resistance 

      RESISTANCE SPECIFICATION

      Terminal No. (Symbol) Condition Specified Condition
      DI-9 - E61-3 (IG1D) Always Below 1 Ω
      E61-3 (IG1D) - Body ground Always 10 kΩ or higher

    NG: REPAIR OR REPLACE HARNESS OR CONNECTOR 

    OK: Go to Next Step 

  9. CHECK WIRE HARNESS (INSTRUMENT PANEL J/B - BATTERY AND BODY GROUND) 
    1. Disconnect the DF and DA J/B connectors.
    2. Measure the resistance according to the value(s) in the table below.

      Standard resistance 

      RESISTANCE SPECIFICATION

      Terminal No. Condition Specified Condition
      DF-10 - Body ground Always Below 1 Ω
    3. Measure the voltage according to the value(s) in the table below.

      Standard voltage 

      VOLTAGE SPECIFICATION

      Terminal No. Condition Specified Condition
      DA-1 - Body ground Always 10 to 14 V
    Fig 7: Identifying Instrument Panel J/B Connector Terminals
    G05248902Courtesy of © TOYOTA, LICENSE AGREEMENT TMS1002

    NG: REPAIR OR REPLACE HARNESS OR CONNECTOR 

    OK: Go to Next Step 

  10. INSPECT INSTRUMENT PANEL J/B 
    1. Measure the resistance according to the value(s) in the table below.
      Fig 8: Identifying Instrument Panel J/B Connector Terminals
      G05248903Courtesy of © TOYOTA, LICENSE AGREEMENT TMS1002

      Standard resistance 

      RESISTANCE SPECIFICATION

      Terminal No. Condition Specified Condition
      DF-10 - IG1 relay terminal-1 Always Below 1 Ω
      DI-9 - IG1 relay terminal-2 Always Below 1 Ω
      DF-10 - Body ground Always 10 kΩ or higher
      DI-9 - Body ground Always 10 kΩ or higher

    OK: REPLACE MAIN BODY ECU 

    NG: REPLACE INSTRUMENT PANEL J/B