LEMON Manuals: Even more car manuals for everyone: 1960-2025
Home >> Lexus >> 2008 >> ES 350 >> Repair and Diagnosis >> External Pages >> Different car >> Section 93 (Audio/Visual) >> Audio And Visual System >> DTC 01-DF Master Error >> Inspection Procedure
April 5, 2026: LEMON Manuals is launched! Read the announcement.

Inspection Procedure

WARNING: This page is about a different car, the 2007 Lexus ES 350. However, it is still accessible from the selected car via links, so may be relevant.
NOTE: Be sure to read DESCRIPTION before performing the following procedures.
  1. CHECK RADIO RECEIVER POWER SOURCE CIRCUIT 

    Refer to the RADIO RECEIVER POWER SOURCE CIRCUIT .

    If the power source circuit is operating normally, proceed to the next step.

  2. INSPECT RADIO RECEIVER 
    1. Disconnect the radio receiver connectors.
    2. Measure the resistance according to the value(s) in the table below.

      Standard resistance 

      RESISTANCE SPECIFICATION

      Tester Connection Condition Specified Condition
      ATX+ - ATX- Always 60 to 80 Ω
    Fig 1: Identifying Radio Receiver Connector Terminals
    G05252928Courtesy of © TOYOTA, LICENSE AGREEMENT TMS1002

    NG: CHECK HARNESS AND CONNECTOR (RADIO RECEIVER - COMPONENT WHICH HAS STORED THIS CODE) 

    OK: Go to Next Step 

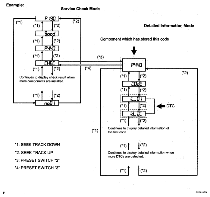
  3. IDENTIFY THE COMPONENT WHICH HAS STORED THIS CODE 
    1. Enter the diagnostic mode.
      Fig 2: Service Check Mode And Detailed Information Mode Flow Chart
      G04966653Courtesy of © TOYOTA, LICENSE AGREEMENT TMS1002
    2. Press the preset switch "3" to change to "Detailed Information Mode".
    3. Identify the component which has stored this code.

      Component Table: 

      COMPONENT CHART

      Component Physical Address
      Stereo component amplifier 440
      "Bluetooth" handsfree module 19D

      HINT:

      • "440 (stereo component amplifier)" is the component which has stored this code in the example shown in the illustration.
      • For details of the DTC display, refer to the "DTC CHECK/CLEAR ."
  4. CHECK COMPONENT WHICH HAS STORED THIS CODE 
    1. Select the component which has stored this code.

      HINT:

      The "Bluetooth" handsfree module is built into the radio receiver. If there is a problem between the "Bluetooth" handsfree module and radio receiver, replace the radio receiver.

      Component Table: 

      COMPONENT CHART

      Component Proceed to
      "Bluetooth" handsfree module A
      Except "Bluetooth" handsfree module B

    A: REPLACE RADIO RECEIVER 

    B: Go to Next Step 

  5. CHECK HARNESS AND CONNECTOR (RADIO RECEIVER - COMPONENT WHICH HAS STORED THIS CODE) 

    HINT:

    For details of the connectors, refer to the "TERMINALS OF ECU ."

    1. Referring to the AVC-LAN wiring diagram below, check the AVC-LAN circuit between the radio receiver and the component which has stored this code.
      1. Disconnect all connectors between the radio receiver and the component which has stored this code.
      2. Check for an open or short in the AVC-LAN circuit between the radio receiver and the component which has stored this code.

        OK: There is no open or short circuit. 

        Fig 3: AVC-LAN Wiring Diagram
        G05252929Courtesy of © TOYOTA, LICENSE AGREEMENT TMS1002

    NG: REPAIR OR REPLACE HARNESS OR CONNECTOR 

    OK: Go to Next Step 

  6. REPLACE RADIO RECEIVER 
    1. Replace the radio receiver with a normal one and check if the same problem occurs again.

      OK: Same problem does not occur. 

    NG: REPLACE COMPONENT WHICH HAS STORED THIS CODE 

    OK: END