LEMON Manuals: Even more car manuals for everyone: 1960-2025
Home >> Lexus >> 2008 >> GS 450h >> Repair and Diagnosis >> Brakes >> Traction Control >> Brake Control >> Electronically Controlled Brake System >> Skid Control Buzzer Circuit >> Inspection Procedure
April 5, 2026: LEMON Manuals is launched! Read the announcement.

Inspection Procedure

NOTE: When replacing the skid control ECU, perform initialization of linear solenoid valve and calibration (see INITIALIZATION  ).
  1. PERFORM ACTIVE TEST USING TECHSTREAM (SKID CONTROL BUZZER) 
    1. Connect the Techstream to the DLC3.
    2. Turn the power switch ON (IG) and turn the Techstream main switch on.
    3. Select Active Test mode on the Techstream.

      ABS/VSC/TRAC: 

      TESTER DISPLAY REFERENCE CHART

      Tester Display Test Part Control Range Diagnostic Note
      Buzzer Skid control buzzer Buzzer ON/OFF Buzzer can be heard
    4. Check that the buzzer sounds/stops when turning the skid control buzzer on/off by using the Techstream.

      Result 

      RESULT REFERENCE

      Condition Proceed to
      Buzzer does not sound or sounds constantly A
      Buzzer sounds/stops B

      HINT:

      If troubleshooting has been carried out according to the "PROBLEM SYMPTOMS TABLE", refer back to the table and proceed to the next step (see PROBLEM SYMPTOMS TABLE  ).

    B: REPLACE SKID CONTROL ECU  (See REMOVAL  )

    A: Go to next step 

  2. INSPECT SKID CONTROL BUZZER (POWER SOURCE TERMINAL) 
    1. Disconnect the K11 buzzer connector.
    2. Turn the power switch ON (IG).
    3. Measure the voltage according to the value(s) in the table below.

      Standard voltage 

      STANDARD VOLTAGE SPECIFICATION

      Tester Connection Condition Specified Condition
      K11-2 - Body ground Power switch ON (IG) 10 to 14 V

    NG: REPAIR OR REPLACE HARNESS OR CONNECTOR (POWER SOURCE CIRCUIT) 

    Fig 1: Identifying K11 Buzzer Connector
    G05816390Courtesy of © TOYOTA, LICENSE AGREEMENT TMS1002

    OK: Go to next step 

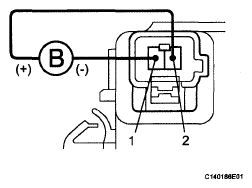
  3. INSPECT SKID CONTROL BUZZER 
    1. Disconnect the skid control buzzer connector.
    2. Apply battery negative voltage to terminal 1, and battery positive voltage to terminal 2 of the skid control buzzer, and then check that the buzzer sounds.

      OK: 

      Skid control buzzer sounds. 

      Fig 2: Inspecting Skid Control Buzzer
      G05816391Courtesy of © TOYOTA, LICENSE AGREEMENT TMS1002

    NG: REPLACE SKID CONTROL BUZZER 

    OK: Go to next step 

  4. CHECK WIRE HARNESS (SKID CONTROL ECU - SKID CONTROL BUZZER) 
    1. Disconnect the A13 ECU connector.
    2. Measure the resistance according to the value(s) in the table below.

      Standard resistance 

      STANDARD RESISTANCE SPECIFICATION

      Tester Connection Specified Condition
      A13-6 (BZ) - K11-1 Below 1 Ω
      A13-6 (BZ) - Body ground 10 kΩ or higher
      A13-22 (VBZ) - K11-2 Below 1 Ω
      A13-22 (VBZ) - Body ground 10 kΩ or higher
    3. Fig 3: Identifying A13 Skid Control ECU And K11 Skid Control Buzzer Connectors
      G05816392Courtesy of © TOYOTA, LICENSE AGREEMENT TMS1002

    NG: REPAIR OR REPLACE HARNESS OR CONNECTOR 

    OK: Go to next step 

  5. CHECK WIRE HARNESS (SKID CONTROL ECU - BODY GROUND) 
    1. Disconnect the A13 and A15 ECU connectors.
    2. Measure the resistance according to the value(s) in the table below.

      Standard resistance 

      STANDARD RESISTANCE SPECIFICATION

      Tester Connection Specified Condition
      A13-1 (GND) - Body ground Below 1 Ω
      A15-1 (GND4) - Body ground Below 1 Ω

      HINT:

      If troubleshooting has been carried out according to the PROBLEM SYMPTOMS TABLE, refer back to the table and proceed to the next step before replacing the part (see PROBLEM SYMPTOMS TABLE  ).

      Fig 4: Identifying A13 And A15 ECU Connectors
      G05816393Courtesy of © TOYOTA, LICENSE AGREEMENT TMS1002

    NG: REPAIR OR REPLACE HARNESS OR CONNECTOR (GND CIRCUIT) 

    OK: REPLACE SKID CONTROL ECU  (See REMOVAL  )