LEMON Manuals: Even more car manuals for everyone: 1960-2025
Home >> Lexus >> 2008 >> GS 450h >> Repair and Diagnosis >> Electrical >> Starter >> Starting >> Smart Access System With Push-Button Start >> System Diagram
April 5, 2026: LEMON Manuals is launched! Read the announcement.

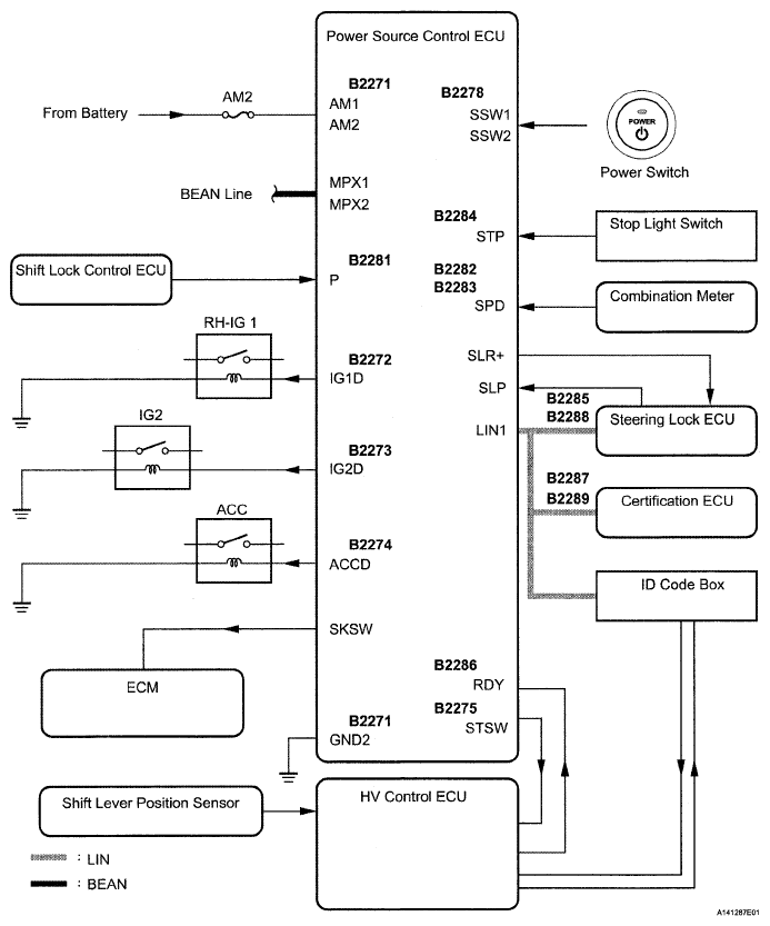
System Diagram

Fig 1: Smart Access System With Push-Button Start System Diagram
G05303594Courtesy of © TOYOTA, LICENSE AGREEMENT TMS1002

Communication table: 

COMMUNICATION CHART

Sender Receiver Signal Line
Meter ECU Power source control ECU Vehicle speed signal BEAN/Local communication
COMMUNICATION CHART

Sender Receiver Signal Line
Steering lock ECU Power source control ECU Steering lock/unlock signal LIN/Local communication
Shift lock control ECU Power source control ECU Shift position signal BEAN/Local communication
Certification ECU Power source control ECU LIN master signal LIN
HV control ECU Power source control ECU READY signal BEAN/Local communication
READY NG signal BEAN
Shift P signal BEAN