LEMON Manuals: Even more car manuals for everyone: 1960-2025
Home >> Lexus >> 2008 >> GS 450h >> Repair and Diagnosis >> Suspension >> Suspension Control Systems >> Suspension Control >> Front Acceleration Sensor >> Installation
April 5, 2026: LEMON Manuals is launched! Read the announcement.

Front Acceleration Sensor: Installation

  1. INSTALL FRONT ACCELERATION SENSOR 
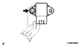
    1. Install the acceleration sensor to the bracket with the nut.

      Torque: 7.8 N*m (80 kgf*cm, 69 in.*lbf) 

      NOTE: Do not drop the sensor. If it is dropped, replace it with a new one.
      Fig 1: Locating Acceleration Nut
      G05816150Courtesy of © TOYOTA, LICENSE AGREEMENT TMS1002
  2. INSTALL FRONT ACCELERATION SENSOR ASSEMBLY 
    1. Install the sensor with the nut.

      Torque: 8.5 N*m (87 kgf*cm, 75 in.*lbf) 

      NOTE: Do not drop the sensor. If it is dropped, replace it with a new one.
    2. Connect the sensor connector.
      Fig 2: Locating Sensor With Nut
      G05296521Courtesy of © TOYOTA, LICENSE AGREEMENT TMS1002
  3. INSTALL FRONT DOOR OPENING TRIM COVER LH  (See INSTALLATION )
  4. INSTALL NO. 1 INSTRUMENT PANEL UNDER COVER SUB-ASSEMBLY  (See INSTALLATION )
  5. INSTALL FRONT DOOR SCUFF PLATE LH  (See INSTALLATION )
  6. CONNECT CABLE TO NEGATIVE BATTERY TERMINAL 
  7. INSPECT ADAPTIVE VARIABLE SUSPENSION SYSTEM 
    1. Inspect the adaptive variable suspension system (see OPERATION CHECK  ).
  8. PERFORM INITIALIZATION 
    1. Perform initialization (see INITIALIZATION ).
      NOTE: Certain systems need to be initialized after disconnecting and reconnecting the cable from the negative (-) battery terminal.