LEMON Manuals: Even more car manuals for everyone: 1960-2025
Home >> Lexus >> 2008 >> GX 470 >> Repair and Diagnosis >> Electrical >> Charging Systems >> Charging >> Generator >> Reassembly
April 5, 2026: LEMON Manuals is launched! Read the announcement.

Charging Systems: Charging: Generator: Reassembly

  1. INSTALL GENERATOR ROTOR ASSEMBLY 
    1. Place the drive end frame on the pulley.
    2. Install the rotor to the drive end frame.
    3. Fig 1: Identifying Pulley
      G04963086Courtesy of © TOYOTA, LICENSE AGREEMENT TMS1002
  2. INSTALL GENERATOR COIL ASSEMBLY 
    1. Place the generator washer on the rotor.
      Fig 2: Identifying Generator Washer
      G04963087Courtesy of © TOYOTA, LICENSE AGREEMENT TMS1002
    2. Using SST and a press, slowly press in the coil assembly.

      SST 09285-76010 

      Fig 3: Pressing In Coil Assembly Using SST & Press
      G04963088Courtesy of © TOYOTA, LICENSE AGREEMENT TMS1002
    3. Install the coil assembly with the 4 bolts.

      Torque: 5.8 N*m (59 kgf*cm, 51 in.*lbf) 

      Fig 4: Identifying Coil Assembly Bolts
      G04963073Courtesy of © TOYOTA, LICENSE AGREEMENT TMS1002
  3. INSTALL GENERATOR PULLEY 
    1. Install the pulley to the rotor shaft by tightening the pulley nut by hand.
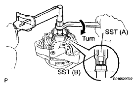
    2. Hold SST (A) with a torque wrench, and tighten SST (B) clockwise to the specified torque.

      SST 09820-63011 

      Torque: 39 N*m (400 kgf*cm, 29 ft.*lbf) 

      Fig 5: Tightening SST (B) Clockwise To Specified Torque
      G04963069Courtesy of © TOYOTA, LICENSE AGREEMENT TMS1002
    3. Check that SST (A) is secured to the pulley shaft.
    4. Mount SST (C) in a vise.
    5. Insert SST (B) into SST (C), and attach the pulley nut to SST (C).
      Fig 6: Inserting SST (B) Into SST (C)
      G04963070Courtesy of © TOYOTA, LICENSE AGREEMENT TMS1002
    6. To torque the pulley nut, turn SST (A).

      Torque: 111 N*m (1,125 kgf*cm, 81 ft.*lbf) 

      Fig 7: Turning SST To Tighten Pulley Nut
      G05265127Courtesy of © TOYOTA, LICENSE AGREEMENT TMS1002
    7. Remove the generator from SST (C).
    8. Turn SST (B), and remove SST (A and B).
      Fig 8: Turning SST (B) & Removing SST (A And B)
      G04963072Courtesy of © TOYOTA, LICENSE AGREEMENT TMS1002
  4. INSTALL GENERATOR BRUSH HOLDER ASSEMBLY 
    1. Place the front seal plate on the coil assembly.
      Fig 9: Identifying Front Seal Plate On Coil Assembly
      G05265129Courtesy of © TOYOTA, LICENSE AGREEMENT TMS1002
    2. Place the brush holder on the coil assembly with the pin facing upward.
      NOTE: Be careful of the holder installation direction.
      Fig 10: Identifying Brush Holder On Coil Assembly
      G05265130Courtesy of © TOYOTA, LICENSE AGREEMENT TMS1002
    3. Install the 2 screws.

      Torque: 1.8 N*m (18 kgf*cm, 16 in.*lbf) 

    4. Align the pins of the brush holder with the holes of the rear seal plate, and install the rear seal plate.
      Fig 11: Aligning Pins Of Brush Holder With Holes Of Rear Seal Plate
      G05265131Courtesy of © TOYOTA, LICENSE AGREEMENT TMS1002
  5. INSTALL GENERATOR REAR END COVER 
    1. Install the terminal insulator.
      NOTE: Be careful of the terminal insulator installation direction.
      Fig 12: Identifying Terminal Insulator
      G04963097Courtesy of © TOYOTA, LICENSE AGREEMENT TMS1002
    2. Install the end cover with the 3 nuts.

      Torque: 4.6 N*m (47 kgf*cm, 41 in.*ibf) 

      Fig 13: Identifying End Cover Nuts
      G04963067Courtesy of © TOYOTA, LICENSE AGREEMENT TMS1002