LEMON Manuals: Even more car manuals for everyone: 1960-2025
Home >> Lexus >> 2008 >> IS 250 AWD >> Repair and Diagnosis >> Accessories & Equipment >> Cruise Control Systems >> Cruise Control >> Cruise Control System >> System Diagram
April 5, 2026: LEMON Manuals is launched! Read the announcement.

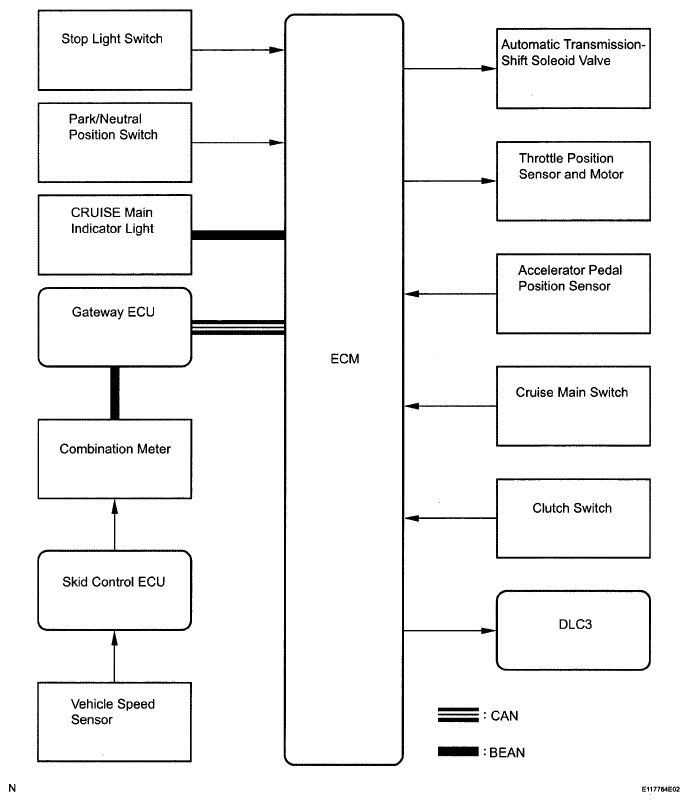
System Diagram

Fig 1: Cruise Control System - System Diagram
G05831898Courtesy of © TOYOTA, LICENSE AGREEMENT TMS1002

Communication Table: 

COMMUNICATION CHART

Sender Receiver Signal Line
ECM Combination Meter ECU CRUISE main indicator operation signal BEAN (Instrument Panel Bus)