LEMON Manuals: Even more car manuals for everyone: 1960-2025
Home >> Lexus >> 2008 >> IS 250 AWD >> Repair and Diagnosis >> Engine Performance >> System >> Engine Control System (4GR-FSE) - DTC P0604 - P2A03, DTC U0101 >> DTC P2610 ECM / PCM Internal Engine Off Timer Performance >> Description
April 5, 2026: LEMON Manuals is launched! Read the announcement.

DTC P2610 ECM / PCM Internal Engine Off Timer Performance: Description

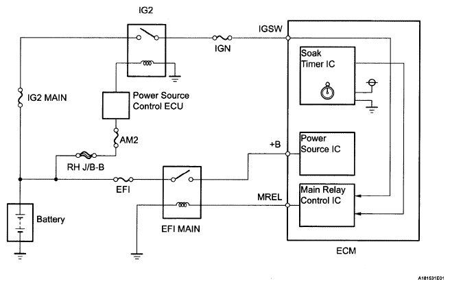
To ensure the accuracy of the EVAP (Evaporative Emission) monitor values, the soak timer, which is built into the ECM, measures 5 hours (+/-15 minutes) from when the engine switch is turned off, before the monitor is run. This allows the fuel to cool down, which stabilizes the Fuel Tank Pressure (FTP). When 5 hours have elapsed, the ECM turns on.

Fig 1: Power Source Control ECU - Circuit Diagram
G05823212Courtesy of © TOYOTA, LICENSE AGREEMENT TMS1002