LEMON Manuals: Even more car manuals for everyone: 1960-2025
Home >> Lexus >> 2008 >> IS 250 AWD >> Repair and Diagnosis >> Engine Performance >> System >> Engine Control System (4GR-FSE) - System And Component Testing, On-Vehicle Inspection, Removal, Inspection & Installation >> VVT Sensor >> On-Vehicle Inspection
April 5, 2026: LEMON Manuals is launched! Read the announcement.

On-Vehicle Inspection

  1. INSPECT CHECK VVT SENSOR OUTPUT VOLTAGE 
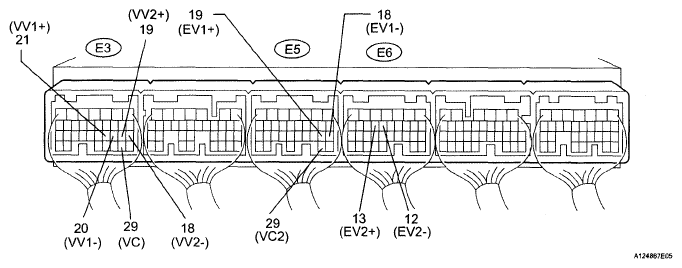
    Fig 1: Inspecting VVT Sensor Output Voltage
    G05823356Courtesy of © TOYOTA, LICENSE AGREEMENT TMS1002
    1. Turn the engine switch on (IG).
    2. Check the voltage between the terminals.

      Standard voltage 

      VOLTAGE SPECIFICATION CHART

      Tester Connection Condition Specified Condition
      E3-29 (VC) - Body ground Engine switch on (IG) 5V
      E5-29 (VC2) - Body ground Engine switch on (IG) 5V
    3. While turning the crankshaft pulley by hand, measure the voltage between each terminal. Check that the voltage changes between the Hi range and Lo range shown in the table below.

    Standard voltage 

    VOLTAGE SPECIFICATION CHART

    Sensor Position Terminal No. Voltage (Hi) Voltage (Lo)
    Bank 1 (Intake side) VV1+ (E3-21) - VV1- (E3-20) 3.75 to 4.50 V 0.50 to 1.25 V
    Bank 2 (Intake side) VV2+ (E3-19) - VV2- (E3-18) 3.75 to 4.50 V 0.50 to 1.25 V
    Bank 1 (Exhaust side) EV1+ (E5-19) - EV1- (E5-18) 3.75 to 4.50 V 0.50 to 1.25 V
    Bank 2 (Exhaust side) EV2+ (E6-13) - EV2- (E6-12) 3.75 to 4.50 V 0.50 to 1.25 V