LEMON Manuals: Even more car manuals for everyone: 1960-2025
Home >> Lexus >> 2008 >> IS 250 RWD, Standard >> Repair and Diagnosis >> Engine Performance >> System >> Engine Control System (4GR-FSE) - System And Component Testing, On-Vehicle Inspection, Removal, Inspection & Installation >> Cranking Holding Function Circuit >> Description
April 5, 2026: LEMON Manuals is launched! Read the announcement.

Cranking Holding Function Circuit: Description

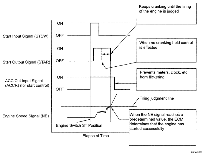
The cranking holding control system provides current to the starter when the ECM detects the engine switch's start signal (STSW). When the ECM performs a firing judgment, the system cuts current to the starter. When an ECM receives the STSW signal, it turns on the ST CUT relay, which prevents flickering of the combination meter, clock, audio system, etc. Also, the ECM sends a signal to the ECM's STAR terminal. Then the STAR output signal travels through the park/neutral position (PNP) switch to the STARTER relay, causing the starter to activate.

When the engine is cranking, the starter operation signal is sent to the ECM's STA terminal.

Fig 1: ECM's STA Terminal - Blinking Pattern
G05316180Courtesy of © TOYOTA, LICENSE AGREEMENT TMS1002