LEMON Manuals: Even more car manuals for everyone: 1960-2025
Home >> Lexus >> 2008 >> IS F >> Repair and Diagnosis >> Accessories & Equipment >> Communication Devices >> Networking >> Can Communication System >> System Diagram
April 5, 2026: LEMON Manuals is launched! Read the announcement.

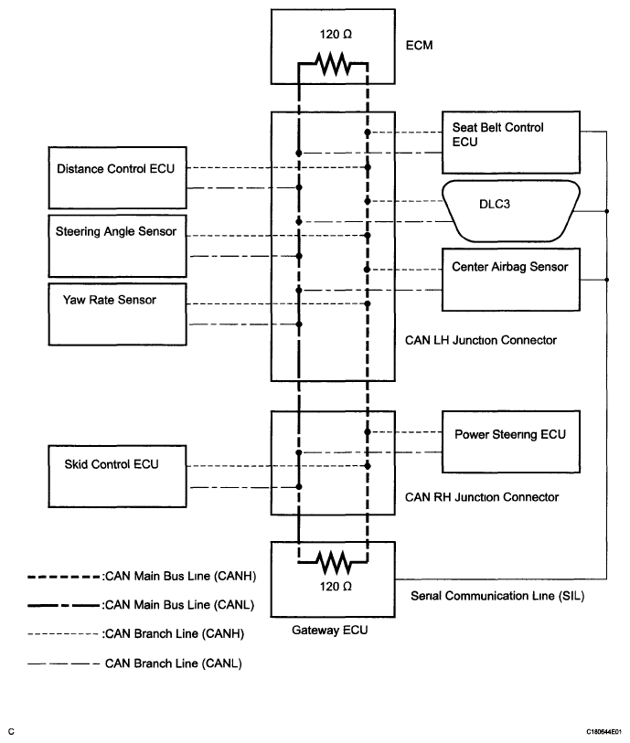
System Diagram

Fig 1: Communication System Diagram
G05754111Courtesy of © TOYOTA, LICENSE AGREEMENT TMS1002

HINT.