LEMON Manuals: Even more car manuals for everyone: 1960-2025
Home >> Lexus >> 2008 >> IS F >> Repair and Diagnosis >> Accessories & Equipment >> Entertainment Systems >> Audio/Visual >> Audio And Visual System >> DTC 01-DF Master Error >> Inspection Procedure
April 5, 2026: LEMON Manuals is launched! Read the announcement.

Inspection Procedure

NOTE: Be sure to read Description before performing the following procedures.
  1. CHECK RADIO RECEIVER POWER SOURCE CIRCUIT 

    Refer to RADIO RECEIVER POWER SOURCE CIRCUIT  .

    If the power source circuit is operating normally, proceed to the next step.

  2. INSPECT RADIO RECEIVER 
    1. Disconnect the radio receiver connectors.
      Fig 1: Identifying Radio Receiver Connectors
      G05753297Courtesy of © TOYOTA, LICENSE AGREEMENT TMS1002
    2. Measure the resistance according to the value(s) in the table below.

      Standard Resistance 

      RESISTANCE SPECIFICATION

      Tester Connection Condition Specified Condition
      J66-5 (ATX+) - J66-15 (ATX-) Always 60 to 80 Ω
      J65-9 (TXM+) - J65-10 (TXM-) Always 60 to 80 Ω
      J63-9 (TX+) - J63-10 (TX-) Always 60 to 80 Ω

    NG: REPLACE RADIO RECEIVER  (See REMOVAL  )

    OK: Go to next step 

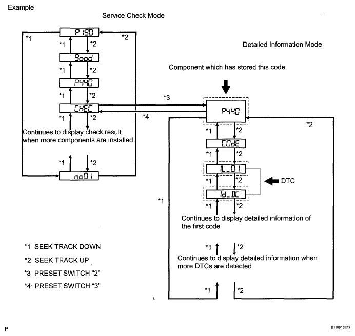
  3. IDENTIFY THE COMPONENT WHICH HAS STORED THIS CODE 
    1. Enter the diagnostic mode.
      Fig 2: Service Check Mode And Detailed Information Mode Chart
      G05753296Courtesy of © TOYOTA, LICENSE AGREEMENT TMS1002
    2. Press the preset switch "3" to change to "Detailed Information Mode"
    3. Identify the component which has stored this code

      Component Table 

      COMPONENT TABLE

      Component Physical Address
      Gateway ECU 1C6
      Stereo component amplifier 440
      Integration control & panel assembly 1D8

      HINT

      • "440 (stereo component amplifier)" is the component which has stored this code in the example shown in the illustration
      • For details of the DTC display, refer to DTC CHECK / CLEAR 
  4. CHECK HARNESS AND CONNECTOR (RADIO RECEIVER - COMPONENT WHICH HAS STORED THIS CODE) 

    HINT

    For details of the connectors, refer to TERMINALS OF ECU  .

    1. Referring to AVC-LAN Wiring Diagram below, check the AVC-LAN circuit between the radio receiver and the component which has stored this code
      1. Disconnect all connectors between the radio receiver and the component which has stored this code.
      2. Check for an open or short in the AVC-LAN circuit between the radio receiver and the component which has stored this code.

        OK: There are no open or short circuits. 

        Fig 3: AVC-LAN - Wiring Diagram
        G05753298Courtesy of © TOYOTA, LICENSE AGREEMENT TMS1002

    NG: REPAIR OR REPLACE HARNESS OR CONNECTOR 

    OK: Go to next step 

  5. REPLACE RADIO RECEIVER 
    1. Replace the radio receiver with a known good one and check if the same problem occurs again

      OK: Same problem does not occur. 

    NG: REPLACE COMPONENT WHICH HAS STORED THIS CODE 

    OK: END