LEMON Manuals: Even more car manuals for everyone: 1960-2025
Home >> Lexus >> 2008 >> IS F >> Repair and Diagnosis >> Brakes >> Brakes Control Systems >> Brake Control / Dynamic Control Systems >> Vehicle Stability Control System >> TC and CG Terminal Circuit >> Wiring Diagram
April 5, 2026: LEMON Manuals is launched! Read the announcement.

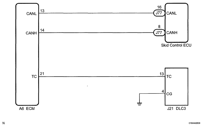
TC and CG Terminal Circuit: Wiring Diagram

Fig 1: TC And CG Terminal Wiring Diagram
G05752669Courtesy of © TOYOTA, LICENSE AGREEMENT TMS1002

HINT.

When the warning lights continue to blink, a ground short in the wiring of terminal TC of the DLC3 or an internal ground short in one or more ECUs is suspected