LEMON Manuals: Even more car manuals for everyone: 1960-2025
Home >> Lexus >> 2008 >> IS F >> Repair and Diagnosis >> Electrical >> Starter >> Starting >> Relay >> On-Vehicle Inspection
April 5, 2026: LEMON Manuals is launched! Read the announcement.

On-Vehicle Inspection

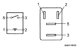
  1. INSPECT STARTER RELAY 
    1. Measure the resistance according to the value(s) in the table below

      Standard Resistance 

      RESISTANCE SPECIFICATION

      Tester Connection Condition Specified Condition
      3 - 5 When battery voltage is not applied to terminals land 2 10 kΩ or higher
      3 - 5 When battery voltage is applied to terminals 1 and 2 Below 1 Ω
      Fig 1: Identifying Starter Relay Terminals
      G04943935Courtesy of © TOYOTA, LICENSE AGREEMENT TMS1002

      If the resistance is not as specified, replace the relay

  2. INSPECT STARTER CUT RELAY 
    1. Measure the resistance according to the value(s) in the table below

      Standard Resistance 

      RESISTANCE SPECIFICATION

      Terminal Connection Condition Specified Condition
      3 - 5 When battery voltage is not applied to terminals 1 and 2 10 kΩ or higher
      3 - 5 When battery voltage is applied to terminals 1 and 2 Below 1 Ω
      Fig 2: Identifying Starter Cut Relay Terminals
      G04943935Courtesy of © TOYOTA, LICENSE AGREEMENT TMS1002

      If the resistance is not as specified, replace the relay.