LEMON Manuals: Even more car manuals for everyone: 1960-2025
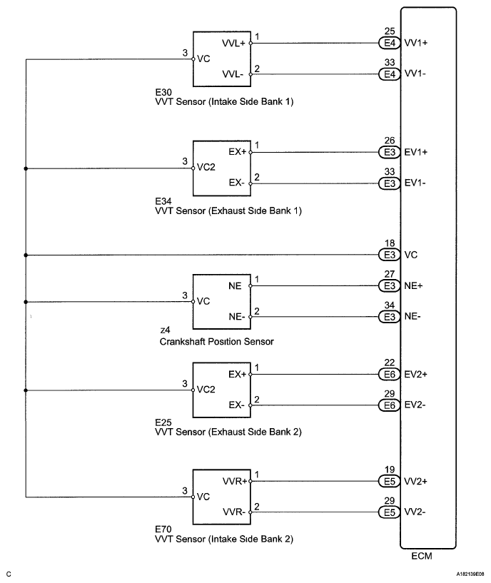
Home >> Lexus >> 2008 >> IS F >> Repair and Diagnosis >> Engine Performance >> Testing & Diagnosis >> Engine Control System - SFI System Diagnostics (2 Of 4) >> DTC P0335 Crankshaft Position Sensor "A" Circuit; DTC P0337 Crankshaft Position Sensor "A" Circuit Low Input; DTC P0338 Crankshaft Position Sensor "A" Circuit High Input; DTC P0339 Crankshaft Position Sensor "A" Circuit Intermittent >> Wiring Diagram
April 5, 2026: LEMON Manuals is launched! Read the announcement.

DTC P0335 Crankshaft Position Sensor "A" Circuit; DTC P0337 Crankshaft Position Sensor "A" Circuit Low Input; DTC P0338 Crankshaft Position Sensor "A" Circuit High Input; DTC P0339 Crankshaft Position Sensor "A" Circuit Intermittent: Wiring Diagram

Fig 1: Crankshaft Position Sensor - Wiring Diagram
G05751566Courtesy of © TOYOTA, LICENSE AGREEMENT TMS1002