LEMON Manuals: Even more car manuals for everyone: 1960-2025
Home >> Lexus >> 2008 >> LS 460L >> Repair and Diagnosis >> Brakes >> Traction Control >> Brake Control >> Abs Motor Relay >> On-Vehicle Inspection
April 5, 2026: LEMON Manuals is launched! Read the announcement.

On-Vehicle Inspection

NOTE: While the battery is connected, even if the engine switch is off, the brake control system activates when the brake pedal is depressed or the door courtesy switch turns on. Therefore during servicing of the brake system components, do not operate the brake pedal and open/close the doors while the battery is connected.
  1. CHECK ABS MOTOR RELAY (ABS MTR1) 

    HINT:

    The ABS motor relay (ABS MTR1) cannot be removed and inspected, as it is an internal relay of the engine room junction block.

    1. Turn the engine switch off.
    2. Connect the Techstream to the DLC3.
    3. Remove the relay inspection terminal cover of the engine room No. 2 junction block.
    4. Turn the engine switch on (IG).
    5. Using the Techstream, perform the Active Test for the ABS motor relay (ABS MTR1) and measure the voltage between the relay inspection terminals of the engine room junction block.

      HINT:

      As the ABS motor relay (ABS MTR1) is a semiconductor relay, there are no operation sounds.

      Fig 1: Identifying Terminal Cover And Engine Room No.2 Junction Block
      G04949639Courtesy of © TOYOTA, LICENSE AGREEMENT TMS1002
      Fig 2: Identifying Engine Room No.2 Junction Block Relay Terminal
      G04949640Courtesy of © TOYOTA, LICENSE AGREEMENT TMS1002

      Standard Voltage 

      TESTER CONNECTION SPECIFIED CONDITION CHART

      Tester Connection Switch Condition Specified Condition
      Terminal 23 or 24 - Body ground Motor relay: ON 11 to 14 V
      Motor relay: OFF 0 V
      Terminal 25 or 26 - Body ground - 11 to 14 V

      If the result is not as specified, check the harness wires and connectors and replace them as necessary.

      If the harness wires and connectors are in good condition, replace the engine room junction block assembly.

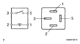
  2. CHECK ABS MOTOR RELAY (ABS MTR2) 
    1. Remove the ABS motor relay from the No. 3 relay block.
    2. Measure the resistance according to the value(s) in the table below.

      Standard Resistance 

      TESTER CONNECTION SPECIFIED CONDITION CHART

      Tester Connection Condition Specified Condition
      3 - 5 When battery voltage Is not applied to terminals land 2 10 kΩ or higher
      3 - 5 When battery voltage Is applied to terminals 1 and 2 Below 1 Ω
      Fig 3: Checking ABS Motor Relay (ABS MTR2)
      G04949647Courtesy of © TOYOTA, LICENSE AGREEMENT TMS1002

      If the result is not as specified, replace the relay.

    3. Install the ABS motor relay.